Машинатор » Конструкция гусениц для автомобиля

Конструкция гусениц для автомобиля

11 дек
---
3
0

Гусеницы mattracks
Гусеницы mattracks

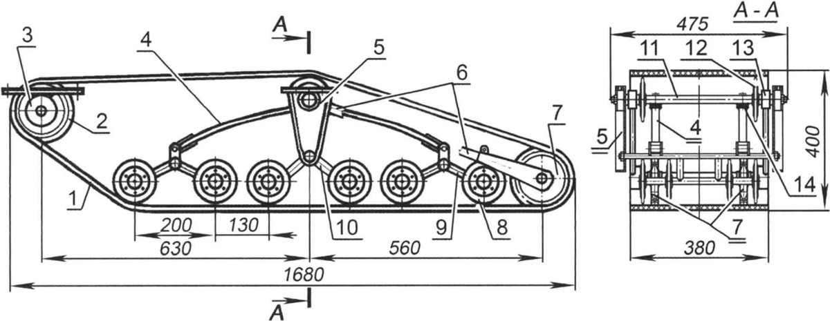
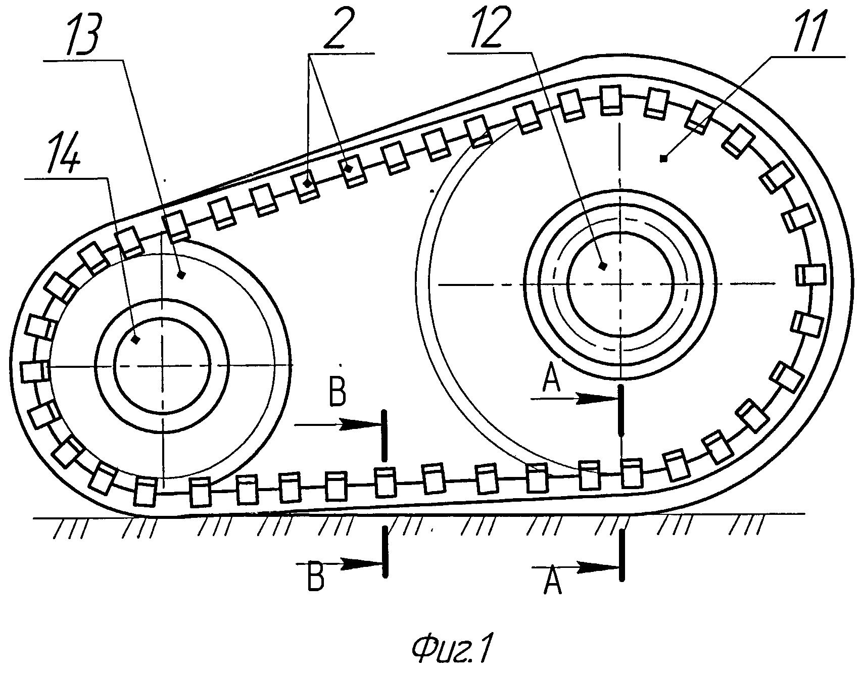
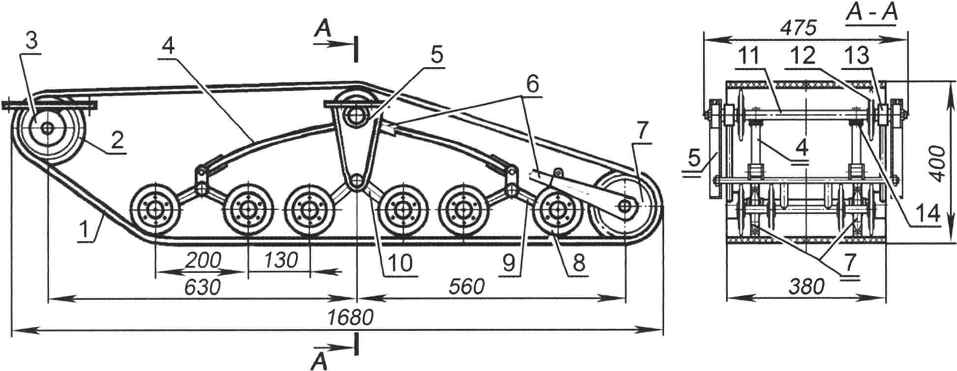
Гусеницы ВГД 3000
Гусеницы ВГД 3000

Подвеска вездехода Тингер
Подвеска вездехода Тингер

Гусеничный движитель трактора
Гусеничный движитель трактора

Гусеничный вездеход Юкон
Гусеничный вездеход Юкон

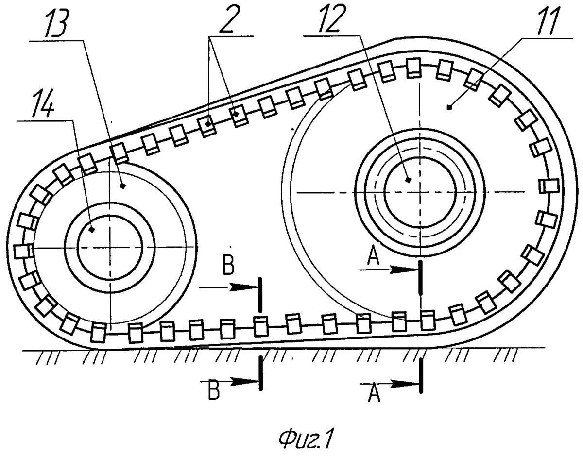
Гусеничный движитель трактора схема
Гусеничный движитель трактора схема

Гусеничный вездеход Юкон чертежи
Гусеничный вездеход Юкон чертежи

Гусеничная приставка ГП-н1 для мотоблоков Нева
Гусеничная приставка ГП-н1 для мотоблоков Нева

Гусеничный движитель трактора
Гусеничный движитель трактора

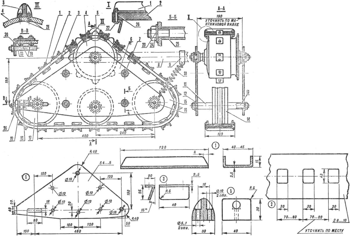
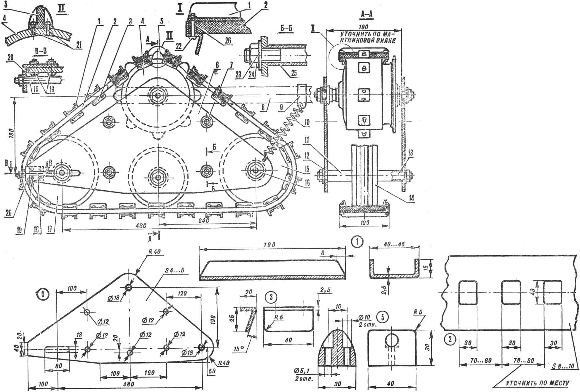
Чертеж гусеничного модуля для мотоблока
Чертеж гусеничного модуля для мотоблока

Гусеничный комплект (гусеницы) для квадроциклов atv stels Guepard 650

Фото: Гусеничный комплект (гусеницы) для квадроциклов atv stels Guepard 650


Подвеска вездехода Тингер
Подвеска вездехода Тингер

Движитель ДТ 75 гусеничный движитель
Движитель ДТ 75 гусеничный движитель

Mini Ripsaw гусеницы
Mini Ripsaw гусеницы

Гусеницы для мотоблока чертежи
Гусеницы для мотоблока чертежи



Гусеничный вездеход Юкон
Гусеничный вездеход Юкон

Чертеж мотособака 380 гусеница
Чертеж мотособака 380 гусеница



Бортовые фрикционы Русак 3918

Фото: Бортовые фрикционы Русак 3918


Механизм натяжения тележки гусениц т-130
Механизм натяжения тележки гусениц т-130

Ходовая часть бульдозера Liebherr
Ходовая часть бульдозера Liebherr

Гусеничные движители ВГД-3000 чертеж
Гусеничные движители ВГД-3000 чертеж

ЗИЛ 131 резиновые гусеницы
ЗИЛ 131 резиновые гусеницы

Резиновые гусеницы
Резиновые гусеницы

Гусеничное шасси VTS-2500 track Set
Гусеничное шасси VTS-2500 track Set

Снегоходная приставка Patriot 490002010
Снегоходная приставка Patriot 490002010

Бортовые фрикционы Русак 3918
Бортовые фрикционы Русак 3918

Чертеж мотособака 380 гусеница
Чертеж мотособака 380 гусеница

Вездеход Ripsaw ev2
Вездеход Ripsaw ev2

Устройство ходовой части Caterpillar d6r
Устройство ходовой части Caterpillar d6r

Гусеничные вездеходы Тингер
Гусеничные вездеходы Тингер

Универсальное гусеничное шасси УТС-140
Универсальное гусеничное шасси УТС-140

Движитель ДТ 75 гусеничный движитель
Движитель ДТ 75 гусеничный движитель

Гусеничный привод снегохода Буран
Гусеничный привод снегохода Буран

Вездеход Ripsaw ev2
Вездеход Ripsaw ev2

Гусеничные вездеходы Тингер
Гусеничные вездеходы Тингер

Гусеничный модуль на мотоблок чертеж
Гусеничный модуль на мотоблок чертеж

Трактор Фендт гусеничный
Трактор Фендт гусеничный



Натяжитель гусеницы ДЭТ-250
Натяжитель гусеницы ДЭТ-250

Электровездеход гусеничный
Электровездеход гусеничный

Гусеничное шасси VTS-2500 track Set
Гусеничное шасси VTS-2500 track Set



Гусеницы mattracks
Гусеницы mattracks

Ходовая часть Caterpillar d10t
Ходовая часть Caterpillar d10t

Гусеничные движители ВГД-3000
Гусеничные движители ВГД-3000

Гусеницы mattracks
Гусеницы mattracks

Гусеничные движители ВГД-3000 чертеж
Гусеничные движители ВГД-3000 чертеж

Торсионная подвеска танка т-72
Торсионная подвеска танка т-72

Гусеница на Уралец ЧТЗ Т-02
Гусеница на Уралец ЧТЗ Т-02

Гусеничная платформа ТСН 74
Гусеничная платформа ТСН 74

Чертеж мотособака 380 гусеница
Чертеж мотособака 380 гусеница



Гусеница Camso
Гусеница Camso

Гусеничное шасси миниэксковатора
Гусеничное шасси миниэксковатора

Ripsaw ev2
Ripsaw ev2

Ходовая часть экскаватора Хитачи
Ходовая часть экскаватора Хитачи


Похожие фото:

Комментарии
Минимальная длина комментария - 50 знаков. комментарии модерируются
Кликните на изображение чтобы обновить код, если он неразборчив