Машинатор » Кузов с лонжеронной рамой

Кузов с лонжеронной рамой

19 янв
---
1
0

Рама МАЗ 5337
Рама МАЗ 5337

W124 переварка лонжеронов
W124 переварка лонжеронов



Рама Тойота ленд Крузер 100
Рама Тойота ленд Крузер 100

Каркас для автомобиля
Каркас для автомобиля

Поперечина рамы Газель 3302 схема
Поперечина рамы Газель 3302 схема

ВИС 2345 рама
ВИС 2345 рама

Лонжерон Мерседес т1
Лонжерон Мерседес т1

Лонжерон Jeep Grand Cherokee ZJ
Лонжерон Jeep Grand Cherokee ZJ

ВИС 2345 рама
ВИС 2345 рама

Лонжерон моторного отсека правый газон Некст

Фото: Лонжерон моторного отсека правый газон Некст


Рама Мерседес Спринтер 412
Рама Мерседес Спринтер 412

Лонжерон пола Нива 2121
Лонжерон пола Нива 2121

Рама Мерседес т1
Рама Мерседес т1







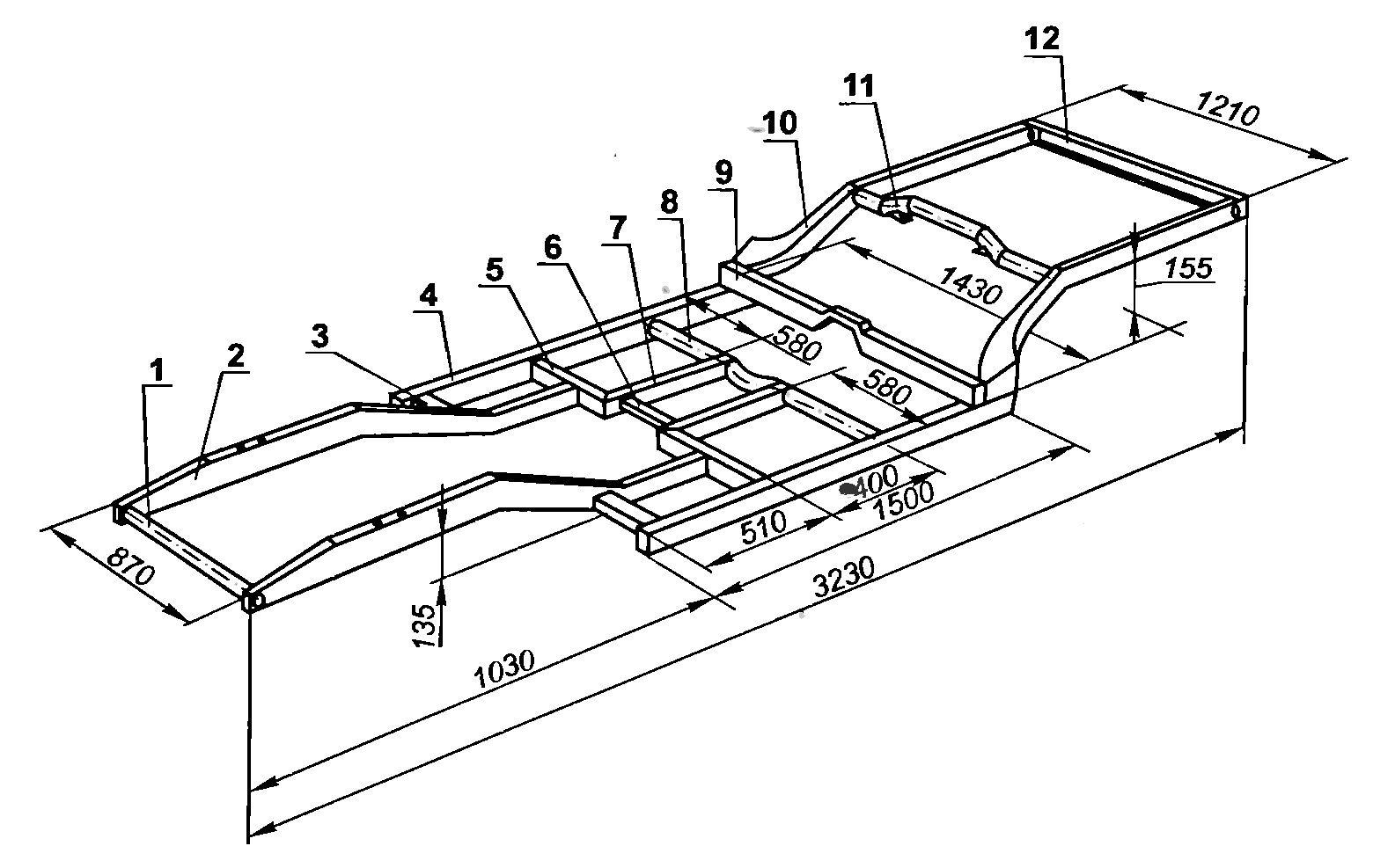
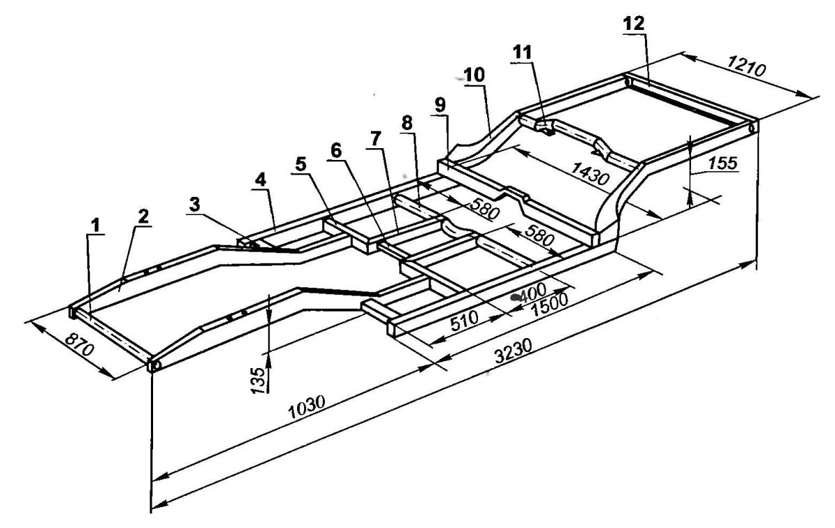
Рама для Нивы 2121 чертеж
Рама для Нивы 2121 чертеж



Рама Урал 4320 усиленная

Фото: Рама Урал 4320 усиленная




Лонжеронная рама 100 рама
Лонжеронная рама 100 рама

Траверса рамы КАМАЗ 6520
Траверса рамы КАМАЗ 6520



Лонжеронная рама КАМАЗ КАМАЗ-5320
Лонжеронная рама КАМАЗ КАМАЗ-5320

Starex h1 лонжероны
Starex h1 лонжероны



Усилитель кузова ВАЗ 2107
Усилитель кузова ВАЗ 2107

Усилитель кузова ВАЗ 2107
Усилитель кузова ВАЗ 2107

Геометрия кузова Нива 2121
Геометрия кузова Нива 2121

РАФ 2203 днище
РАФ 2203 днище

Рамная и безрамная конструкция автомобиля
Рамная и безрамная конструкция автомобиля



Лонжерон xc90
Лонжерон xc90

Вытяжка переднего лонжерона Ауди 100
Вытяжка переднего лонжерона Ауди 100

Лонжерон автомобиля задний
Лонжерон автомобиля задний

Рама кузова ленд Крузер 200
Рама кузова ленд Крузер 200

Рама автомобиля УАЗ 31512
Рама автомобиля УАЗ 31512

Задние лонжероны Мазда 626
Задние лонжероны Мазда 626

Усилитель кузова Фиат Дукато 244

Фото: Усилитель кузова Фиат Дукато 244


Nissan Frontier Chassis
Nissan Frontier Chassis



Рама автомобиля классификация
Рама автомобиля классификация

Рама КАМАЗ 55102
Рама КАМАЗ 55102

Рама автомобиля
Рама автомобиля

Лонжероны е34
Лонжероны е34







Corvette c6 каркас кузова
Corvette c6 каркас кузова



Starex ремонтный лонжерон
Starex ремонтный лонжерон





Рама УАЗ 469 чертеж
Рама УАЗ 469 чертеж

Рама КАМАЗ 65115
Рама КАМАЗ 65115



Усилители лонжеронов Jeep Cherokee
Усилители лонжеронов Jeep Cherokee

Лонжерон Тойота Камри 2021
Лонжерон Тойота Камри 2021

Кузов w210

Фото: Кузов w210


Поперечный лонжерон Нива 2121
Поперечный лонжерон Нива 2121


Похожие фото:

Комментарии
Минимальная длина комментария - 50 знаков. комментарии модерируются
Кликните на изображение чтобы обновить код, если он неразборчив