Машинатор » Устройство гидрокомпенсаторов клапанов грм

Устройство гидрокомпенсаторов клапанов грм

23 янв
---
1
0

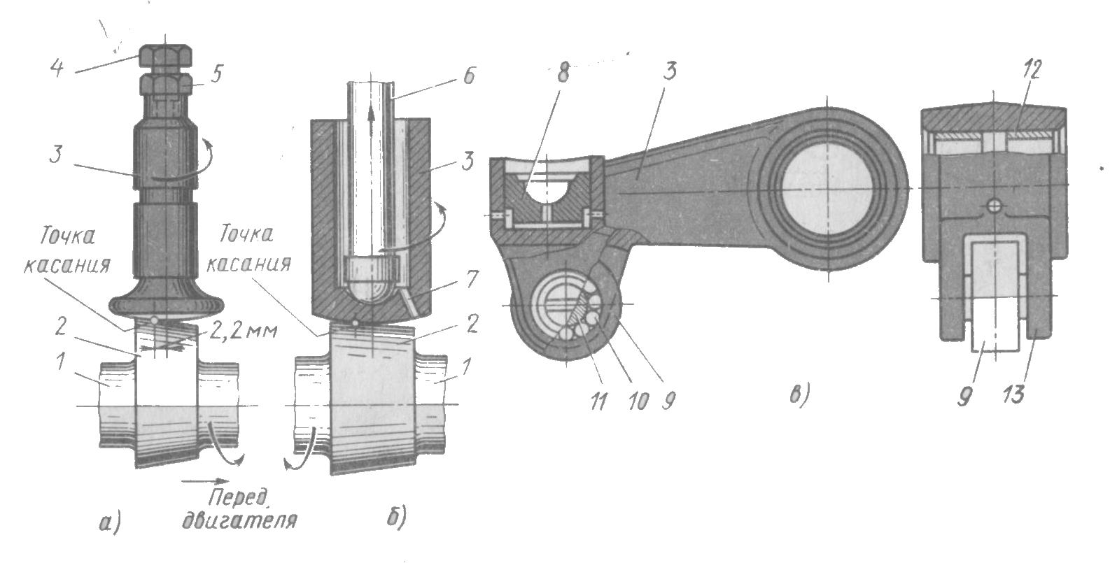
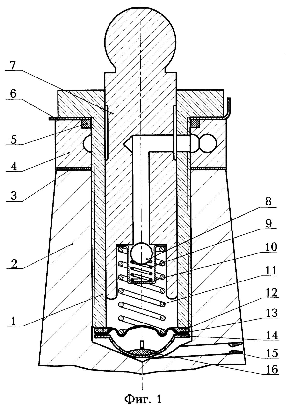
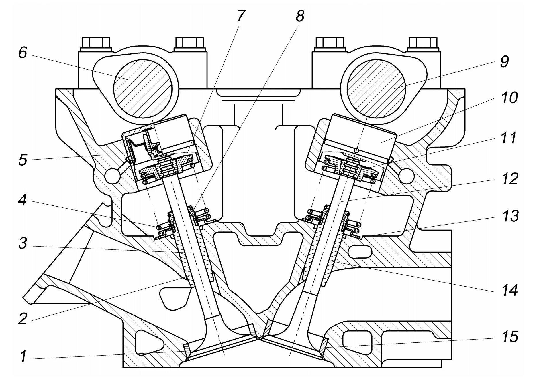
Гидравлический компенсатор зазоров клапанов
Гидравлический компенсатор зазоров клапанов

Устройство гидрокомпенсаторов схема
Устройство гидрокомпенсаторов схема

Valvetronic BMW n52
Valvetronic BMW n52

Гидравлический компенсатор зазоров клапанов
Гидравлический компенсатор зазоров клапанов

Гидрокомпенсаторы ВАЗ 2112 16 клапанов чертеж
Гидрокомпенсаторы ВАЗ 2112 16 клапанов чертеж

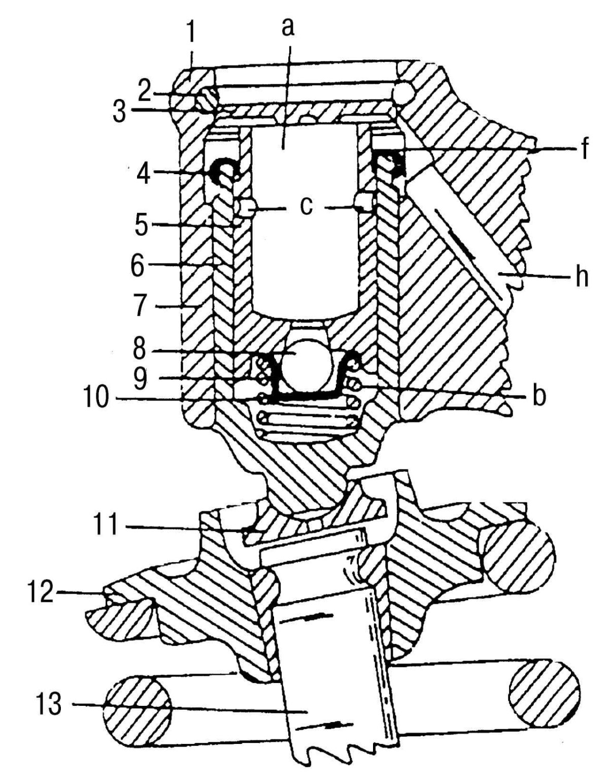
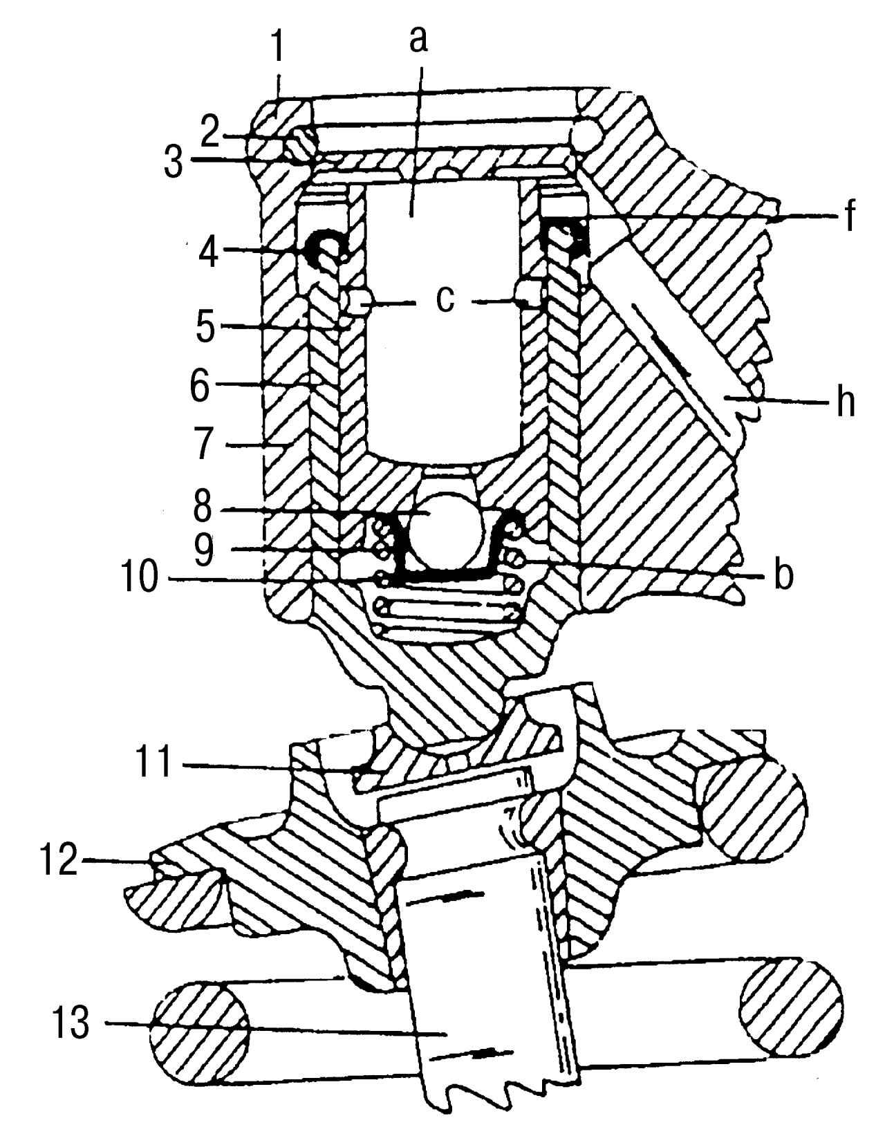
Конструкция гидрокомпенсатора клапанов
Конструкция гидрокомпенсатора клапанов

Гидрокомпенсаторы ЗМЗ 406 устройство
Гидрокомпенсаторы ЗМЗ 406 устройство

Гидрокомпенсатор ВАЗ 2112 В разрезе
Гидрокомпенсатор ВАЗ 2112 В разрезе

Fol103 гидрокомпенсатор
Fol103 гидрокомпенсатор

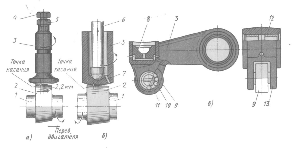
Толкатель клапана устройство
Толкатель клапана устройство

Гидрокомпенсаторы клапанов om646

Фото: Гидрокомпенсаторы клапанов om646


AJUSA 85011700 компенсатор ГРМ
AJUSA 85011700 компенсатор ГРМ

Гидрокомпенсаторы Лачетти 1.4
Гидрокомпенсаторы Лачетти 1.4

Толкатель газораспределительного механизма двигателя
Толкатель газораспределительного механизма двигателя

Гидрокомпенсаторы на ЗМЗ 402
Гидрокомпенсаторы на ЗМЗ 402

Рокера Фрилендер 2 2.2 дизель
Рокера Фрилендер 2 2.2 дизель

Механизм привода клапанов ВАЗ 2108
Механизм привода клапанов ВАЗ 2108

Гидрокомпенсаторы Нива 21214
Гидрокомпенсаторы Нива 21214

Гидрокомпенсатор ЗМЗ 402
Гидрокомпенсатор ЗМЗ 402



Гидрокомпенсаторы 2114 8 клапанов
Гидрокомпенсаторы 2114 8 клапанов



Гидрокомпенсаторы 21129
Гидрокомпенсаторы 21129

Толкатель клапана ВАЗ 2108
Толкатель клапана ВАЗ 2108

Гидрокомпенсаторы Jeep 3.7
Гидрокомпенсаторы Jeep 3.7





Регулировка клапанов Паджеро 4
Регулировка клапанов Паджеро 4

Работа клапанов
Работа клапанов

Привод клапанов ЗМЗ 409
Привод клапанов ЗМЗ 409

Гидрокомпенсатор 6g72
Гидрокомпенсатор 6g72

Гидрокомпенсатор Тойота Камри 2gr Fe
Гидрокомпенсатор Тойота Камри 2gr Fe

Цепь распредвала Хендай Гетц 1.4
Цепь распредвала Хендай Гетц 1.4

Гидрокомпенсатор Каптива 2.4
Гидрокомпенсатор Каптива 2.4

Прокачка гидрокомпенсаторов
Прокачка гидрокомпенсаторов

Гидрокомпенсаторы Лада Веста 1.6
Гидрокомпенсаторы Лада Веста 1.6

Газораспределительный механизм ВАЗ 2105
Газораспределительный механизм ВАЗ 2105

Распредвал ВАЗ 2123
Распредвал ВАЗ 2123

Зажатый клапан
Зажатый клапан

Клапана Нива 21213

Фото: Клапана Нива 21213






Кулачки толкатели клапанов
Кулачки толкатели клапанов

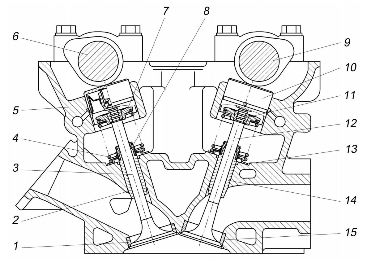
Устройство газораспределительного механизма ДВС
Устройство газораспределительного механизма ДВС

Электромагнитный привод на впускной клапан ДВС
Электромагнитный привод на впускной клапан ДВС

Двигатель 21126 гидрокомпенсаторы
Двигатель 21126 гидрокомпенсаторы

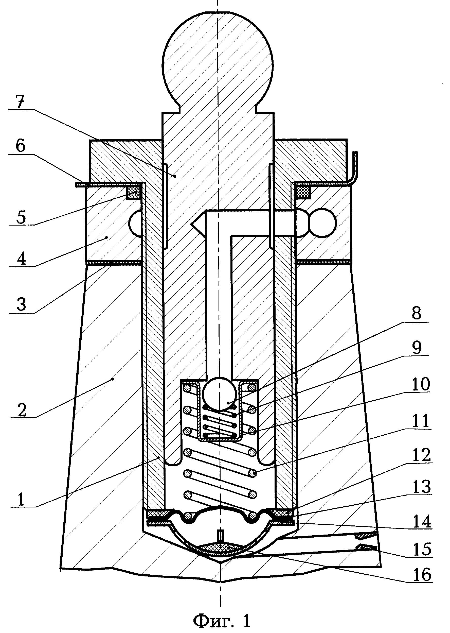
Гидравлический компенсатор зазоров клапанов
Гидравлический компенсатор зазоров клапанов

DOHC, 4 клапана на цилиндр
DOHC, 4 клапана на цилиндр

Клапанный механизм ВАЗ 2106
Клапанный механизм ВАЗ 2106



Рем. Комплект клапанов ГРМ 170fmm (cbb250)
Рем. Комплект клапанов ГРМ 170fmm (cbb250)

Гидрокомпенсаторы акцент 12 клапанный
Гидрокомпенсаторы акцент 12 клапанный

ЗМЗ 511 привод ГРМ
ЗМЗ 511 привод ГРМ

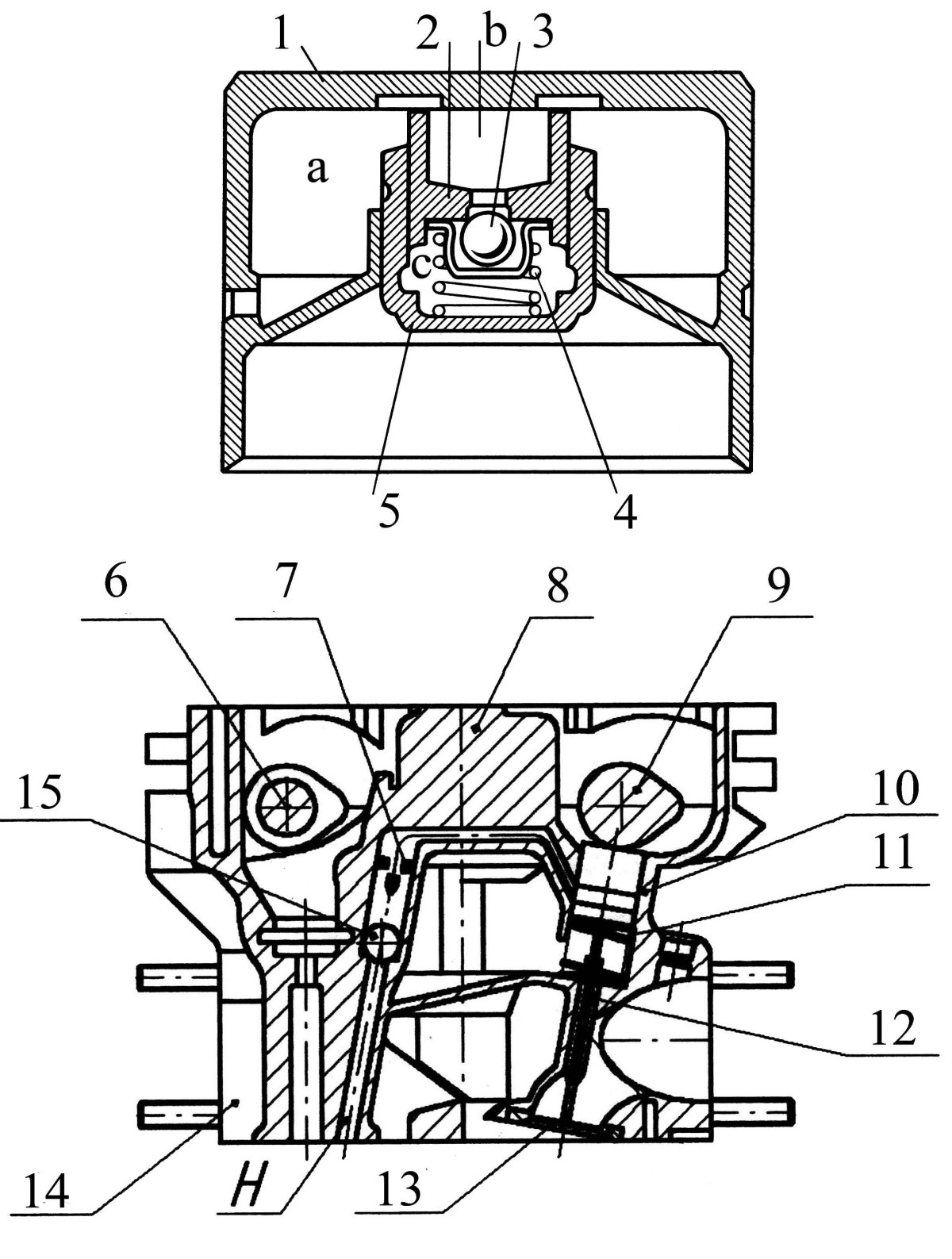
Головка блока цилиндров Шкода Октавия 1.6 схема
Головка блока цилиндров Шкода Октавия 1.6 схема

Гидравлический компенсатор зазоров клапанов
Гидравлический компенсатор зазоров клапанов

Гидрокомпенсаторы Газель бизнес 4216
Гидрокомпенсаторы Газель бизнес 4216

Гидрокомпенсаторы Нива 21214
Гидрокомпенсаторы Нива 21214







Гидрокомпенсаторы ВАЗ 2110 16 клапанов
Гидрокомпенсаторы ВАЗ 2110 16 клапанов

Толкатель клапана УМЗ 4216 евро 3
Толкатель клапана УМЗ 4216 евро 3



Гидрокомпенсатор 409 дв
Гидрокомпенсатор 409 дв

Похожие фото:

Комментарии
Минимальная длина комментария - 50 знаков. комментарии модерируются
Кликните на изображение чтобы обновить код, если он неразборчив