Машинатор » Льномолотилка

Льномолотилка

24 янв
---
1
0

Комбайн льноуборочный Двина-4м
Комбайн льноуборочный Двина-4м

Мельница в Глафировке
Мельница в Глафировке

Молотилка-терка пучковая универсальная МТПУ-500
Молотилка-терка пучковая универсальная МТПУ-500

Веялка для рыбы
Веялка для рыбы

Веялка для зерна
Веялка для зерна

Оборачиватель лент льна ол-140 долгунец
Оборачиватель лент льна ол-140 долгунец

Теребилка льна ТЛП-1,5к
Теребилка льна ТЛП-1,5к

Молотилка для зерна МПС -2.5
Молотилка для зерна МПС -2.5



Колхоз 1930 коллективизация
Колхоз 1930 коллективизация

Колхозы в годы войны 1941-1945

Фото: Колхозы в годы войны 1941-1945


Молотилка и веялка 19 век
Молотилка и веялка 19 век

Калибратор-веялка зерна, семян
Калибратор-веялка зерна, семян



Веялка ОВС 25
Веялка ОВС 25

Молотилка для зерна МПС -2.5
Молотилка для зерна МПС -2.5

Агропромсельмаш КТП 1
Агропромсельмаш КТП 1

Веялка. Машина для сортировки зерна 5xfz-80
Веялка. Машина для сортировки зерна 5xfz-80

Веялка для зерна 19 век
Веялка для зерна 19 век

Веялка см 4 ковш распределительного шнека

Фото: Веялка см 4 ковш распределительного шнека


Техника для уборки льна долгунца
Техника для уборки льна долгунца

Оборачиватель лент льна
Оборачиватель лент льна

1911 Год
1911 Год

Аграрное хозяйство Англии 18-19 век
Аграрное хозяйство Англии 18-19 век

Веялка для зерна
Веялка для зерна

Зерноочистительная машина "веялка"
Зерноочистительная машина "веялка"

Льнозавод Вышний Волочек
Льнозавод Вышний Волочек

Экспорт зерна
Экспорт зерна

Веялка для зерна 19 век
Веялка для зерна 19 век

Калибратор веялка
Калибратор веялка

Шелушитель кедрового ореха кедр 100
Шелушитель кедрового ореха кедр 100

Молотилка CLAAS Tucano
Молотилка CLAAS Tucano

Сепаратор для зерна ИСМ-5
Сепаратор для зерна ИСМ-5

Петкус 527
Петкус 527

Веялка для зерна 220 вольт
Веялка для зерна 220 вольт



Техника для уборки льна долгунца
Техника для уборки льна долгунца

Николай Шабунин путешествие на Север 1906 год
Николай Шабунин путешествие на Север 1906 год

Теребилка льна ТЛП-1,5к
Теребилка льна ТЛП-1,5к

Зерноочистительные машины 5xfz80

Фото: Зерноочистительные машины 5xfz80


Веялка для ягод Буран 500
Веялка для ягод Буран 500

Зерноочистительная машина ОВС 25
Зерноочистительная машина ОВС 25

Самоходный льноуборочный комбайн
Самоходный льноуборочный комбайн

Оборачиватель лент льна самоходный Череповец
Оборачиватель лент льна самоходный Череповец

Сельское хозяйство России в начале 20 века
Сельское хозяйство России в начале 20 века

Веялка зерна ОВС
Веялка зерна ОВС

Машина для шелушения кедрового ореха STS 120
Машина для шелушения кедрового ореха STS 120

Веялки и молотилки
Веялки и молотилки

Уборка льна комбайном
Уборка льна комбайном



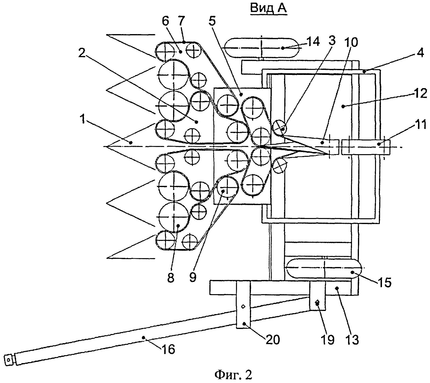
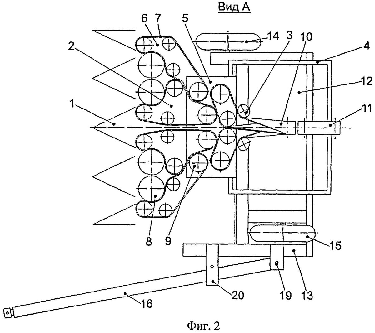
Веялка для ягод чертеж
Веялка для ягод чертеж

Стерневая сеялка
Стерневая сеялка



МПО 100 зерноочистительная машина
МПО 100 зерноочистительная машина

Уборка льна
Уборка льна

Веялка. Машина для сортировки зерна 5xfz-80
Веялка. Машина для сортировки зерна 5xfz-80

Высевающий аппарат СЗ-3.6
Высевающий аппарат СЗ-3.6

Техника для уборки льна долгунца
Техника для уборки льна долгунца

Кукуруза лущилка чертежи
Кукуруза лущилка чертежи

Самоходная льнотеребилка

Фото: Самоходная льнотеребилка

Похожие фото:

Комментарии
Минимальная длина комментария - 50 знаков. комментарии модерируются
Кликните на изображение чтобы обновить код, если он неразборчив