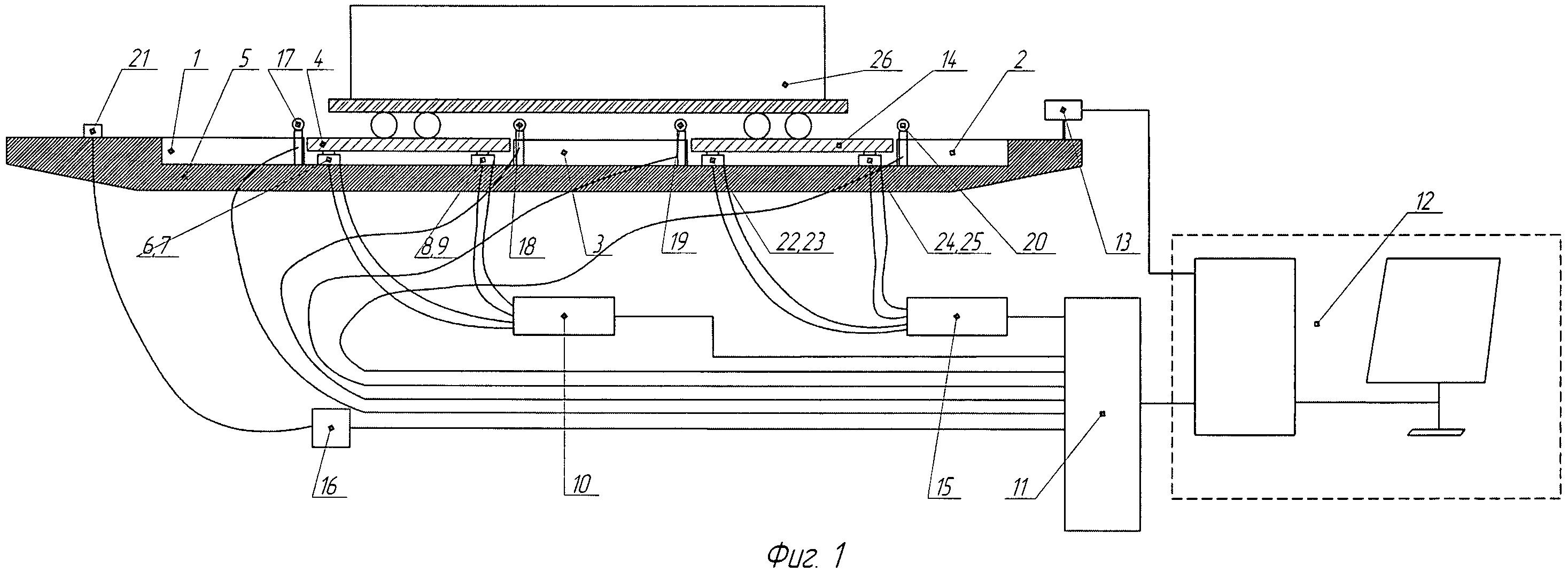
Машинатор » Вагонные весы рд 150 7 модель 1007

Вагонные весы рд 150 7 модель 1007

15 ноя
---
2
0



Весы вагонные «Веста-с100»
Весы вагонные «Веста-с100»

Вагонные весы БАМ-100
Вагонные весы БАМ-100

Вагонные весы РД100.7
Вагонные весы РД100.7

Железнодорожные весы для взвешивания вагонов
Железнодорожные весы для взвешивания вагонов



















Вагонные весы РД100.7
Вагонные весы РД100.7



Весы вагонные ВВЭ-СД-150,1
Весы вагонные ВВЭ-СД-150,1

Вагонные весы МВСК-100-3-В
Вагонные весы МВСК-100-3-В

























Вагонные весы ВВТ
Вагонные весы ВВТ



Вагонные весы БАМ-100
Вагонные весы БАМ-100











Вагонные весы РТВ-Д
Вагонные весы РТВ-Д

Вагонные весы ВД 30

Фото: Вагонные весы ВД 30


Весы вагонные Сибирь с
Весы вагонные Сибирь с







Вагонные весы ВРТ-04м
Вагонные весы ВРТ-04м















Вагонные весы модуль
Вагонные весы модуль








Похожие фото:

Комментарии
Минимальная длина комментария - 50 знаков. комментарии модерируются
Кликните на изображение чтобы обновить код, если он неразборчив