Машинатор » Подводная лодка с газотурбинной воздухонезависимой энергетической установкой

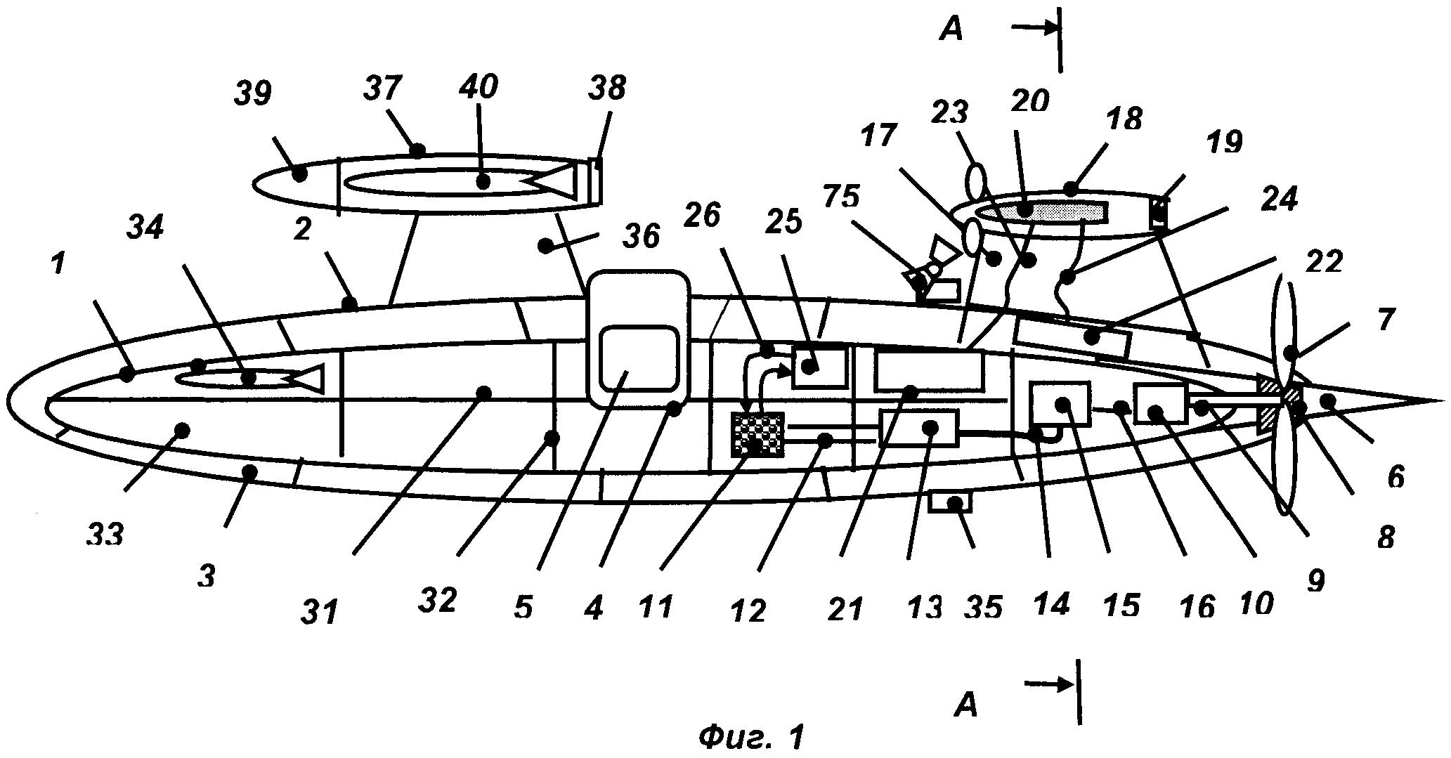
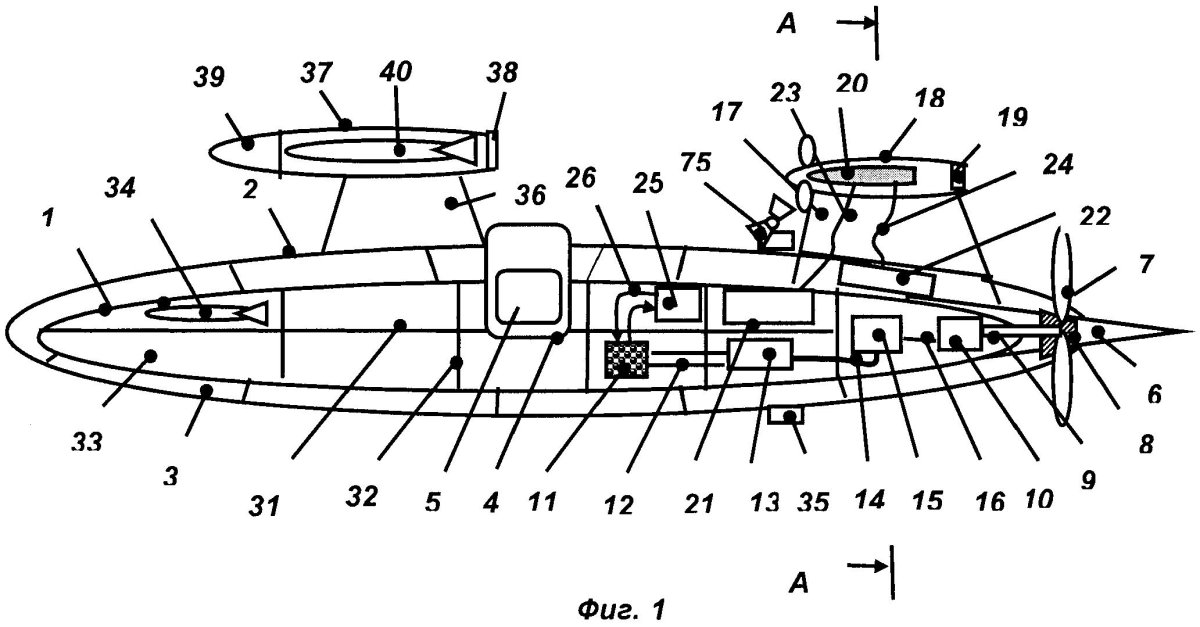
Подводная лодка с газотурбинной воздухонезависимой энергетической установкой

25 янв
---
1
0

Подводные лодки России
Подводные лодки России

U-212 подлодка
U-212 подлодка

Подводная лодка п-750б сервал
Подводная лодка п-750б сервал

Подводная лодка Амур 1650 с ВНЭУ
Подводная лодка Амур 1650 с ВНЭУ



Подводная лодка Амур 1650 с ВНЭУ
Подводная лодка Амур 1650 с ВНЭУ



Подводная лодка Амур 1650 с ВНЭУ
Подводная лодка Амур 1650 с ВНЭУ

ДЭПЛ Амур-1650
ДЭПЛ Амур-1650

SMX 31 подлодка
SMX 31 подлодка



Подлодка Амур 1650
Подлодка Амур 1650



Готланд подводная лодка
Готланд подводная лодка

Подводная лодка Scorpene
Подводная лодка Scorpene

Подводная лодка п-750б сервал
Подводная лодка п-750б сервал

Подводная лодка п-750б сервал
Подводная лодка п-750б сервал

Подводные лодки проекта 865 «Пиранья»
Подводные лодки проекта 865 «Пиранья»



Agosta 90b

Фото: Agosta 90b




Type 214 Submarine
Type 214 Submarine

Невский Бастион Карпенко
Невский Бастион Карпенко

Подводная лодка в Заполярье
Подводная лодка в Заполярье



S-80 Plus-class Submarine
S-80 Plus-class Submarine



SMX 31 подлодка
SMX 31 подлодка

Подводные лодки проекта п 750 «Пиранья»
Подводные лодки проекта п 750 «Пиранья»



Подлодку HDW 212a
Подлодку HDW 212a

Neyk субмарина
Neyk субмарина

Подводная лодка Амур 1650 с ВНЭУ
Подводная лодка Амур 1650 с ВНЭУ

Лодка KSS III
Лодка KSS III

Подводная лодка Владикавказ
Подводная лодка Владикавказ

Схема силовой установки АПЛ
Схема силовой установки АПЛ

Soryu подводная лодка
Soryu подводная лодка



Воздухонезависимая энергетическая установка для подводных лодок
Воздухонезависимая энергетическая установка для подводных лодок

Баллистические ракеты подводных лодок

Фото: Баллистические ракеты подводных лодок






Подводная лодка Калина пятого поколения
Подводная лодка Калина пятого поколения

Подводная лодка Scorpene
Подводная лодка Scorpene

Подводная лодка 677 Лада
Подводная лодка 677 Лада

Елочная игрушка подводная лодка малахит
Елочная игрушка подводная лодка малахит

Подводная лодка Амур 1650 с ВНЭУ
Подводная лодка Амур 1650 с ВНЭУ

Подводная лодка SMX Ocean
Подводная лодка SMX Ocean

Готланд подводная лодка
Готланд подводная лодка

Подводные лодки с двигателем Стирлинга
Подводные лодки с двигателем Стирлинга

Taigei-class Submarine
Taigei-class Submarine

Подводные лодки проекта 677 Лада
Подводные лодки проекта 677 Лада

Подводные лодки Китая 2021
Подводные лодки Китая 2021

Подлодка 039a Yuan
Подлодка 039a Yuan

Подводные лодки проекта 865 «Пиранья»
Подводные лодки проекта 865 «Пиранья»

Похожие фото:

Комментарии
Минимальная длина комментария - 50 знаков. комментарии модерируются
Кликните на изображение чтобы обновить код, если он неразборчив