Машинатор » Поясная линия кузова

Поясная линия кузова

26 янв
---
1
0

Текстура двери грузовика
Текстура двери грузовика

Haval новый год
Haval новый год

Полоска на Роллс Ройс
Полоска на Роллс Ройс

Защитная антигравийная полиуретановая пленка
Защитная антигравийная полиуретановая пленка





Hiphi машина
Hiphi машина

Мерседес 124 габариты кузова
Мерседес 124 габариты кузова

Сломалось крепление молдинга крыши Форд фокус 3
Сломалось крепление молдинга крыши Форд фокус 3

Хром молдинги Форд фокус 3
Хром молдинги Форд фокус 3

Ford model t hot Rod

Фото: Ford model t hot Rod






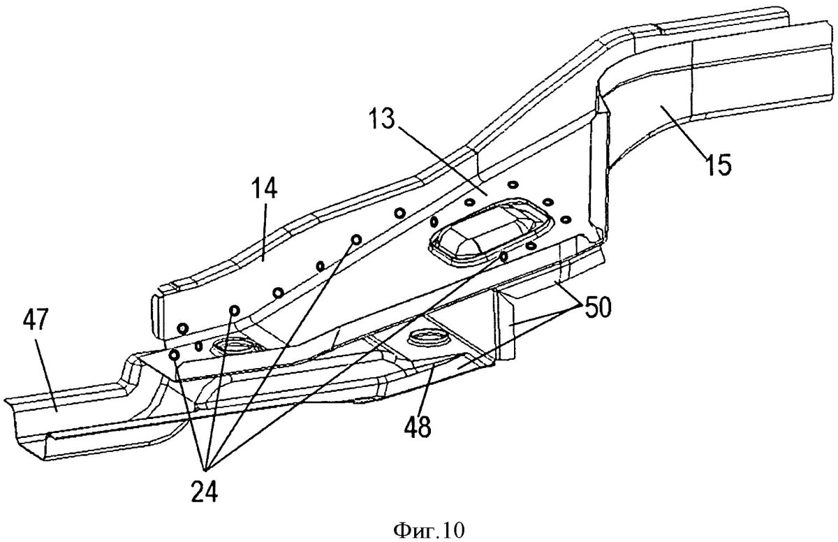
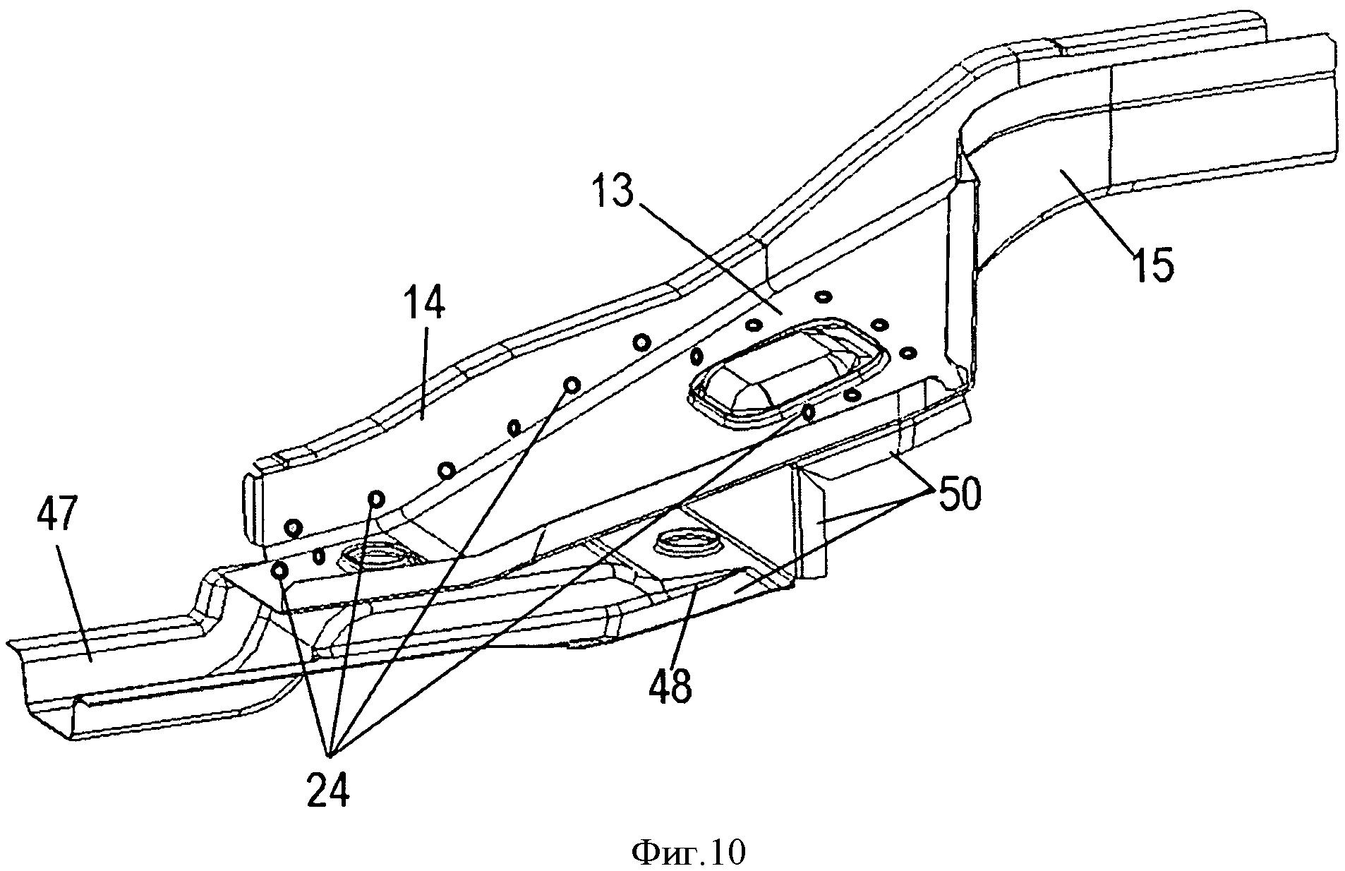
Лансер 10 контрольные точки кузова
Лансер 10 контрольные точки кузова

Honda Accord 2007 чертеж
Honda Accord 2007 чертеж

Геометрия кузова Ауди q5
Геометрия кузова Ауди q5

Геометрия кузова Тойота Королла 120 кузов
Геометрия кузова Тойота Королла 120 кузов

Машина Эстетика
Машина Эстетика

Геометрия кузова Лада ВАЗ 2170
Геометрия кузова Лада ВАЗ 2170

Геометрия кузова Тойота Королла 120 кузов

Фото: Геометрия кузова Тойота Королла 120 кузов




Контрольные точки геометрии кузова ВАЗ 2115
Контрольные точки геометрии кузова ВАЗ 2115



L494 SVR 2018
L494 SVR 2018

ВАЗ 2107 чертеж
ВАЗ 2107 чертеж



Геометрия кузова Volkswagen Polo седан
Геометрия кузова Volkswagen Polo седан





Геометрия кузова Ауди с6
Геометрия кузова Ауди с6

Mazda MX-5 Miata Blueprint
Mazda MX-5 Miata Blueprint

БМВ е34 чертеж кузова пола
БМВ е34 чертеж кузова пола

Киа Каденза 2022
Киа Каденза 2022





Роллс Ройс Фантом
Роллс Ройс Фантом

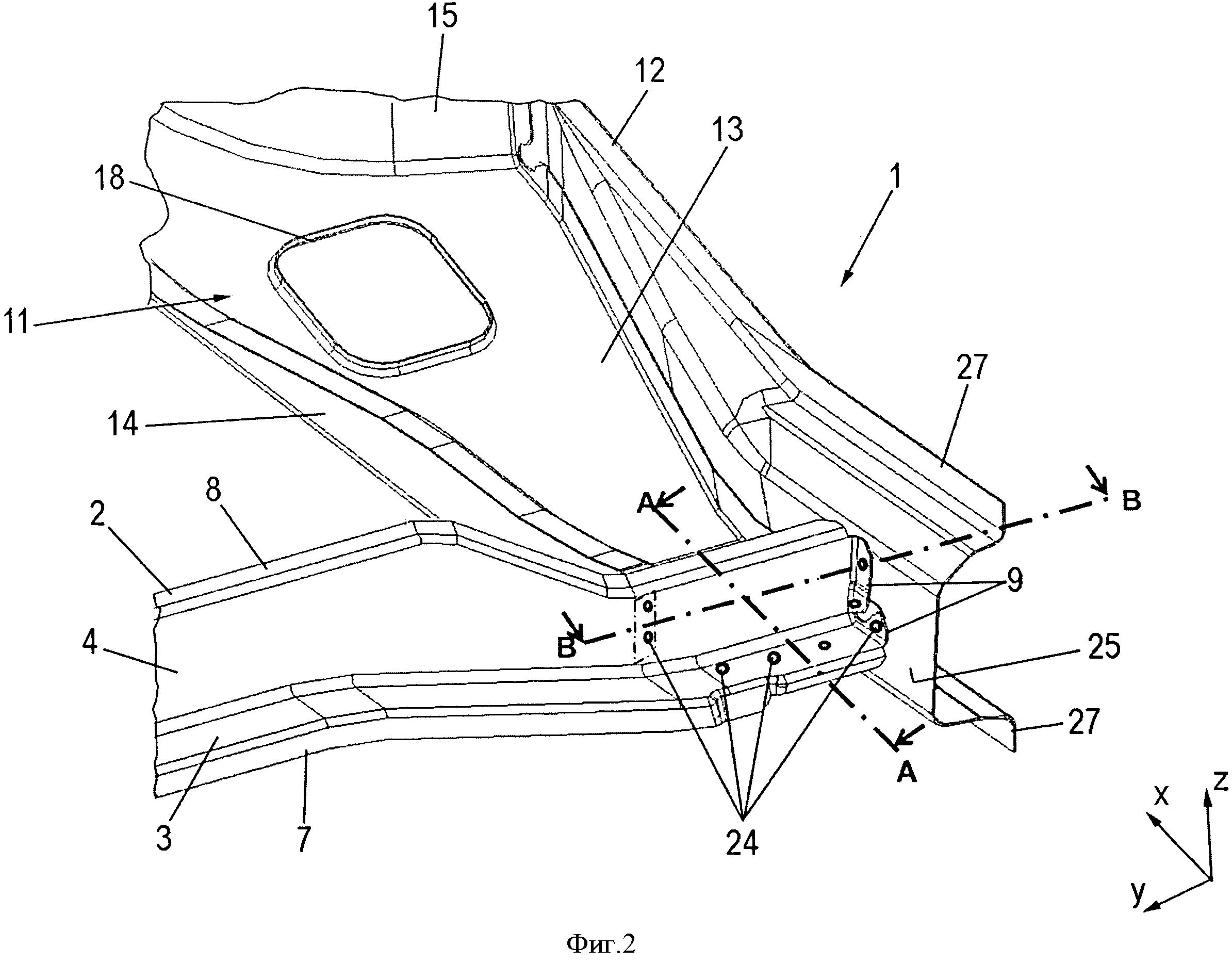
Конструкция кузова автомобиля
Конструкция кузова автомобиля

Китай машины
Китай машины

Геометрия кузова ВАЗ 2110 моторный отсек
Геометрия кузова ВАЗ 2110 моторный отсек

Toyota Highlander схема кузова

Фото: Toyota Highlander схема кузова


Кузовные Размеры Мазда cx5
Кузовные Размеры Мазда cx5

Audi a5 компоновка кузова
Audi a5 компоновка кузова

Mercedes-Benz w140 чертеж
Mercedes-Benz w140 чертеж

Audi a6 днище
Audi a6 днище

Geely Preface
Geely Preface

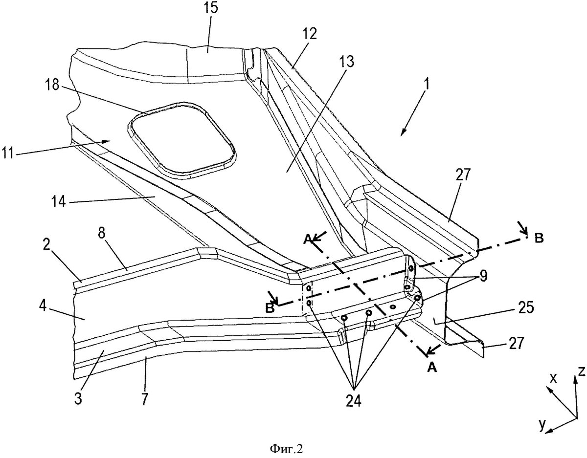
Конструкция кузова
Конструкция кузова



Защита молдинга поясной линии кузова, левая
Защита молдинга поясной линии кузова, левая

Шевроле Нива габариты вид сверху
Шевроле Нива габариты вид сверху

Рендж Ровер алюминиевый кузов
Рендж Ровер алюминиевый кузов



Ауди а4 задняя часть кузова
Ауди а4 задняя часть кузова

Похожие фото:

Комментарии
Минимальная длина комментария - 50 знаков. комментарии модерируются
Кликните на изображение чтобы обновить код, если он неразборчив