Машинатор » Кремальерный затвор

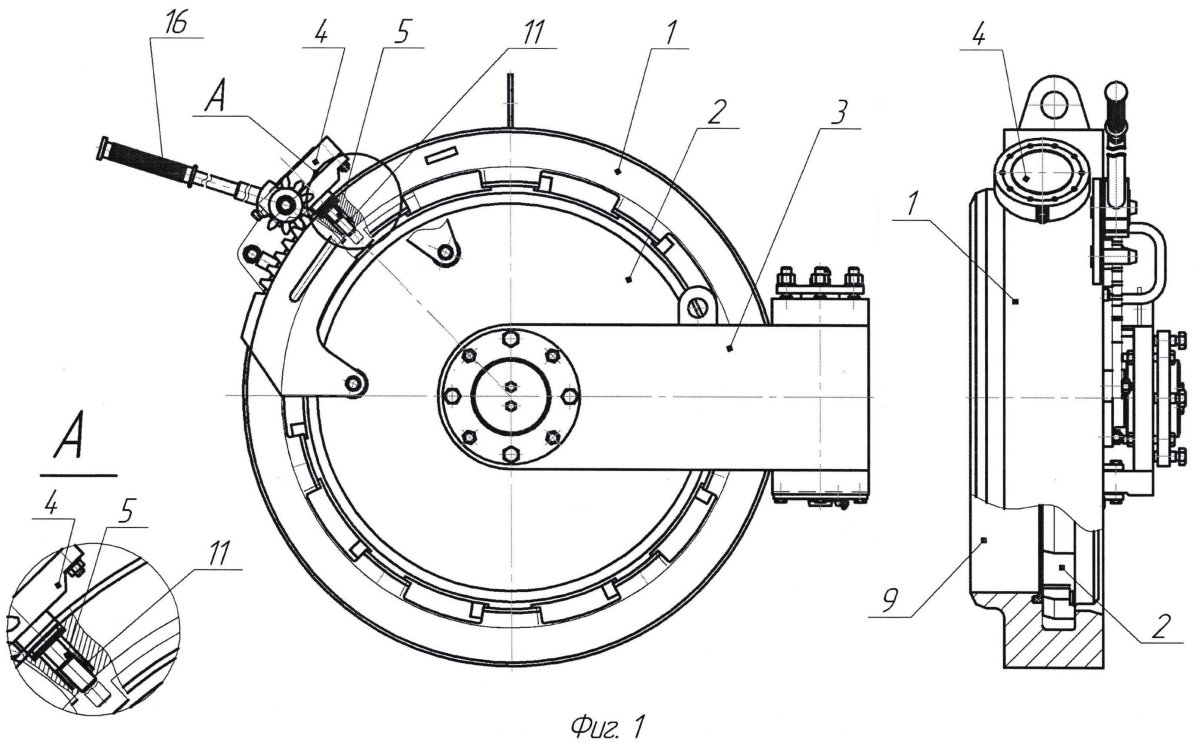
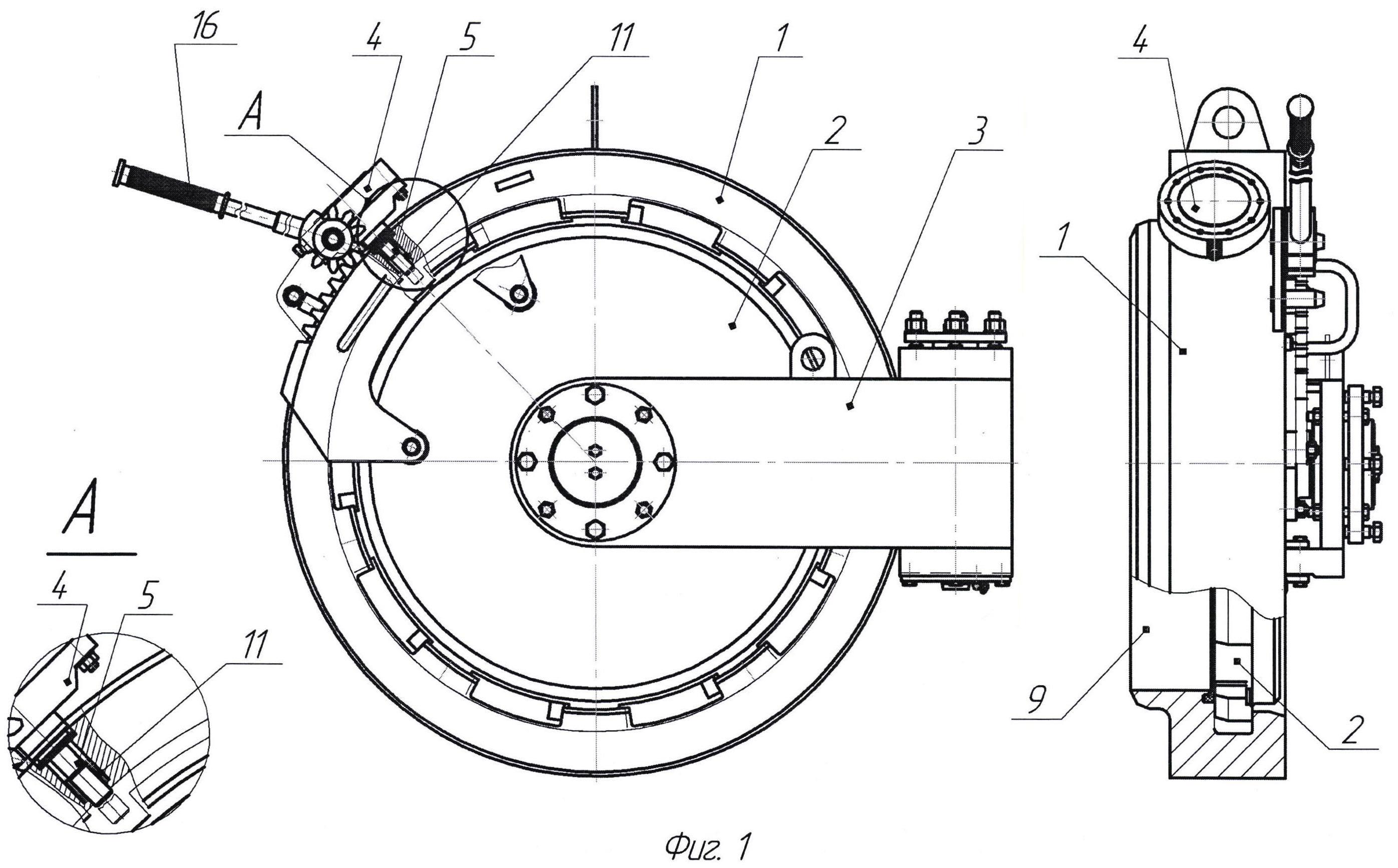
Кремальерный затвор

26 янв
---
1
0

Верхний рубочный люк подводной лодки
Верхний рубочный люк подводной лодки

Верхний рубочный люк подводной лодки
Верхний рубочный люк подводной лодки

Переборочный люк 641 лодки
Переборочный люк 641 лодки

Подводная лодка д-2 «Народоволец»
Подводная лодка д-2 «Народоволец»

Верхний рубочный люк подводной лодки
Верхний рубочный люк подводной лодки

Рубочный люк подводной лодки
Рубочный люк подводной лодки

Комингс-площадка подводной лодки Курск
Комингс-площадка подводной лодки Курск

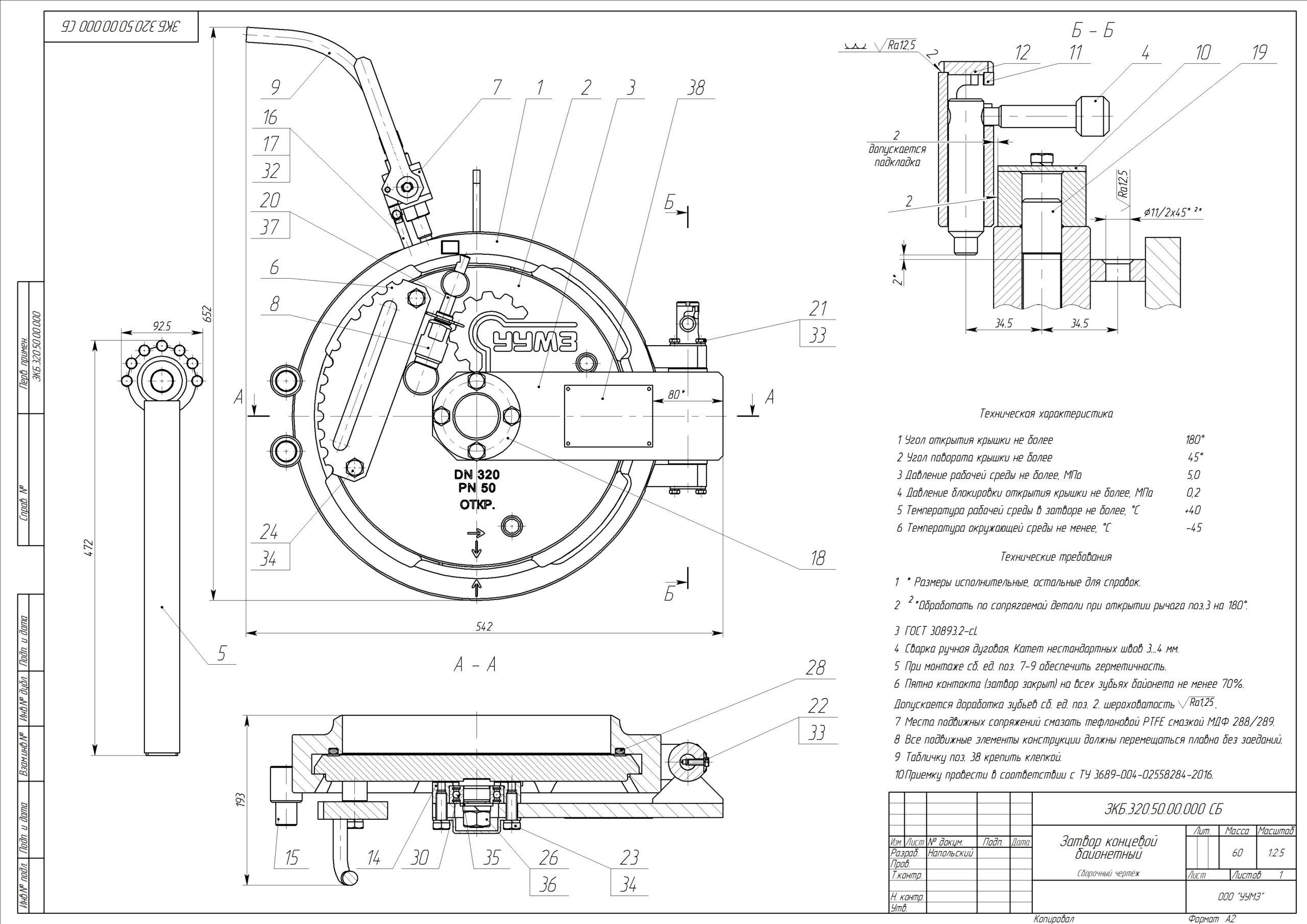
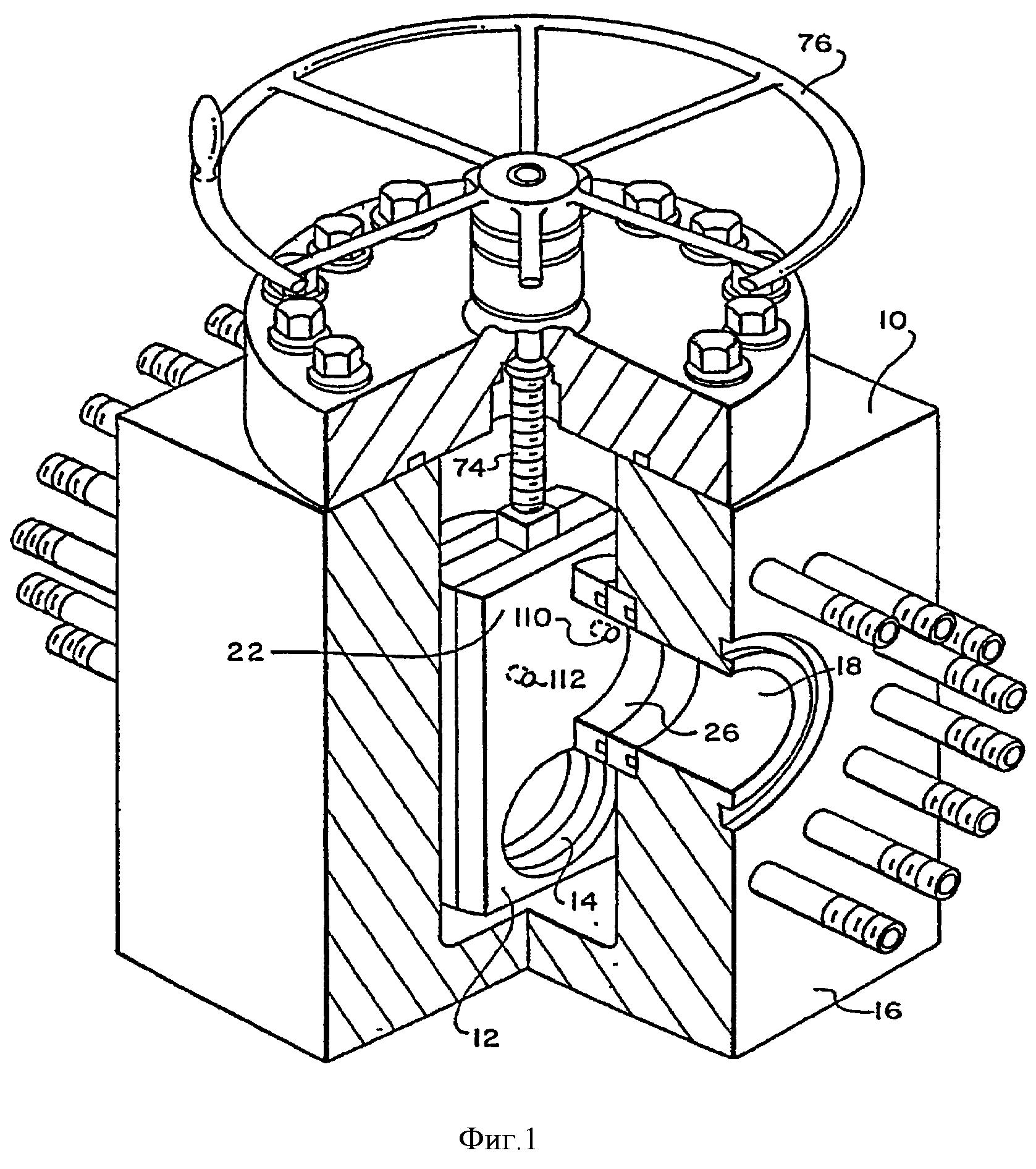
Байонетный затвор автоклава
Байонетный затвор автоклава

Аварийно-спасательный люк АПЛ
Аварийно-спасательный люк АПЛ

Люк подводной лодки
Люк подводной лодки

АПЛ Борей Центральный пост

Фото: АПЛ Борей Центральный пост


Верхний рубочный люк подводной лодки
Верхний рубочный люк подводной лодки

Рубочный люк АПЛ
Рубочный люк АПЛ

Кремальера подводная лодка
Кремальера подводная лодка

Кремальерная дверь
Кремальерная дверь

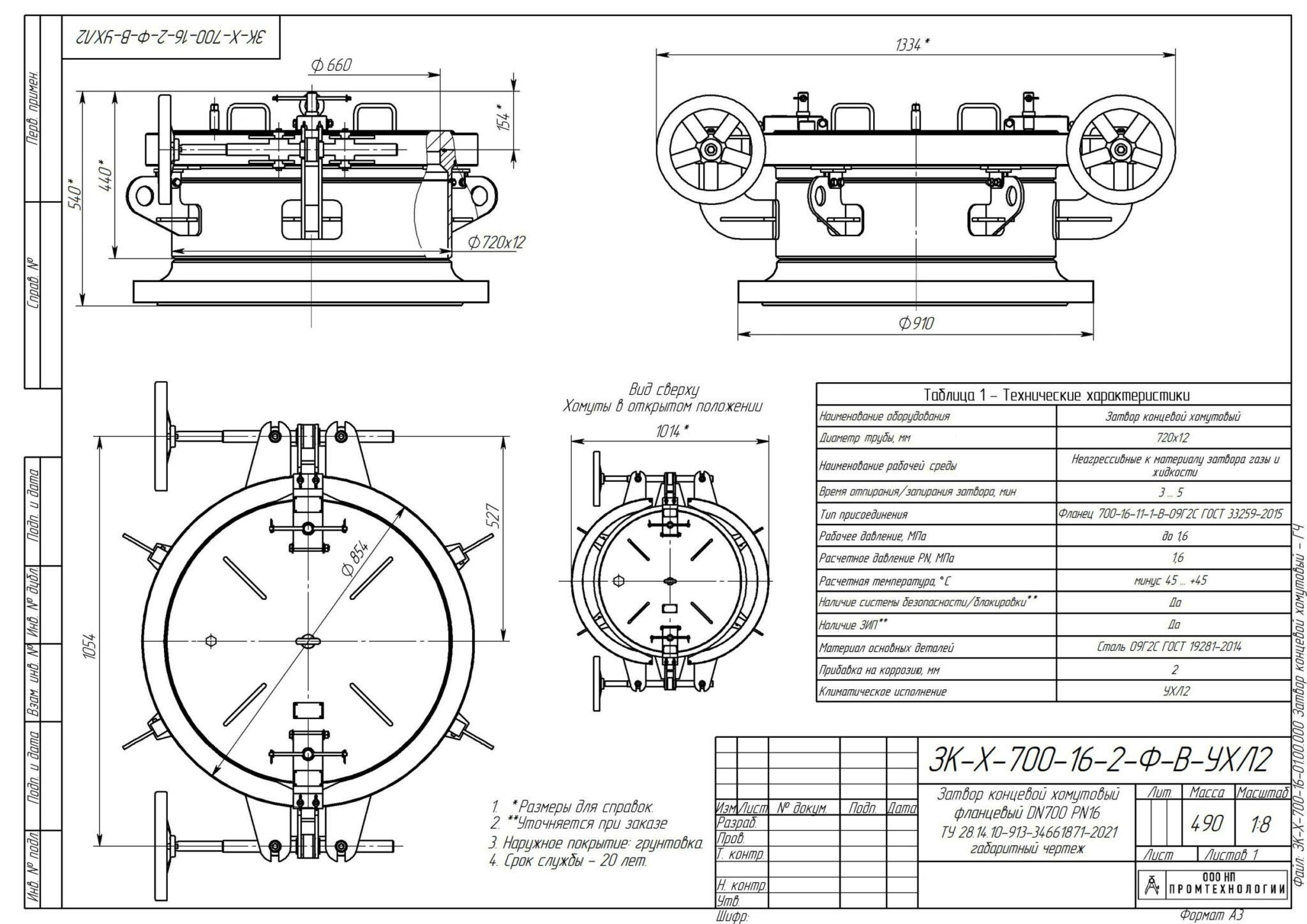
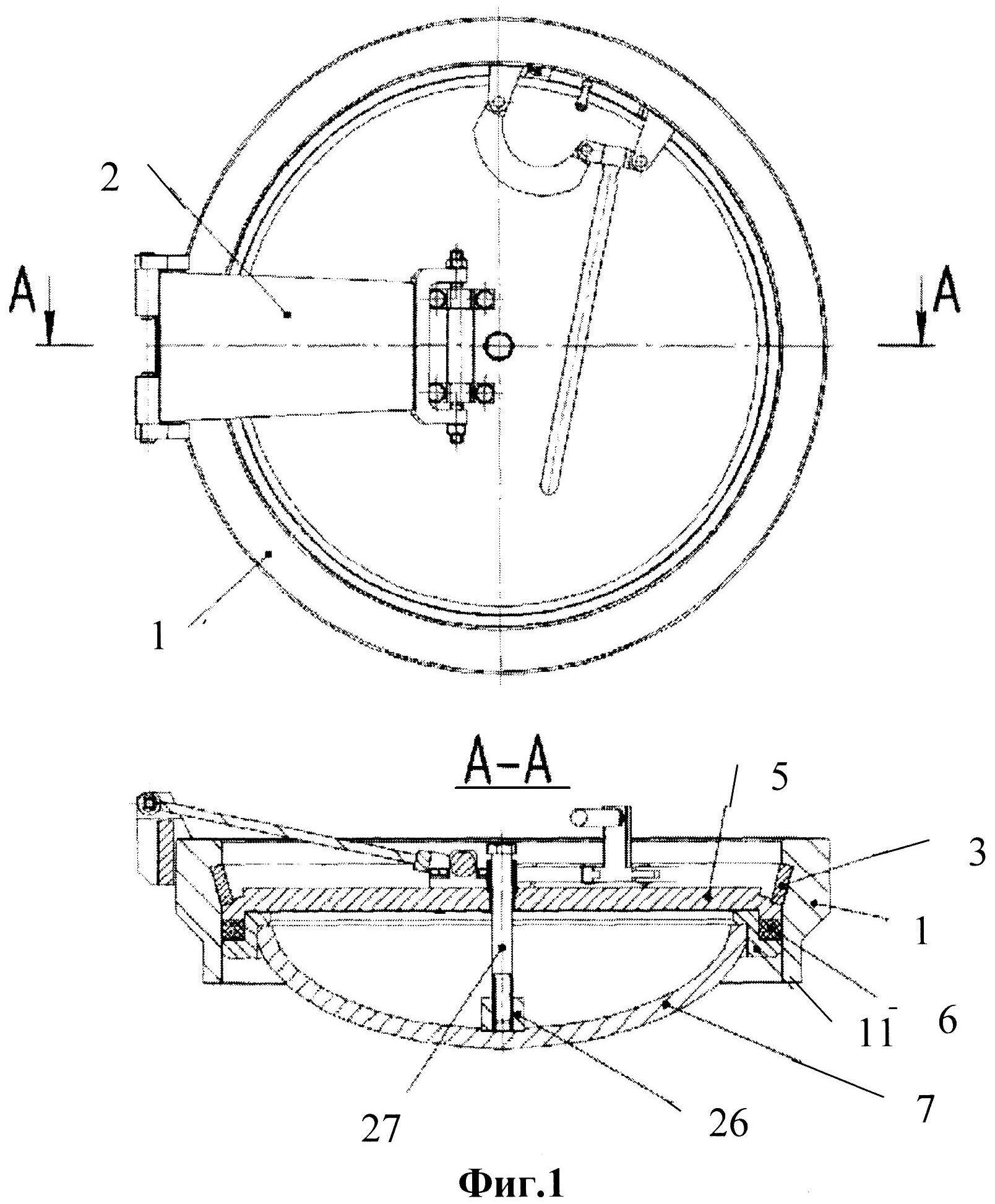
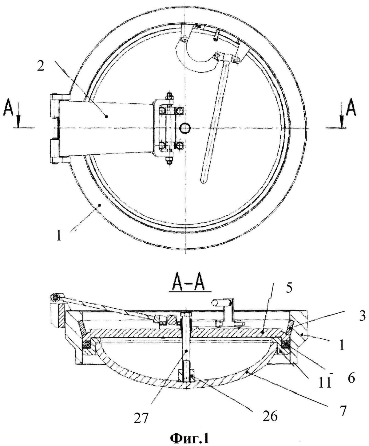
Затвор концевой Байонетный ду700
Затвор концевой Байонетный ду700

Люк отсека подводной лодки
Люк отсека подводной лодки

Затвор концевой Байонетный
Затвор концевой Байонетный

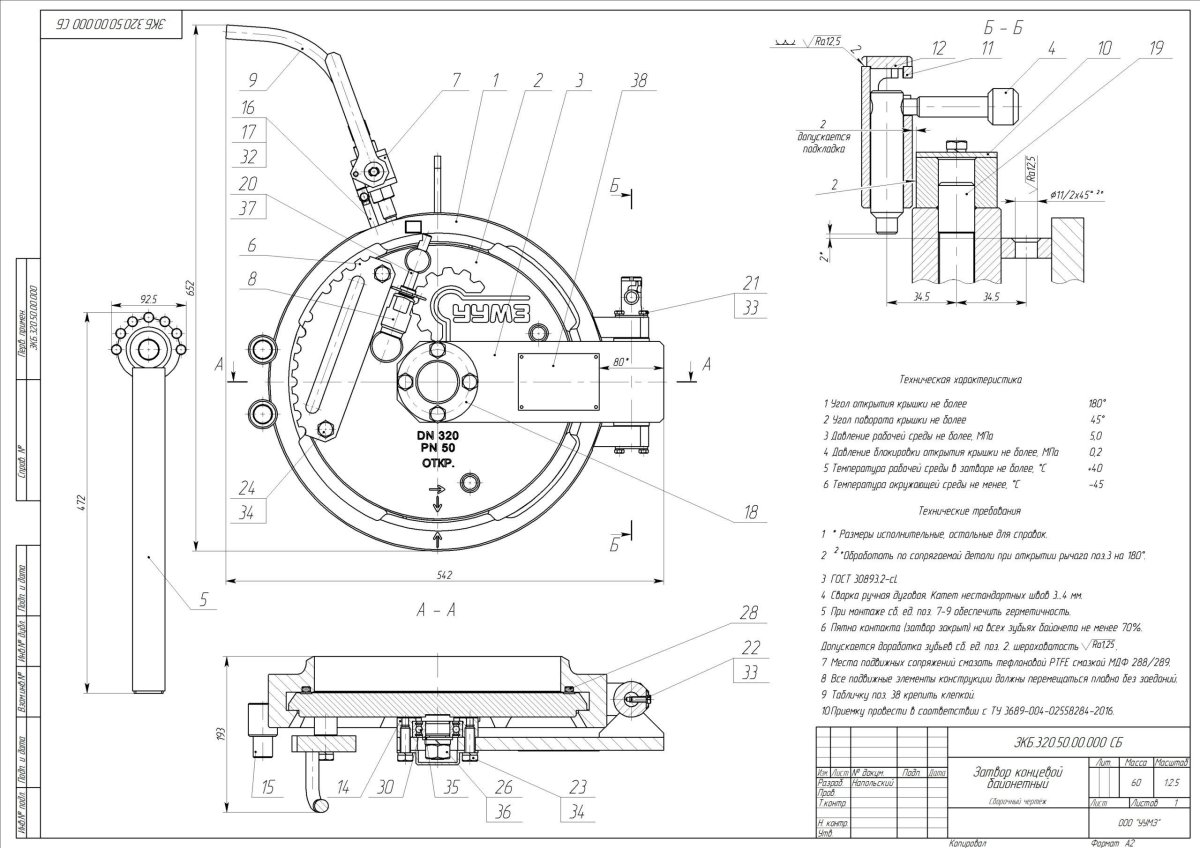
Затвор концевой Байонетный ду700
Затвор концевой Байонетный ду700

Затвор и затворная рама

Фото: Затвор и затворная рама


Шиберный затвор конструкция
Шиберный затвор конструкция

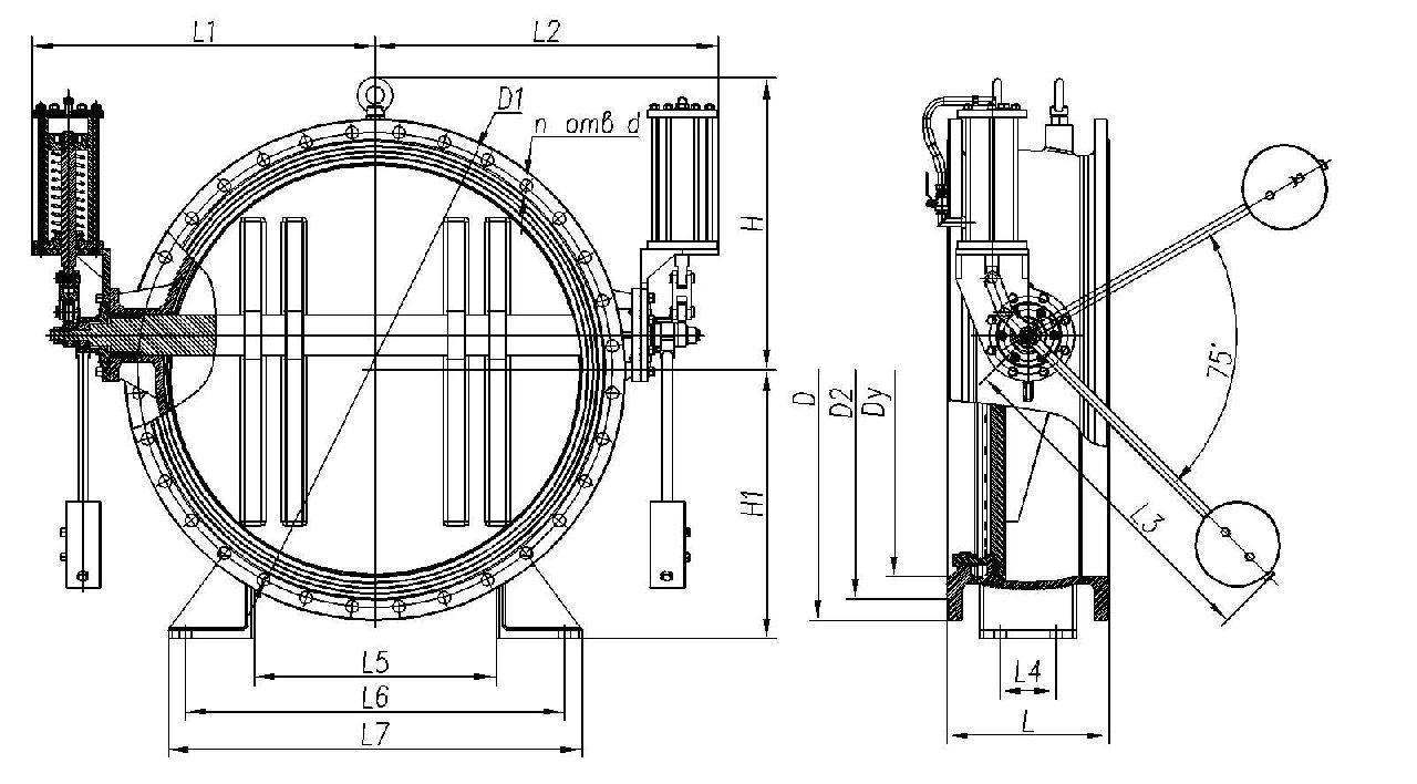
Байонетный затвор DN 1200
Байонетный затвор DN 1200

Затвор концевой Байонетный ду700
Затвор концевой Байонетный ду700



Судовые клинкетные двери
Судовые клинкетные двери

Переборочный люк подводной лодки
Переборочный люк подводной лодки

Затвор концевой Байонетный ЗКБ 500 100
Затвор концевой Байонетный ЗКБ 500 100

Дверь сейфовая металлическая входная
Дверь сейфовая металлическая входная





Затвор концевой Байонетный ду700
Затвор концевой Байонетный ду700

Скип с шиберным затвором
Скип с шиберным затвором

Замок сейфовый сувальдный
Замок сейфовый сувальдный

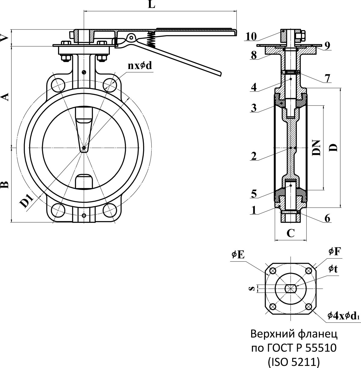
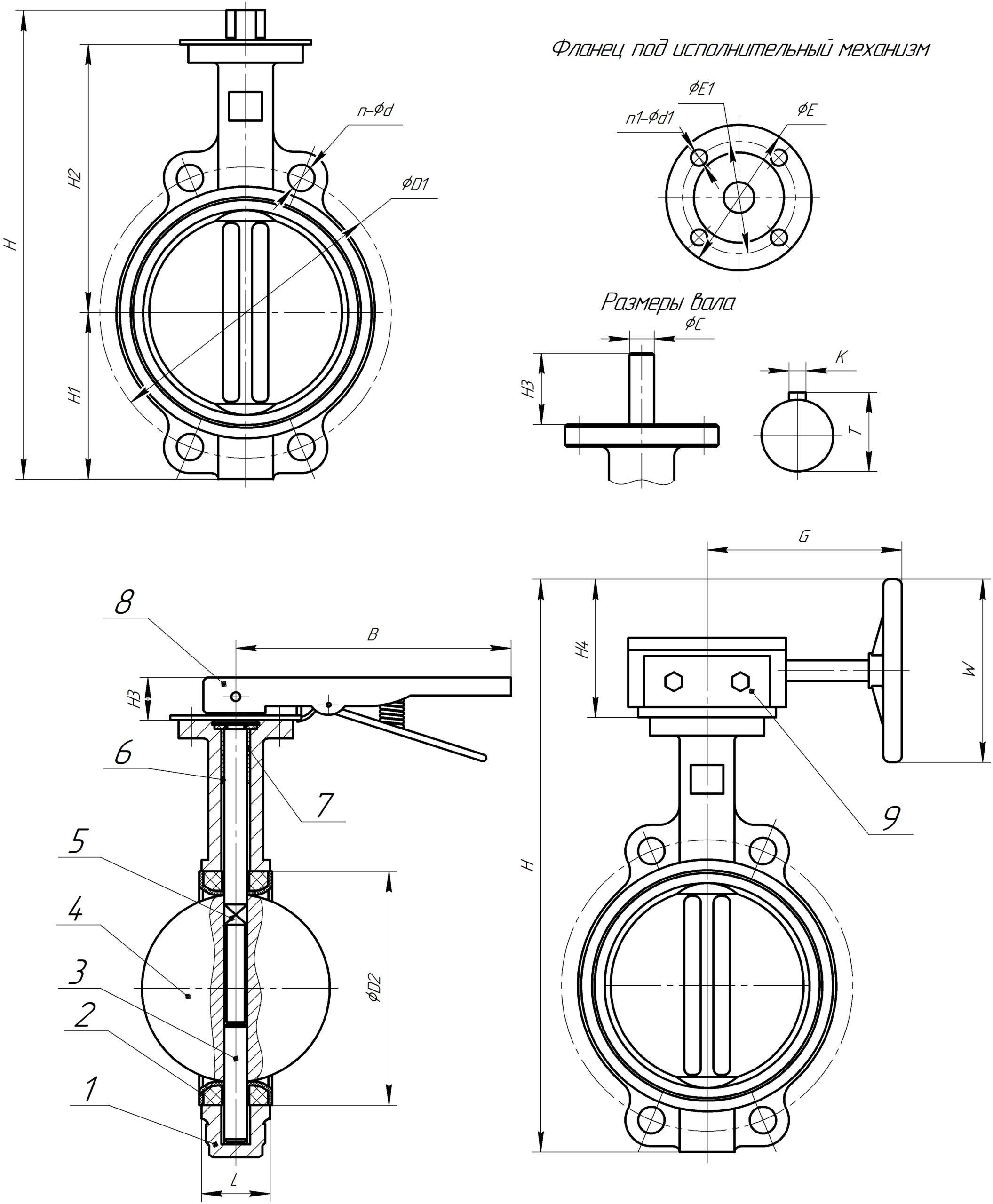
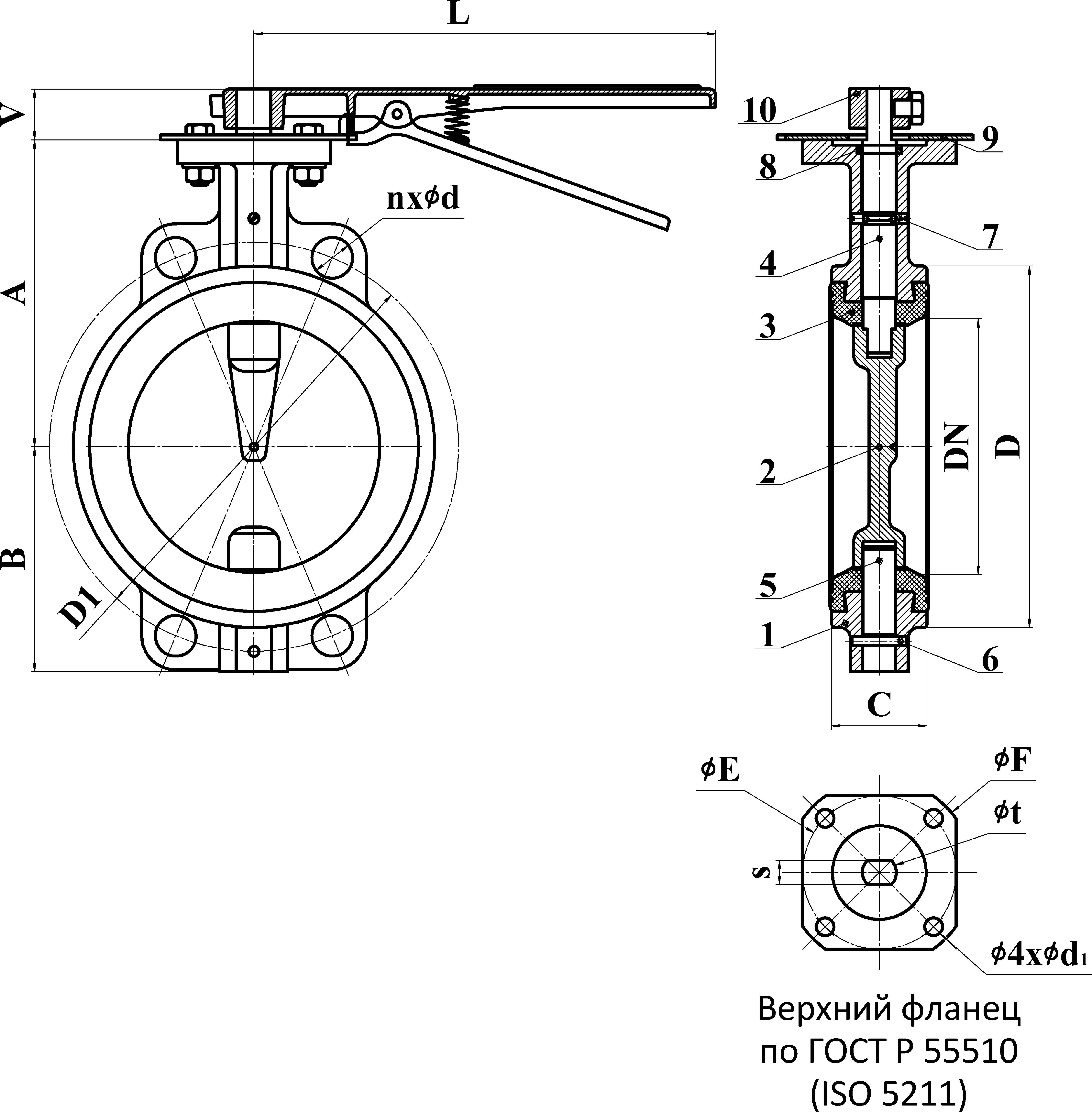
Затвор дисковый поворотный 32ч1р межфланцевый ЛМЗ
Затвор дисковый поворотный 32ч1р межфланцевый ЛМЗ



Винтовка Бердана 2
Винтовка Бердана 2

Панорама Герца
Панорама Герца

Затвор Максима
Затвор Максима



Затвор 600 дисковый поворотный чертеж

Фото: Затвор 600 дисковый поворотный чертеж


Затвор винтовки Маузер 98к
Затвор винтовки Маузер 98к

Затвор от флак 20
Затвор от флак 20

Поверхность покрыть грунтовкой на чертеже
Поверхность покрыть грунтовкой на чертеже

Самодельный ригельный замок
Самодельный ригельный замок

Байонетный затвор автоклава
Байонетный затвор автоклава

Байонетный затвор Ду 400 чертеж
Байонетный затвор Ду 400 чертеж

Газовый затвор разделительной средой
Газовый затвор разделительной средой

MG 08 пулемет
MG 08 пулемет



ЗПУ крытого вагона на двери
ЗПУ крытого вагона на двери

Бронированная дверь хранилища
Бронированная дверь хранилища

Затвор дисковый пт99058-300
Затвор дисковый пт99058-300



Воздушный затвор
Воздушный затвор





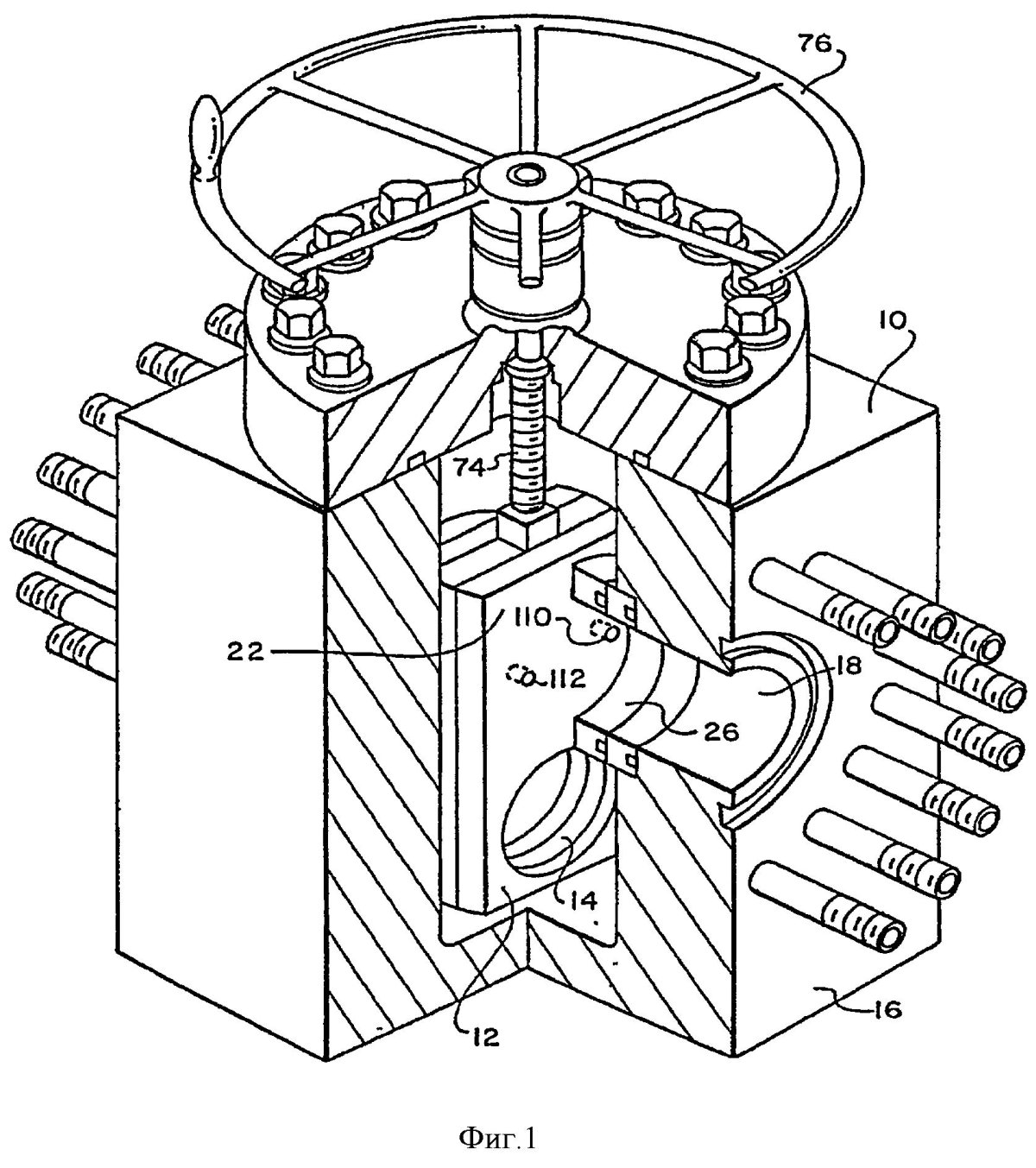
Поршневой затвор м777
Поршневой затвор м777

Винтовка рекорд 1
Винтовка рекорд 1

Затвор щитовой Vokker fr-4r-p1-NK
Затвор щитовой Vokker fr-4r-p1-NK



Затвор Бердана 20 калибра
Затвор Бердана 20 калибра










Похожие фото:

Комментарии
Минимальная длина комментария - 50 знаков. комментарии модерируются
Кликните на изображение чтобы обновить код, если он неразборчив