Машинатор » Ложемент в ракете

Ложемент в ракете

26 янв
---
1
0

Скафандр Сокол кв-2
Скафандр Сокол кв-2

Ракета-носитель "Ангара-а5"
Ракета-носитель "Ангара-а5"



Кресло Космонавта
Кресло Космонавта

САС РН Союз
САС РН Союз

Кресло Казбек космическое
Кресло Казбек космическое

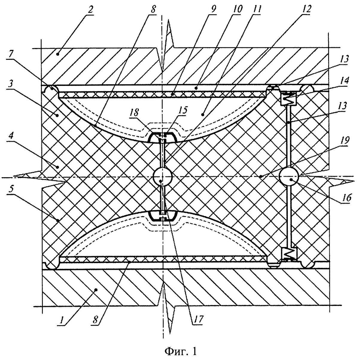
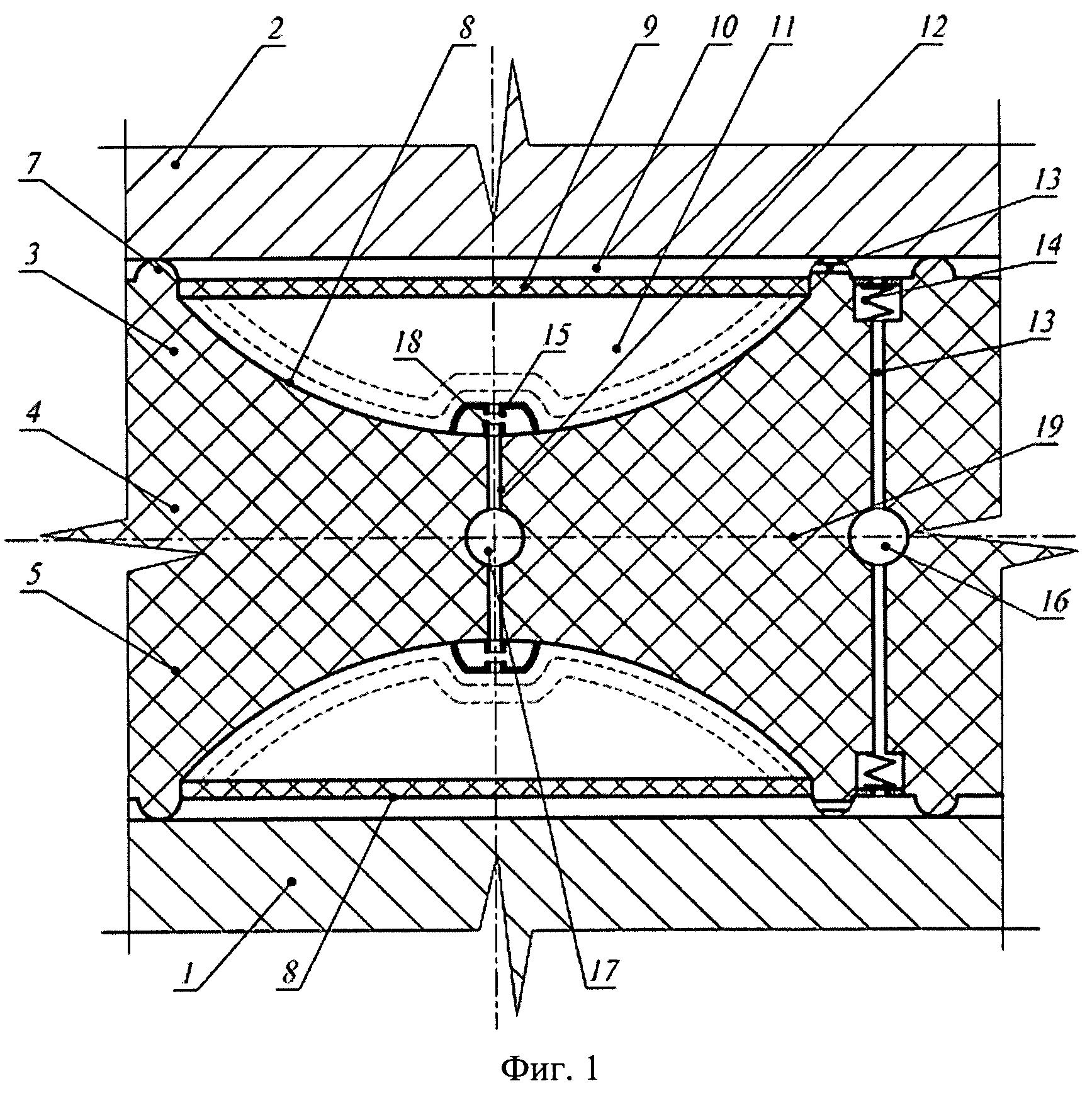
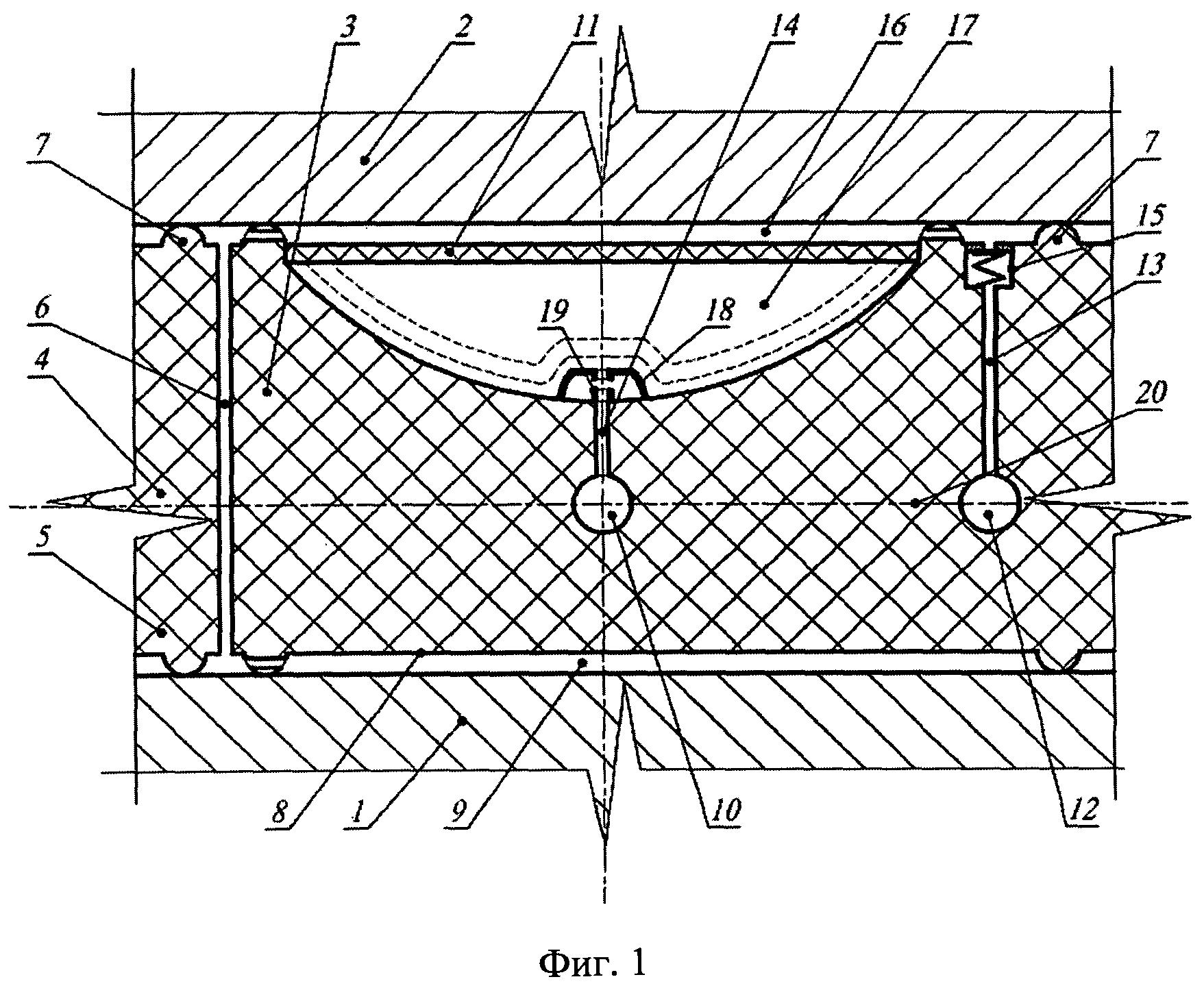
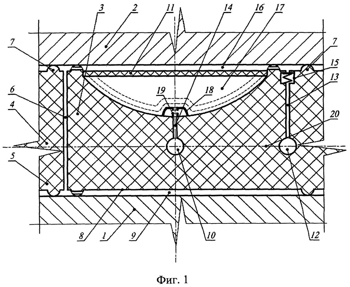
Ложемент для ракеты
Ложемент для ракеты

Катапультное кресло СК-1
Катапультное кресло СК-1



Упругая амортизирующая прокладка
Упругая амортизирующая прокладка

Ложемент для ракеты

Фото: Ложемент для ракеты


Испытания корабля
Испытания корабля

Ракета-носитель "Ангара-а5"
Ракета-носитель "Ангара-а5"

Скафандр Сокол в кресле Казбек
Скафандр Сокол в кресле Казбек

1/150 Plastic model soyuz Rocket & transport Train
1/150 Plastic model soyuz Rocket & transport Train

Союз МС кабина
Союз МС кабина

Испытания космических аппаратов
Испытания космических аппаратов

Кресло Космонавта
Кресло Космонавта

Космодром Восточный Ангара а5
Космодром Восточный Ангара а5

Композитные материалы в ракетостроении

Фото: Композитные материалы в ракетостроении


Кресло Казбек ум
Кресло Казбек ум

Союз МС-24
Союз МС-24

Союз МС-22 экипаж
Союз МС-22 экипаж

Неуправляемая Авиационная ракета с-13б
Неуправляемая Авиационная ракета с-13б

ЦЭНКИ КЦ Восточный
ЦЭНКИ КЦ Восточный

Олег Артемьев МКС
Олег Артемьев МКС









Циклон 2 ракета
Циклон 2 ракета





Ракета р-7 чертеж
Ракета р-7 чертеж

С-8 Нурс характеристики
С-8 Нурс характеристики



Ложемент ЭВА
Ложемент ЭВА



Ложементы для труб
Ложементы для труб

















Км-1м катапультное кресло
Км-1м катапультное кресло







Корпус ракеты
Корпус ракеты



Головной обтекатель Ангара а5
Головной обтекатель Ангара а5



Кабина Восток 1
Кабина Восток 1





Ракета Протон м
Ракета Протон м

Сетчатые композитные конструкции

Фото: Сетчатые композитные конструкции




Стапель ms105
Стапель ms105

Кресло Казбек ум
Кресло Казбек ум

Прогресс МС-25
Прогресс МС-25







Ракеты Роскосмоса
Ракеты Роскосмоса

Ложемент из силикона
Ложемент из силикона

ФРАГМЕНТЫ ракеты
ФРАГМЕНТЫ ракеты

Макет ракеты-носителя
Макет ракеты-носителя



Ракетно-Космическая инфраструктура
Ракетно-Космическая инфраструктура

Изолон ложемент
Изолон ложемент





Постройки ракеты
Постройки ракеты





Пена ЭВА ложемент
Пена ЭВА ложемент

Ракетоноситель Союз 2.1.а
Ракетоноситель Союз 2.1.а

Блок Нурс б-8
Блок Нурс б-8

Похожие фото:

Комментарии
Минимальная длина комментария - 50 знаков. комментарии модерируются
Кликните на изображение чтобы обновить код, если он неразборчив