Машинатор » Подвесной агрегат заправки

Подвесной агрегат заправки

26 янв
---
1
0

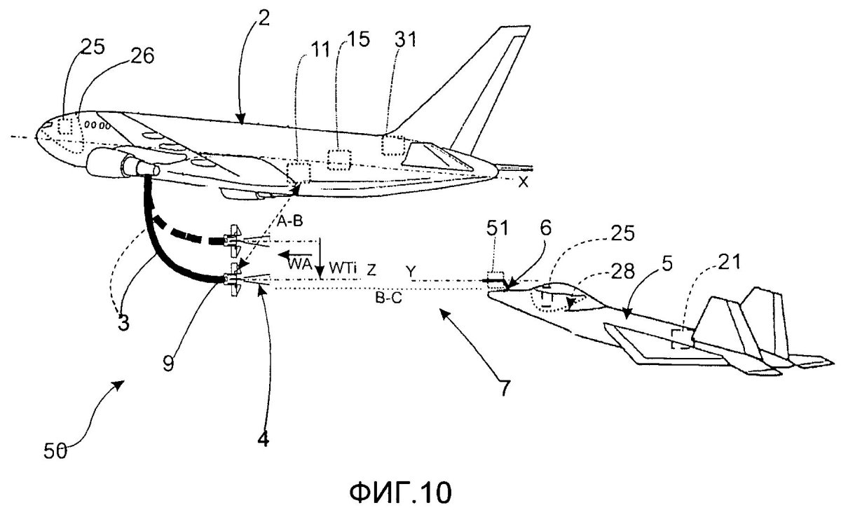
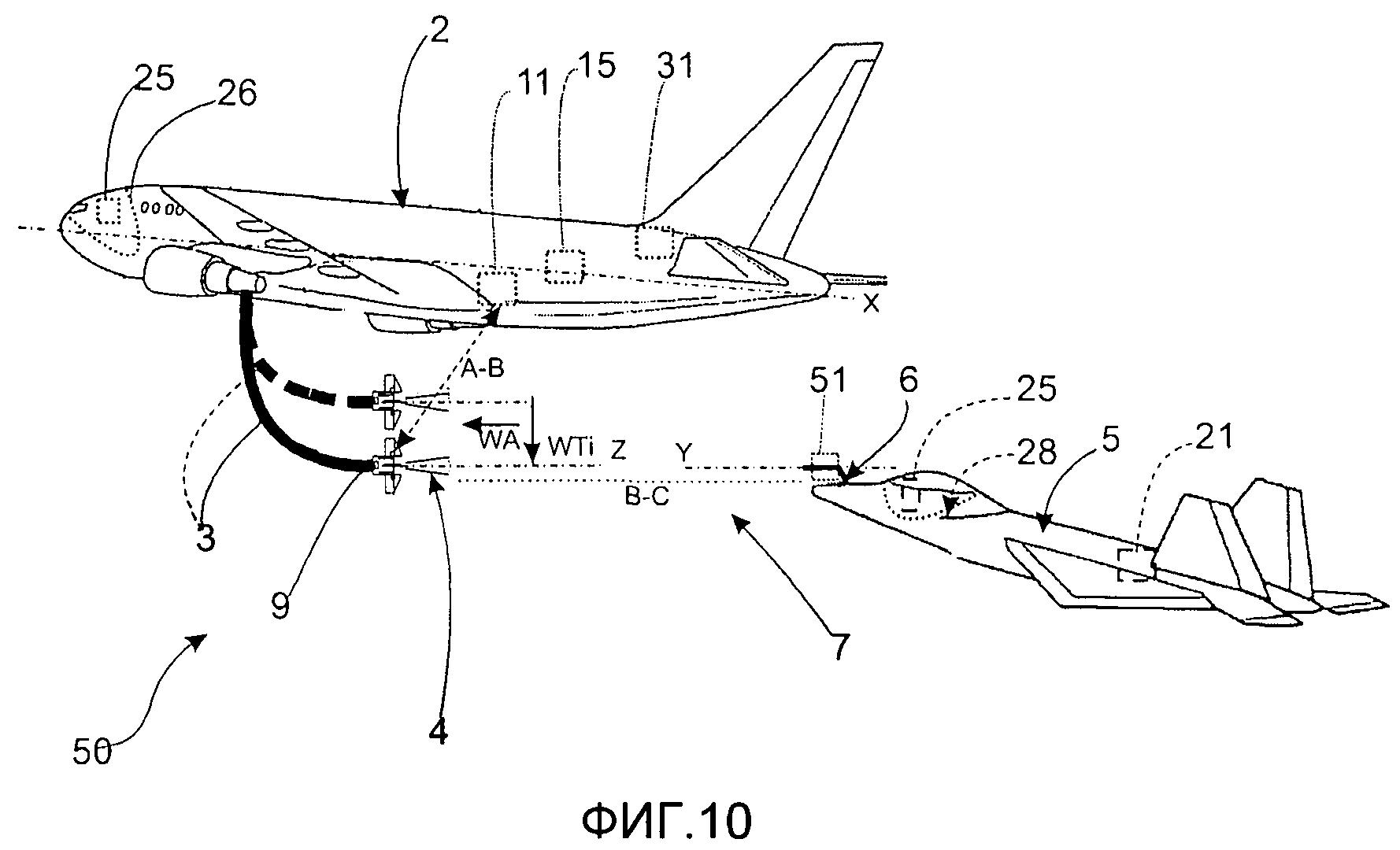
Подвесной агрегат заправки ПАЗ-МК
Подвесной агрегат заправки ПАЗ-МК



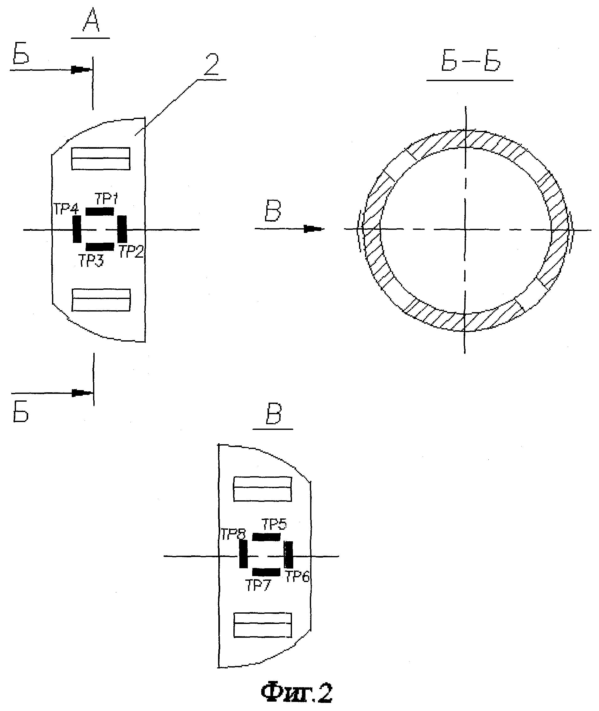
УПАЗ-1м чертежи
УПАЗ-1м чертежи

Ил 78 внутри
Ил 78 внутри

Система дозаправки в воздухе
Система дозаправки в воздухе

Ил-78 дозаправка
Ил-78 дозаправка

Mq 25 беспилотник
Mq 25 беспилотник

Штанга дозаправки
Штанга дозаправки

Mig 29
Mig 29

УПАЗ-1м чертежи
УПАЗ-1м чертежи





Авиард Фастовец
Авиард Фастовец

























Вакуумный демпфер
Вакуумный демпфер







Мини АЗС еврокуб
Мини АЗС еврокуб













Навес АЗС
Навес АЗС





Агрегат заправочный малогабаритный МЗА-3

Фото: Агрегат заправочный малогабаритный МЗА-3






Унифицированный подвесной агрегат заправки
Унифицированный подвесной агрегат заправки













Станция топливозаправочная мобильная Benza
Станция топливозаправочная мобильная Benza

Лифтовая монтажная петля hap 2.5
Лифтовая монтажная петля hap 2.5



КАЗС 60м3
КАЗС 60м3

Навес АЗС
Навес АЗС

Компрессорная Заправочная станция ti 330
Компрессорная Заправочная станция ti 330



Контейнер хранения топлива КХТ
Контейнер хранения топлива КХТ





Резервуары для нефтепродуктов на АЗС

Фото: Резервуары для нефтепродуктов на АЗС









Похожие фото:

Комментарии
Минимальная длина комментария - 50 знаков. комментарии модерируются
Кликните на изображение чтобы обновить код, если он неразборчив