Машинатор » Подъемная крыша для кемпера своими руками

Подъемная крыша для кемпера своими руками

23 фев
---
1
0

Автодом с подъемной крышей
Автодом с подъемной крышей

Автодом с подъемной крышей
Автодом с подъемной крышей

Автодом с подъемной крышей
Автодом с подъемной крышей

Volkswagen t4 с подъемной крышей
Volkswagen t4 с подъемной крышей



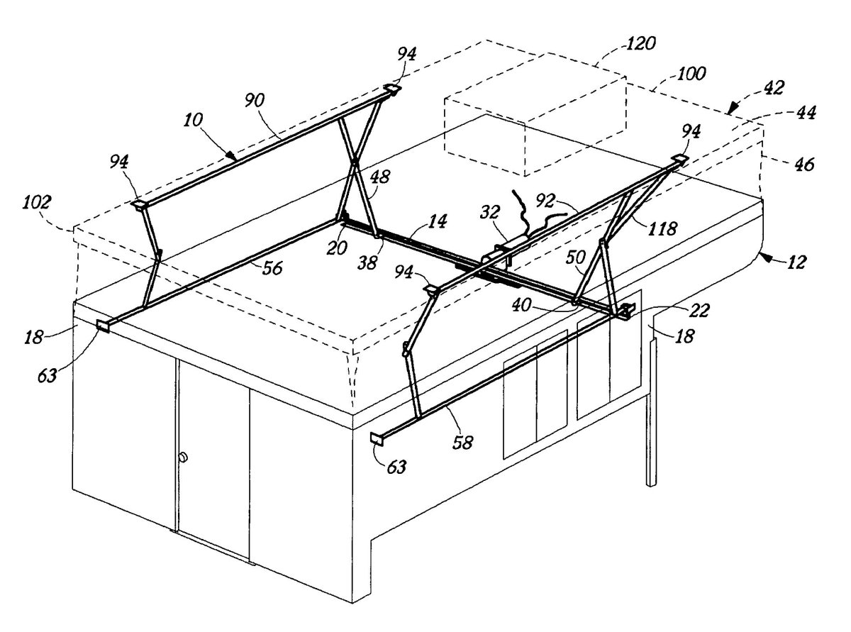
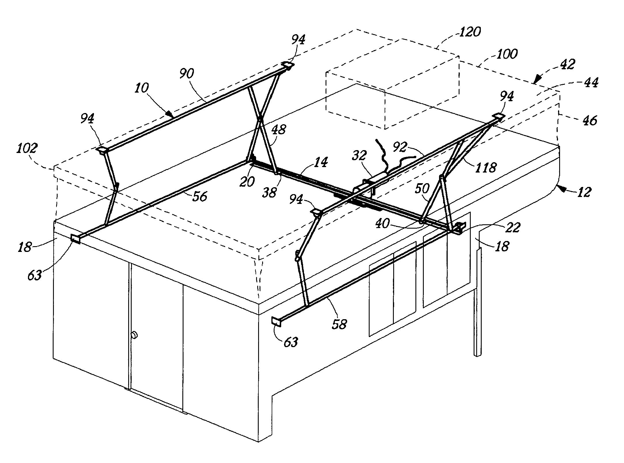
Механизм подъемной крыши т4
Механизм подъемной крыши т4

Прицеп-кемпер Polar 730
Прицеп-кемпер Polar 730

Mitsubishi Delica палатка
Mitsubishi Delica палатка

Подъемная крыша на т4
Подъемная крыша на т4



Форд Транзит с подъемной крышей

Фото: Форд Транзит с подъемной крышей


Подъемный механизм для крыши кемпера
Подъемный механизм для крыши кемпера

Автодом с подъемной крышей
Автодом с подъемной крышей

Руф кемпер
Руф кемпер

Жилой модуль Lance 845 Camper
Жилой модуль Lance 845 Camper



VW t3 подъемная крыша
VW t3 подъемная крыша

Автодом Pop up Camper
Автодом Pop up Camper

Подъемная крыша
Подъемная крыша

Подъемная крыша

Фото: Подъемная крыша






УАЗ Буханка с подъемной крышей
УАЗ Буханка с подъемной крышей







Механизм подъема крыши кемпера
Механизм подъема крыши кемпера



Автодом Bedford
Автодом Bedford



Автодом с подъемной крышей
Автодом с подъемной крышей

Volkswagen t4 с подъемной крышей
Volkswagen t4 с подъемной крышей

УАЗ Байкал автодом
УАЗ Байкал автодом



Механизм подъема крыши кемпера
Механизм подъема крыши кемпера

Механизм подъема крыши кемпера
Механизм подъема крыши кемпера

Кемпер раскладной автодом
Кемпер раскладной автодом



Прицеп-палатка Camper time 750
Прицеп-палатка Camper time 750

Прицеп с подъемной крышей

Фото: Прицеп с подъемной крышей








Подъемная крыша на т4
Подъемная крыша на т4



Прицеп-кемпер Polar 730
Прицеп-кемпер Polar 730





Жилой модуль Лемберг
Жилой модуль Лемберг



Прицеп кемпер с подъемной крышей
Прицеп кемпер с подъемной крышей













Складной прицеп Europa Camper Sunliner
Складной прицеп Europa Camper Sunliner

Маркиза риф УАЗ Буханка
Маркиза риф УАЗ Буханка

Жилой модуль на пикап Helix 1500

Фото: Жилой модуль на пикап Helix 1500


Прицеп автодом с подъемной крышей
Прицеп автодом с подъемной крышей

Прицеп с подъемной крышей
Прицеп с подъемной крышей

Складная кровать в кемпер
Складная кровать в кемпер







Подъемная крыша на т4
Подъемная крыша на т4

Подъемный механизм для крыши кемпера
Подъемный механизм для крыши кемпера

Похожие фото:

Комментарии
Минимальная длина комментария - 50 знаков. комментарии модерируются
Кликните на изображение чтобы обновить код, если он неразборчив