Машинатор » Перепасовка троса на кране

Перепасовка троса на кране

23 фев
---
1
0

Схема грузоподъемного каната мостового крана
Схема грузоподъемного каната мостового крана



Запасовка каната на автокране
Запасовка каната на автокране

Запасовка каната на мостовом кране 10т
Запасовка каната на мостовом кране 10т

Смазка канатов грузоподъемных кранов
Смазка канатов грузоподъемных кранов

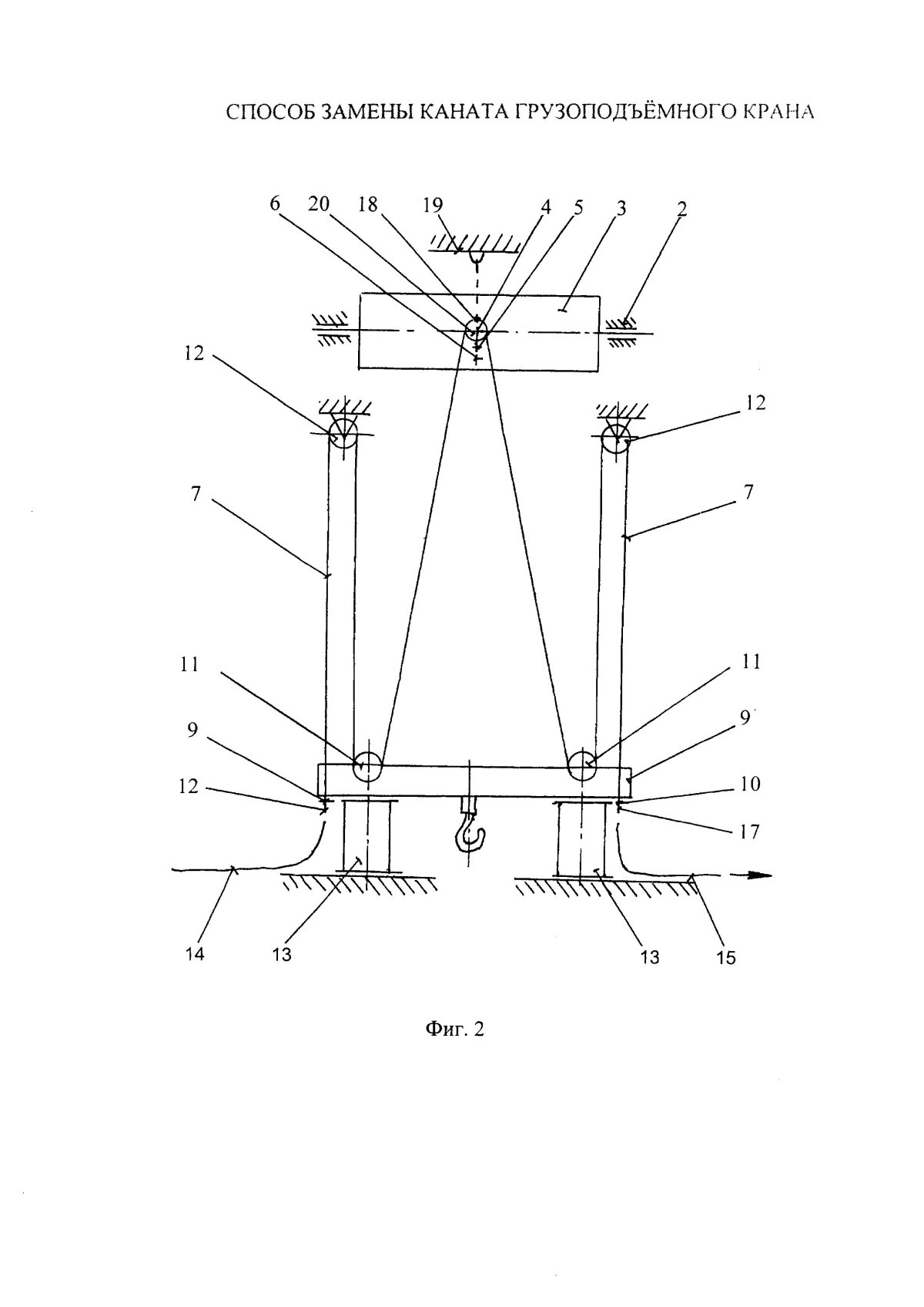
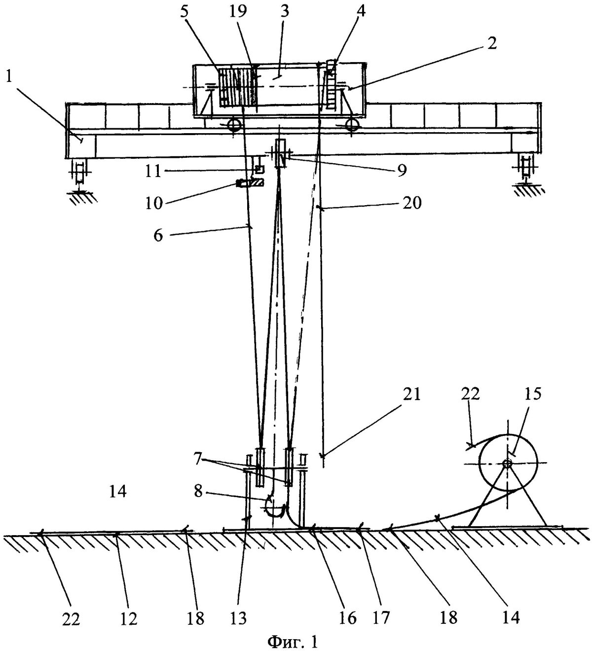
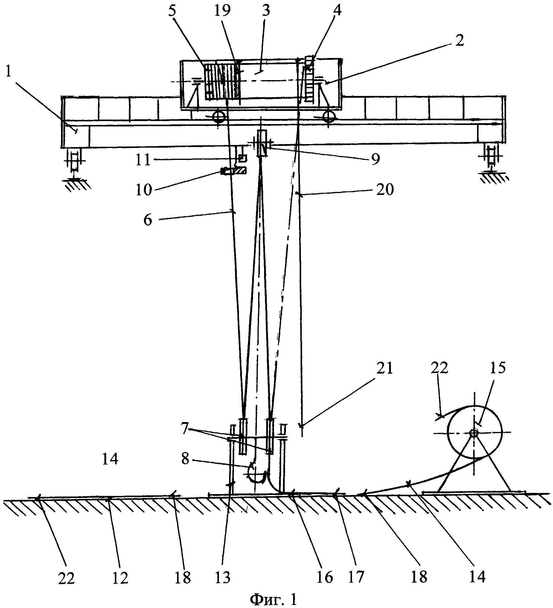
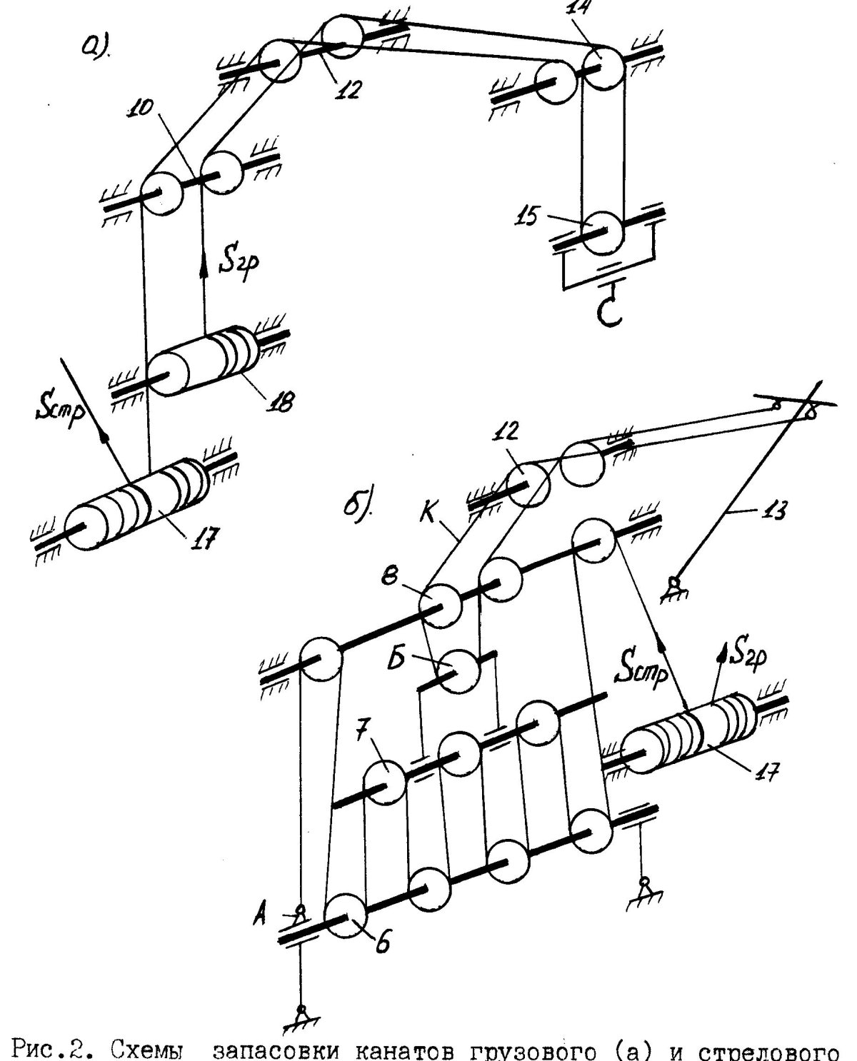
Схема запасовки каната мостового крана 15 тонн
Схема запасовки каната мостового крана 15 тонн

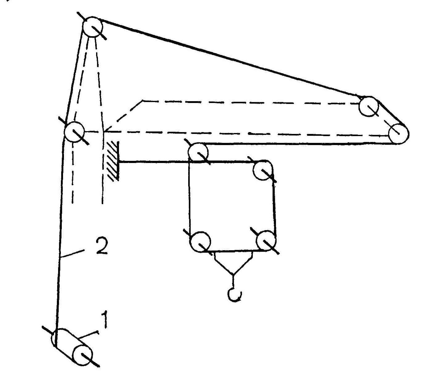
Схема запасовки стрелового каната КБ 403
Схема запасовки стрелового каната КБ 403

Запасовка троса Гак лебёдки
Запасовка троса Гак лебёдки

Гак Юника 370
Гак Юника 370

Запасовка подъемного каната ЭКГ 10
Запасовка подъемного каната ЭКГ 10

Перепасовка канатов что это

Фото: Перепасовка канатов что это






Грузовая лебедка муфта кран 16 тонн
Грузовая лебедка муфта кран 16 тонн

Запасовка грузового каната КБ 408
Запасовка грузового каната КБ 408





Канаты мостового крана
Канаты мостового крана

Канат КС-45717.61.140
Канат КС-45717.61.140

Металлические канаты для грузоподъемных

Фото: Металлические канаты для грузоподъемных


Запасовка канатов КБ 405
Запасовка канатов КБ 405

Схема запасовки канатов крана
Схема запасовки канатов крана



Крепление стального троса к барабану лебедки
Крепление стального троса к барабану лебедки



Схема запасовки канатов крана
Схема запасовки канатов крана

Автоматическая смазка канатов
Автоматическая смазка канатов





Гак для КМУ Юник 500
Гак для КМУ Юник 500





Крюк Тадано 300
Крюк Тадано 300

Коуш с зажимом для троса
Коуш с зажимом для троса



Гак Юник 330
Гак Юник 330



Смазка для канатов лифтов
Смазка для канатов лифтов



Зажим канатный клиновой s-421

Фото: Зажим канатный клиновой s-421








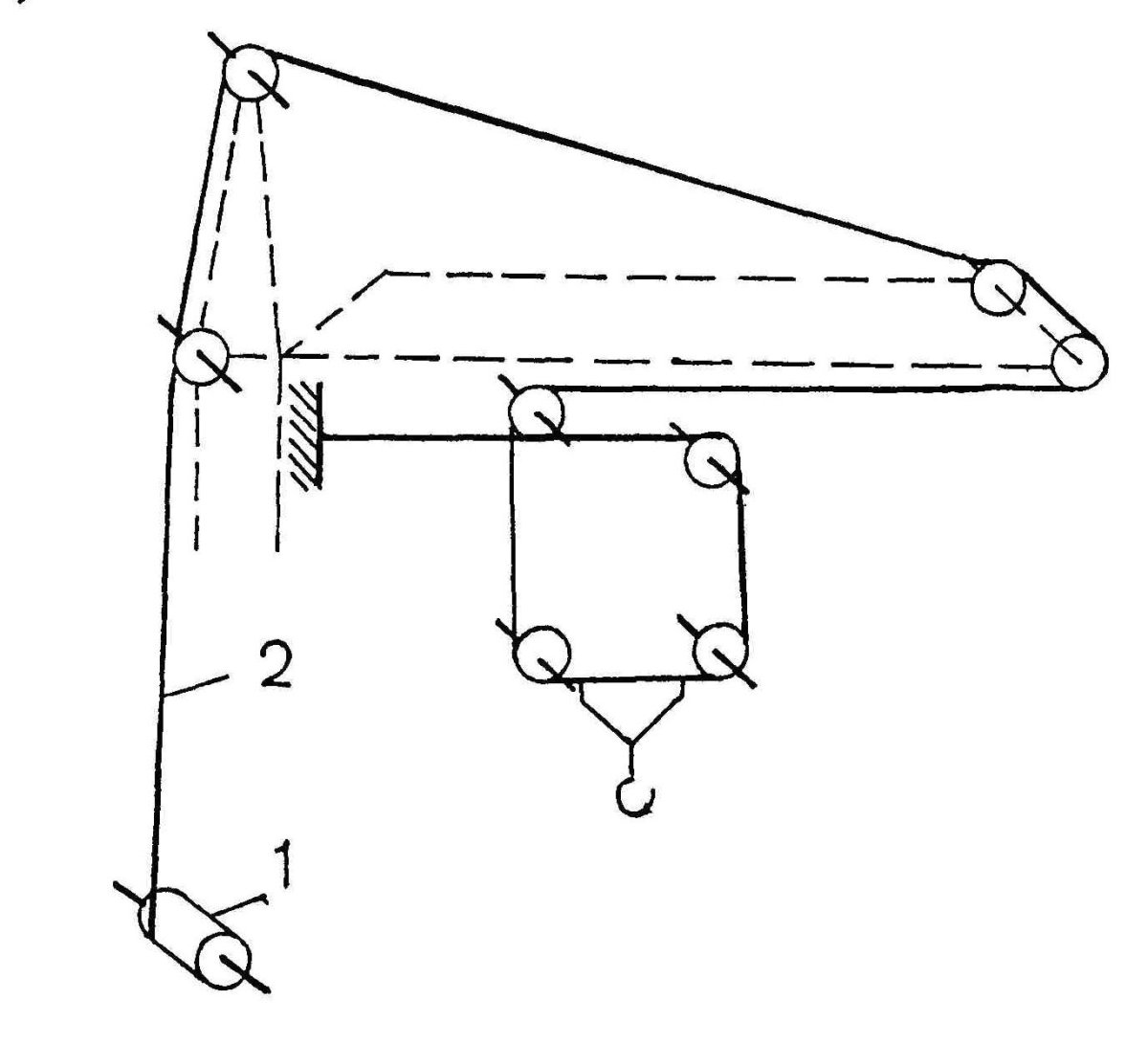
Схема запасовки каната мостового крана 3 кратный полиспаст
Схема запасовки каната мостового крана 3 кратный полиспаст

Трос для КМУ 10 мм
Трос для КМУ 10 мм

Апр-80 мачта двухсекционная
Апр-80 мачта двухсекционная

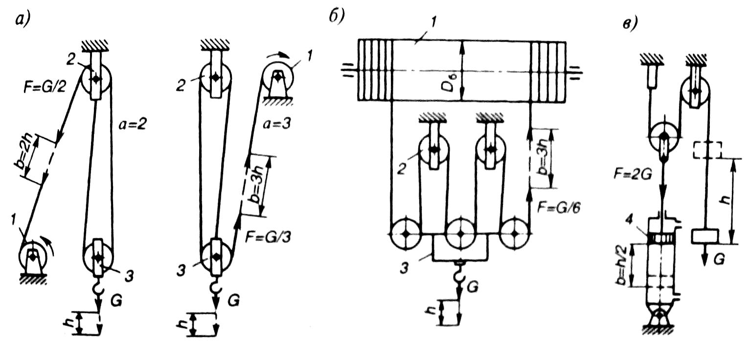
Система блоков полиспаст
Система блоков полиспаст

Либхер 1250
Либхер 1250







Система блоков полиспаст
Система блоков полиспаст

Натяжное устройство лифта
Натяжное устройство лифта



Концевой выключатель для тельфера 3.2т
Концевой выключатель для тельфера 3.2т

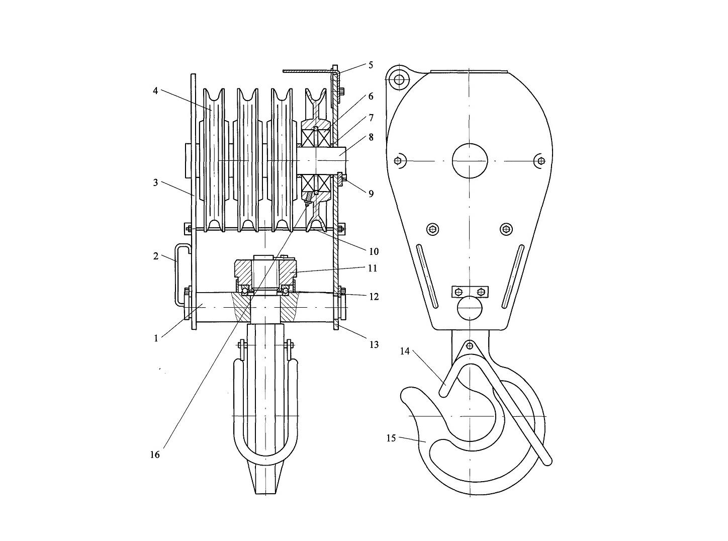
Крюковая подвеска 12.5т 3 блока
Крюковая подвеска 12.5т 3 блока



Козловой кран 100т
Козловой кран 100т

Трос талреп коуш зажим схема
Трос талреп коуш зажим схема

Анкер тросовый к300

Фото: Анкер тросовый к300





Похожие фото:

Комментарии
Минимальная длина комментария - 50 знаков. комментарии модерируются
Кликните на изображение чтобы обновить код, если он неразборчив