Машинатор » Лонжеронная рама

Лонжеронная рама

03 мар
---
2
0





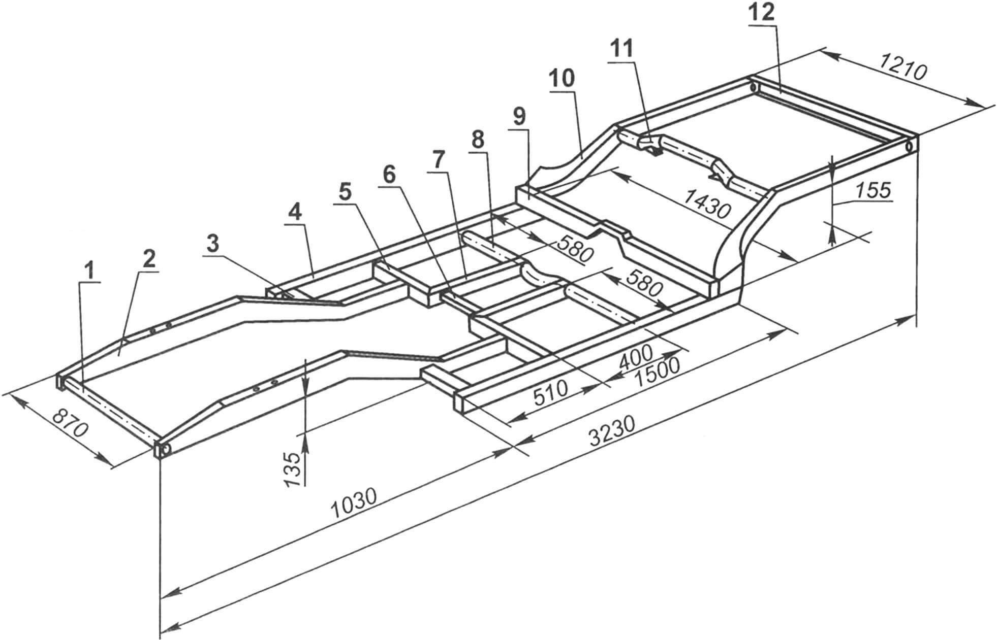
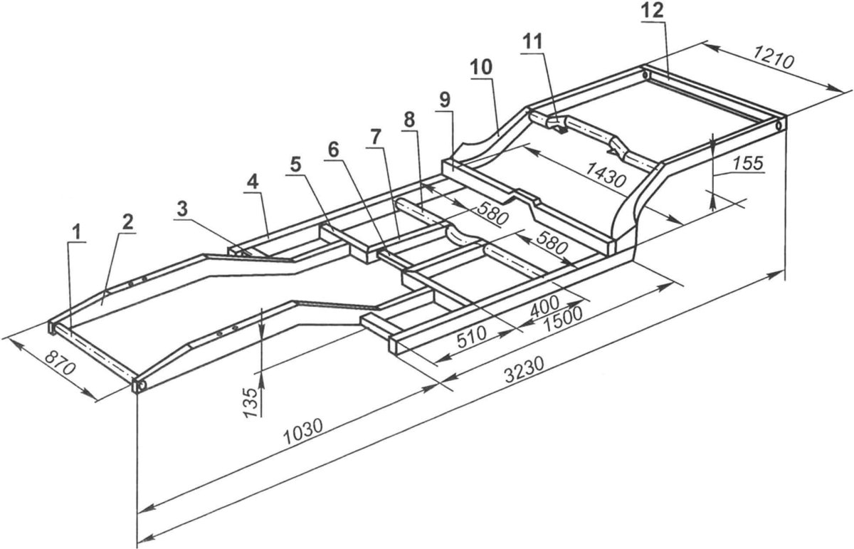
Вильчато хребтовая рама
Вильчато хребтовая рама

Chevrolet Tahoe рама
Chevrolet Tahoe рама

Рама Форд ф 350
Рама Форд ф 350



Рама на ниву 2121
Рама на ниву 2121



Хребтовая рама автомобиля схема
Хребтовая рама автомобиля схема





Фотография рамы Тойота ЛН 130
Фотография рамы Тойота ЛН 130

Лонжерон Лада Калина 1 хэтчбек
Лонжерон Лада Калина 1 хэтчбек





Лонжерон автомобиля ВАЗ 2112
Лонжерон автомобиля ВАЗ 2112

Рама КАМАЗ 4310
Рама КАМАЗ 4310









Интегрированная рама Паджеро 4
Интегрированная рама Паджеро 4

Suzuki Grand Vitara интегрированная рама
Suzuki Grand Vitara интегрированная рама

Рама для Нивы 2121 чертеж
Рама для Нивы 2121 чертеж







Рама кузова ленд Крузер 200
Рама кузова ленд Крузер 200







Рама ГАЗ 3302 2800010
Рама ГАЗ 3302 2800010

Лонжерон ЮМЗ 8270-2801014б
Лонжерон ЮМЗ 8270-2801014б





Ширина рамы ГАЗ 66
Ширина рамы ГАЗ 66







Рама КАМАЗ 5320

Фото: Рама КАМАЗ 5320




Рама ГАЗ 67
Рама ГАЗ 67









Поперечина рамы ГАЗ 53
Поперечина рамы ГАЗ 53

Лонжерон МТЗ 1221
Лонжерон МТЗ 1221

Кузова Шкода Суперб
Кузова Шкода Суперб



Маверик багги рама
Маверик багги рама

Рама ГАЗ 3307 схема
Рама ГАЗ 3307 схема



Рама ГАЗ 64
Рама ГАЗ 64



Рама ГАЗ м1
Рама ГАЗ м1

Кузов Мерседес Гелендваген
Кузов Мерседес Гелендваген





Шасси прицепа al-ko

Фото: Шасси прицепа al-ko










Рама 65115-2800010 КАМАЗ
Рама 65115-2800010 КАМАЗ


Похожие фото:

Комментарии
Минимальная длина комментария - 50 знаков. комментарии модерируются
Кликните на изображение чтобы обновить код, если он неразборчив