Машинатор » Принцип действия ремня безопасности

Принцип действия ремня безопасности

08 мар
---
1
0



Двухточечный ремень безопасности схема
Двухточечный ремень безопасности схема





Схема замка ремня безопасности на ВАЗ 2109
Схема замка ремня безопасности на ВАЗ 2109

Преднатяжитель ремня безопасности БМВ е39
Преднатяжитель ремня безопасности БМВ е39

Ширина ремня безопасности в машине
Ширина ремня безопасности в машине

Фиксатор ремня безопасности ВАЗ 2106
Фиксатор ремня безопасности ВАЗ 2106

Устройство инерционной катушки ремня безопасности
Устройство инерционной катушки ремня безопасности





Ремень безопасности УАЗ 3160
Ремень безопасности УАЗ 3160

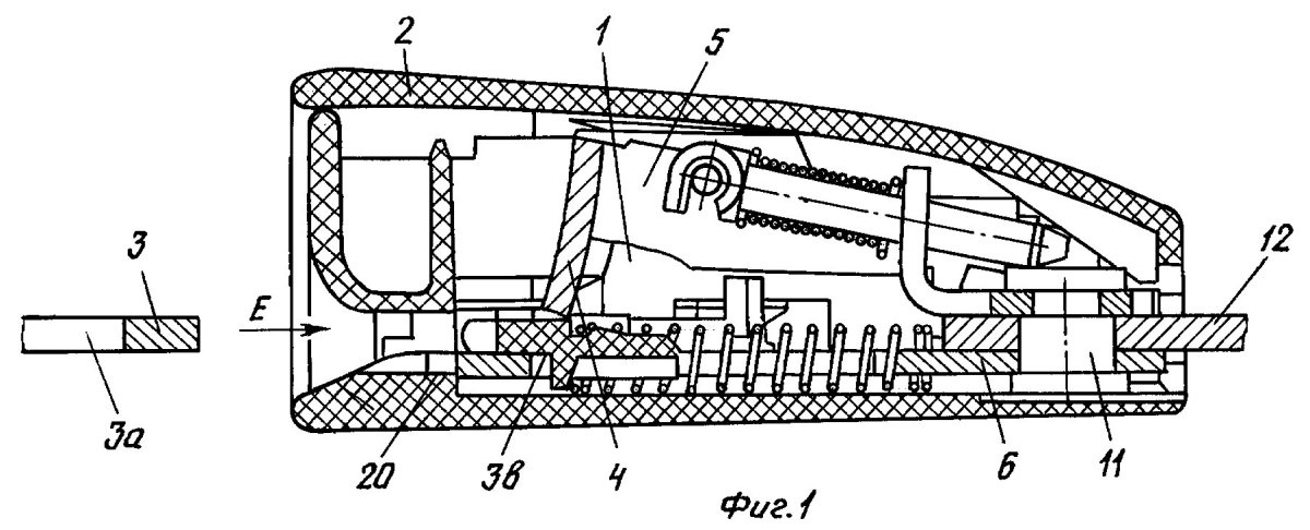
Конструкция ремня безопасности
Конструкция ремня безопасности

Инерционная катушка ремня безопасности
Инерционная катушка ремня безопасности



Крепление катушки ремня безопасности ВАЗ 2111
Крепление катушки ремня безопасности ВАЗ 2111

Нильс Болин ремень безопасности
Нильс Болин ремень безопасности

Тойота рав 4 средний ремень безопасности сзади
Тойота рав 4 средний ремень безопасности сзади

Устройство замка ремня безопасности автомобиля схема
Устройство замка ремня безопасности автомобиля схема

Golf 3 ремни безопасности схема

Фото: Golf 3 ремни безопасности схема


4238-45 Катушка ремня безопасности
4238-45 Катушка ремня безопасности

Название элементов ремня безопасности
Название элементов ремня безопасности

Трехточечный ремень безопасности Вольво
Трехточечный ремень безопасности Вольво

ПАЗ 423 защелки ремня безопасности
ПАЗ 423 защелки ремня безопасности

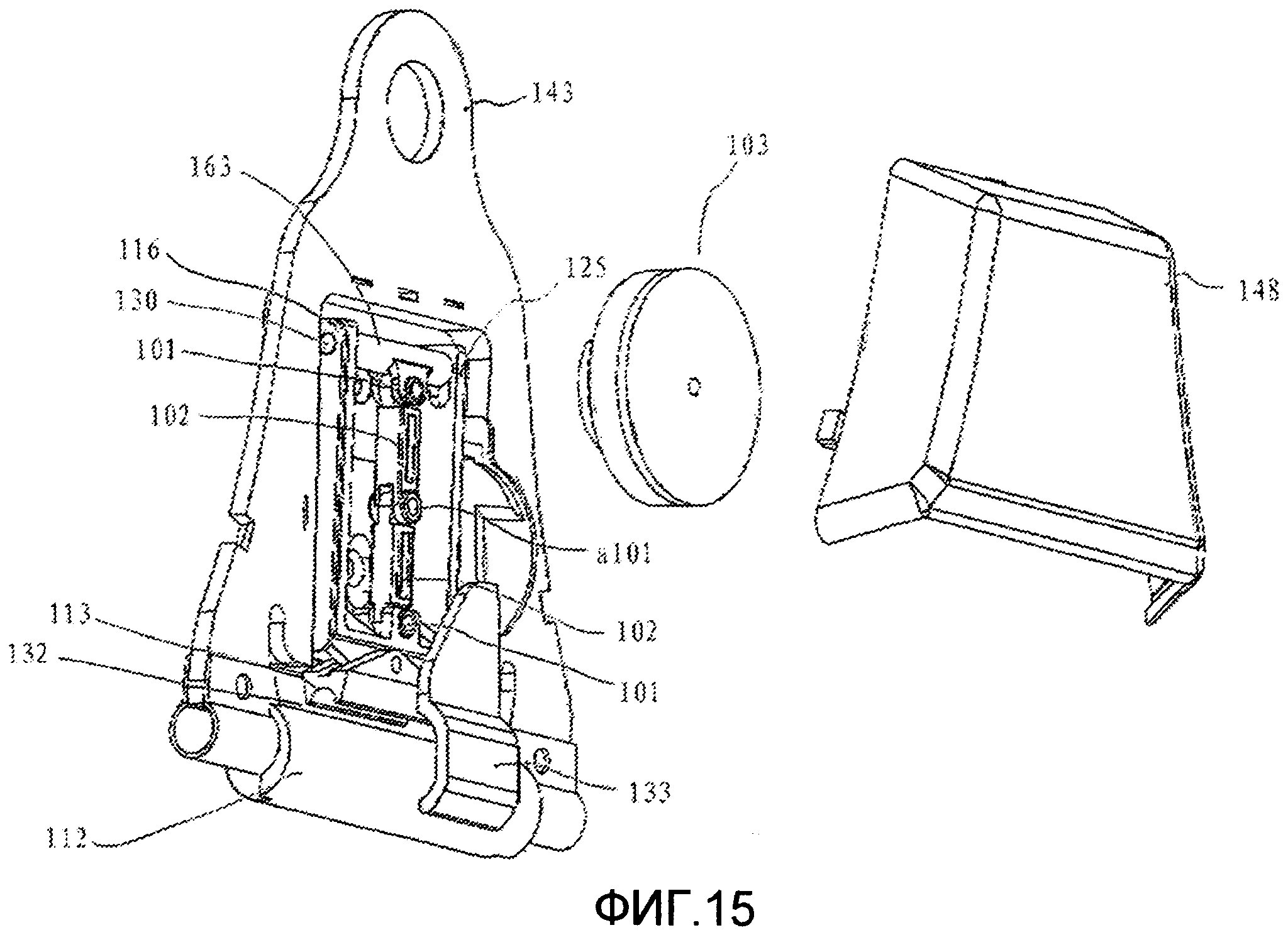
Ремень безопасности схема устройства
Ремень безопасности схема устройства



Механизм ремня безопасности ВАЗ 2107
Механизм ремня безопасности ВАЗ 2107

Накладка ремня безопасности Hyundai Solaris
Накладка ремня безопасности Hyundai Solaris

Разъём подушки безопасности Киа Рио
Разъём подушки безопасности Киа Рио

Замок ремня безопасности ВАЗ 2110 С датчиком
Замок ремня безопасности ВАЗ 2110 С датчиком

Шарик в ремне безопасности
Шарик в ремне безопасности

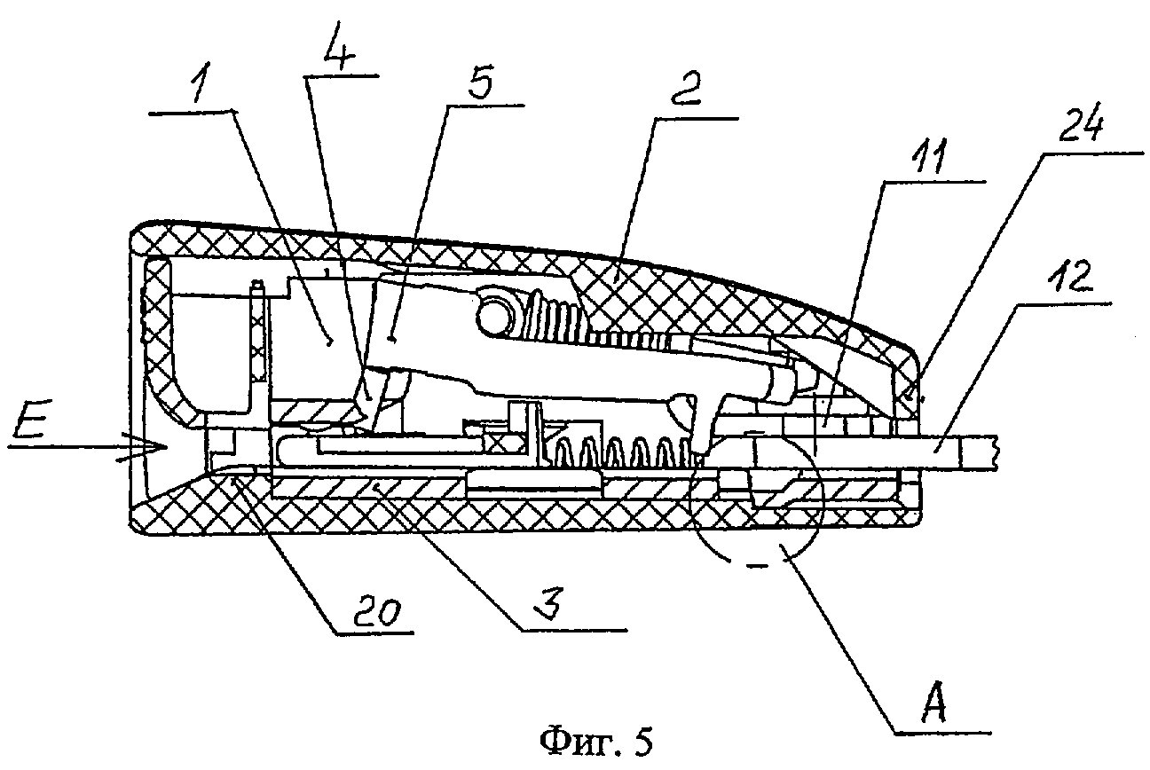
Механизм ремня безопасности
Механизм ремня безопасности

Мифы о ремнях безопасности
Мифы о ремнях безопасности



Механизм замка ремня безопасности ВАЗ 2110
Механизм замка ремня безопасности ВАЗ 2110



Держатель ремня безопасности Kia Seed
Держатель ремня безопасности Kia Seed

Лента ремня безопасности
Лента ремня безопасности

Удлинитель ремня безопасности Hyundai i20
Удлинитель ремня безопасности Hyundai i20

Порванный ремень безопасности

Фото: Порванный ремень безопасности


Ремни безопасности Лада Веста
Ремни безопасности Лада Веста

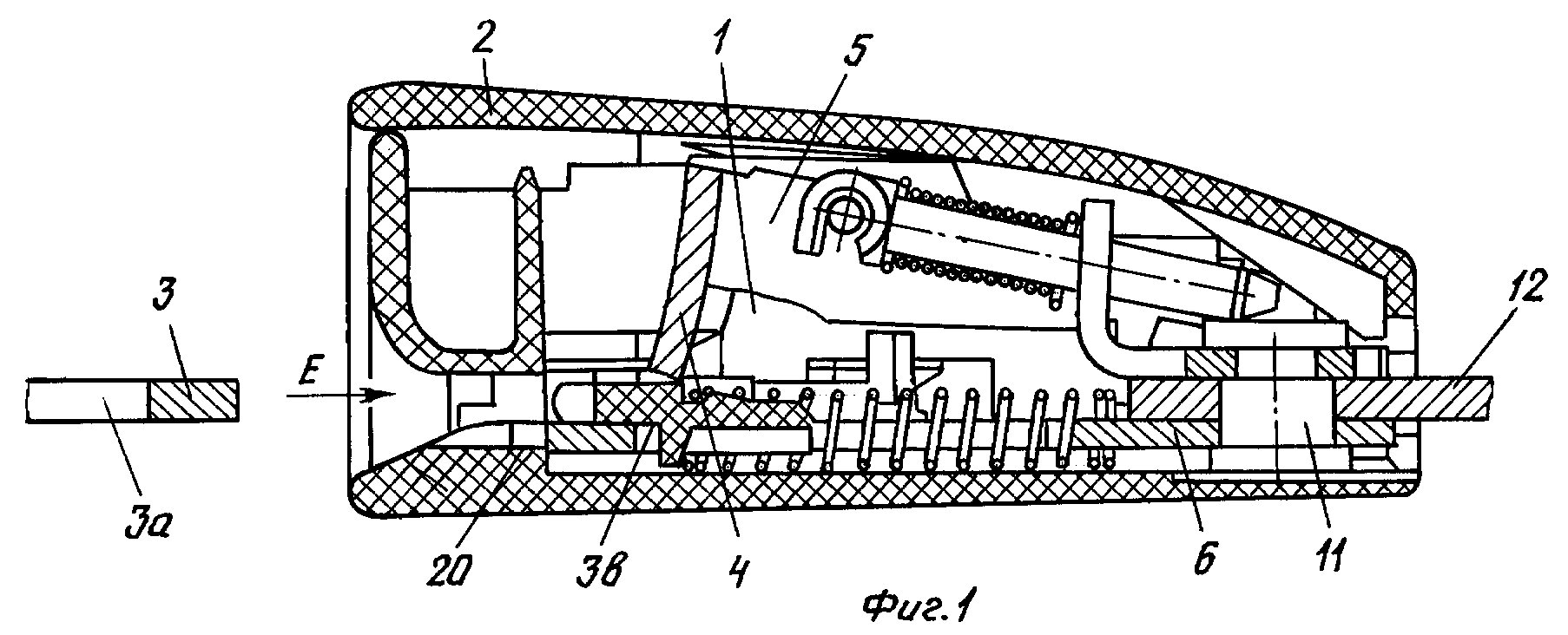
Устройство ремня безопасности
Устройство ремня безопасности

Seat Belt
Seat Belt

Wear a Seat Belt
Wear a Seat Belt

Трехточечные ремни безопасности
Трехточечные ремни безопасности

Лада Приора ремни безопасности
Лада Приора ремни безопасности

Ремень безопасности не сматывается
Ремень безопасности не сматывается

Трехточечный ремень безопасности
Трехточечный ремень безопасности

Схема катушки ремня безопасности
Схема катушки ремня безопасности



Элементы ремня безопасности в автомобиле
Элементы ремня безопасности в автомобиле







Замок ремня безопасности КАМАЗ 6520
Замок ремня безопасности КАМАЗ 6520

Защелка ремня безопасности Mitsubishi Lancer
Защелка ремня безопасности Mitsubishi Lancer



Ремни безопасности сзади Mazda 6 GH
Ремни безопасности сзади Mazda 6 GH

Болт крепления ремня безопасности Рено Дастер
Болт крепления ремня безопасности Рено Дастер



Замок ремня безопасности Фольксваген поло
Замок ремня безопасности Фольксваген поло

Нильс Болин 1959
Нильс Болин 1959

Пристегните ремни безопасности
Пристегните ремни безопасности

Схема ремня безопасности автомобиля
Схема ремня безопасности автомобиля

Замок ремня безопасности 888704l000wk
Замок ремня безопасности 888704l000wk

Пассат б5 ремень безопасности
Пассат б5 ремень безопасности

Ремень безопасности в авто
Ремень безопасности в авто



Ремкомплект ремня безопасности
Ремкомплект ремня безопасности



Инерционный ремень безопасности устройство
Инерционный ремень безопасности устройство



Датчик подушки безопасности Приора 2
Датчик подушки безопасности Приора 2

Ремень безопасности 2109 пружина
Ремень безопасности 2109 пружина

Механизм ремня безопасности ВАЗ 2114
Механизм ремня безопасности ВАЗ 2114

Надрыв ремня безопасности
Надрыв ремня безопасности

Ремень из ремня безопасности
Ремень из ремня безопасности

Транзит 1994 ремни безопасности сзади
Транзит 1994 ремни безопасности сзади

Teana l33 разъем преднатяжителя ремня безопасности
Teana l33 разъем преднатяжителя ремня безопасности

Верхняя анкерная скоба ремня безопасности
Верхняя анкерная скоба ремня безопасности


Похожие фото:

Комментарии
Минимальная длина комментария - 50 знаков. комментарии модерируются
Кликните на изображение чтобы обновить код, если он неразборчив