Машинатор » Рулевое управление уаз буханка с гидроусилителем устройство

Рулевое управление уаз буханка с гидроусилителем устройство

26 мар
---
1
0



Рулевой механизм УАЗ 452 Буханка
Рулевой механизм УАЗ 452 Буханка



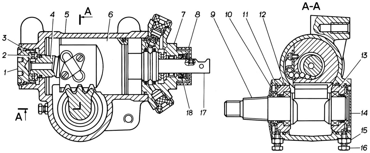
Вал рулевого редуктора УАЗ 469
Вал рулевого редуктора УАЗ 469

Рулевое управление УАЗ 3151
Рулевое управление УАЗ 3151

УАЗ 31519 рулевое управление
УАЗ 31519 рулевое управление

Схема рулевого вала УАЗ 469
Схема рулевого вала УАЗ 469

Рулевая тяга УАЗ 3151
Рулевая тяга УАЗ 3151

Рулевая колонка УАЗ 452
Рулевая колонка УАЗ 452



Схема рулевое колесо на УАЗ 3151

Фото: Схема рулевое колесо на УАЗ 3151


ШНКФ 453461.136
ШНКФ 453461.136



Схема ГУР УАЗ Буханка 409 двигатель
Схема ГУР УАЗ Буханка 409 двигатель

Рулевой редуктор УАЗ 3151 без ГУРА
Рулевой редуктор УАЗ 3151 без ГУРА



Конструкция рулевой колонки УАЗ 3160
Конструкция рулевой колонки УАЗ 3160

ГУР УАЗ 452 рулевая колонка
ГУР УАЗ 452 рулевая колонка

УАЗ Патриот 2022 рулевое управление
УАЗ Патриот 2022 рулевое управление



Кронштейн насоса ГУРА УАЗ 31519
Кронштейн насоса ГУРА УАЗ 31519

Рулевой редуктор УАЗ 3962
Рулевой редуктор УАЗ 3962

Рулевой механизм УАЗ 452
Рулевой механизм УАЗ 452



Механизм рулевой УАЗ (ШНКФ 453461.136) мелкий шлиц
Механизм рулевой УАЗ (ШНКФ 453461.136) мелкий шлиц





Вал рулевого управления УАЗ-452
Вал рулевого управления УАЗ-452



Крепление рулевой колонки УАЗ 469
Крепление рулевой колонки УАЗ 469

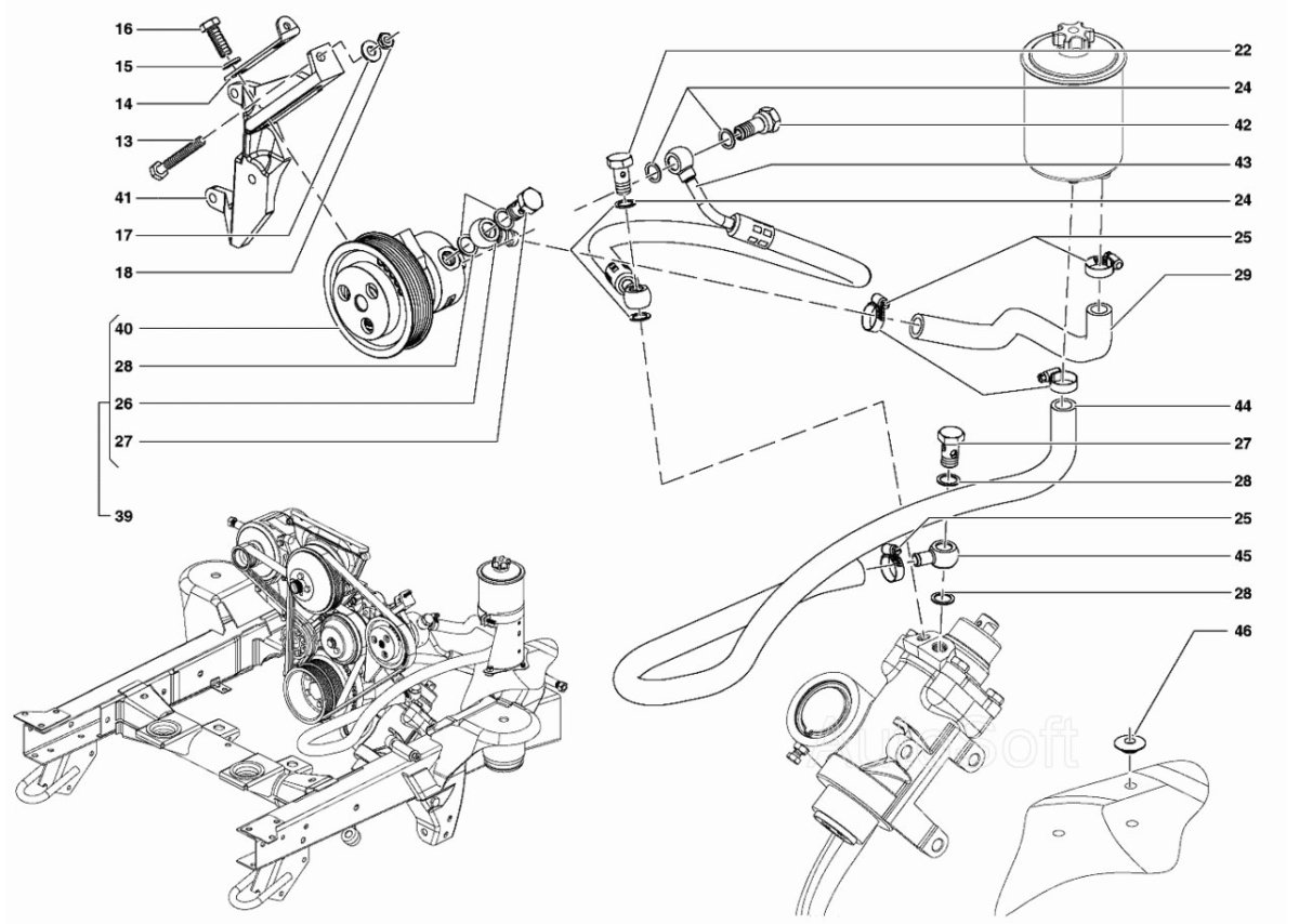
Схема насоса гидроусилителя УАЗ 409
Схема насоса гидроусилителя УАЗ 409





Схема редуктора ГУР Газель
Схема редуктора ГУР Газель



ГУР ГАЗ 66
ГУР ГАЗ 66







ШНКФ 453461.136 ремкомплект

Фото: ШНКФ 453461.136 ремкомплект


Механизм рулевой с ГУР УАЗ 452
Механизм рулевой с ГУР УАЗ 452



Рулевая колонка УАЗ 3741
Рулевая колонка УАЗ 3741

ШНКФ 453461.133
ШНКФ 453461.133

Комплект ГУР на УАЗ Буханка 409
Комплект ГУР на УАЗ Буханка 409

3151-48-3400500-00 Рулевой механизм
3151-48-3400500-00 Рулевой механизм





Рулевая колонка УАЗ Хантер схема
Рулевая колонка УАЗ Хантер схема

Рулевой редуктор УАЗ 3163
Рулевой редуктор УАЗ 3163



Рулевое управление УАЗ 3160
Рулевое управление УАЗ 3160





Рулевая колонка УАЗ Буханка
Рулевая колонка УАЗ Буханка





Рулевой редуктор УАЗ 2206
Рулевой редуктор УАЗ 2206







ШНКФ 453461.133-50
ШНКФ 453461.133-50

Рулевой редуктор УАЗ Хантер 402
Рулевой редуктор УАЗ Хантер 402



Пыльник рулевой колонки УАЗ 452 С ГУРОМ
Пыльник рулевой колонки УАЗ 452 С ГУРОМ





ШНКФ 453461.136-10
ШНКФ 453461.136-10



Колонка рулевая УАЗ 3163
Колонка рулевая УАЗ 3163

Рулевой редуктор УАЗ 452
Рулевой редуктор УАЗ 452





Рулевой механизм УАЗ Патриот 2006
Рулевой механизм УАЗ Патриот 2006



Фильтр ГУР УАЗ Буханка 409 двигатель
Фильтр ГУР УАЗ Буханка 409 двигатель








Похожие фото:

Комментарии
Минимальная длина комментария - 50 знаков. комментарии модерируются
Кликните на изображение чтобы обновить код, если он неразборчив