Машинатор » Пвд в авиации

Пвд в авиации

06 апр
---
1
0

Rockwell-MBB X-31
Rockwell-MBB X-31

ПВД-6м приемник воздушного давления
ПВД-6м приемник воздушного давления

Приемник воздушного давления Boeing 737
Приемник воздушного давления Boeing 737

Су24 м ПВД
Су24 м ПВД

Трубка Pitot
Трубка Pitot

Приемник ПВД-6м
Приемник ПВД-6м





ПВД-6м приемник воздушного давления нагреватель
ПВД-6м приемник воздушного давления нагреватель

ППД-1 приемник полного давления
ППД-1 приемник полного давления

ПВД для самолета Hawk 100

Фото: ПВД для самолета Hawk 100


Трубка Пито-Прандтля
Трубка Пито-Прандтля

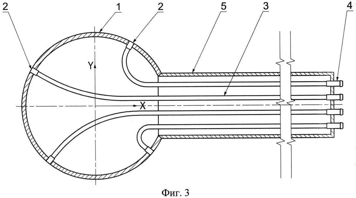
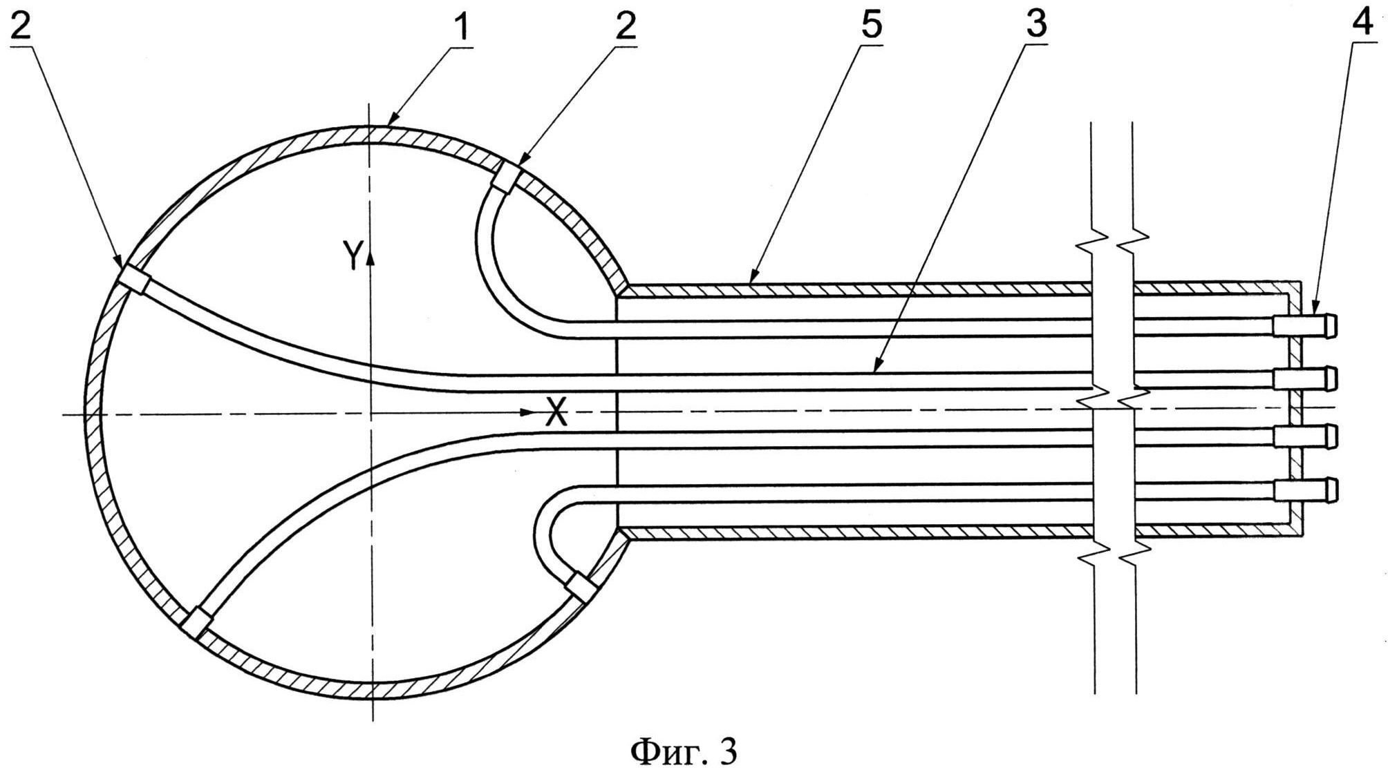
Принципиальная схема приемника воздушного давления
Принципиальная схема приемника воздушного давления



ПВД самолета
ПВД самолета



Датчик статического давления самолета
Датчик статического давления самолета

ПВД для Су-25 1/48
ПВД для Су-25 1/48

Приемники воздушного давления АН-24 ПВД-7
Приемники воздушного давления АН-24 ПВД-7

Памятник самолёт l-29 Дельфин

Фото: Памятник самолёт l-29 Дельфин


ПВД Су-27
ПВД Су-27







ВСУ а320
ВСУ а320

Прибор КПА-ПВД
Прибор КПА-ПВД

ОЛС Су-27
ОЛС Су-27

Приёмник воздушного давления на самолёте
Приёмник воздушного давления на самолёте

Датчик угла атаки 320
Датчик угла атаки 320



Ту 154 Газпромавиа
Ту 154 Газпромавиа



Датчик угла атаки
Датчик угла атаки

АН 26 анероидно мембранные приборы
АН 26 анероидно мембранные приборы

Приёмник воздушного давления на Су-27
Приёмник воздушного давления на Су-27





Цесна 172s
Цесна 172s

Указатель приборной скорости ус-2
Указатель приборной скорости ус-2

И 185 чертежи

Фото: И 185 чертежи


Су-7б
Су-7б



Маяк 80 головка самонаведения ЛОМО
Маяк 80 головка самонаведения ЛОМО

Миг-21 истребитель
Миг-21 истребитель

Истребитель-бомбардировщик Су-34
Истребитель-бомбардировщик Су-34

Датчик угла атаки в самолете
Датчик угла атаки в самолете

Обледенение самолета
Обледенение самолета

Ту-142мр антенна
Ту-142мр антенна

Афар БРЛС Жук
Афар БРЛС Жук

Авия датчик статического давления
Авия датчик статического давления

Saab 340 Cargo
Saab 340 Cargo



Указатель углов атаки и перегрузок УАП-15кр
Указатель углов атаки и перегрузок УАП-15кр



Точеные детали
Точеные детали



Контрольно-проверочная аппаратура КПА-ПВД
Контрольно-проверочная аппаратура КПА-ПВД

Похожие фото:

Комментарии
Минимальная длина комментария - 50 знаков. комментарии модерируются
Кликните на изображение чтобы обновить код, если он неразборчив