Машинатор » Прицепная подметально уборочная машина элеваторного типа

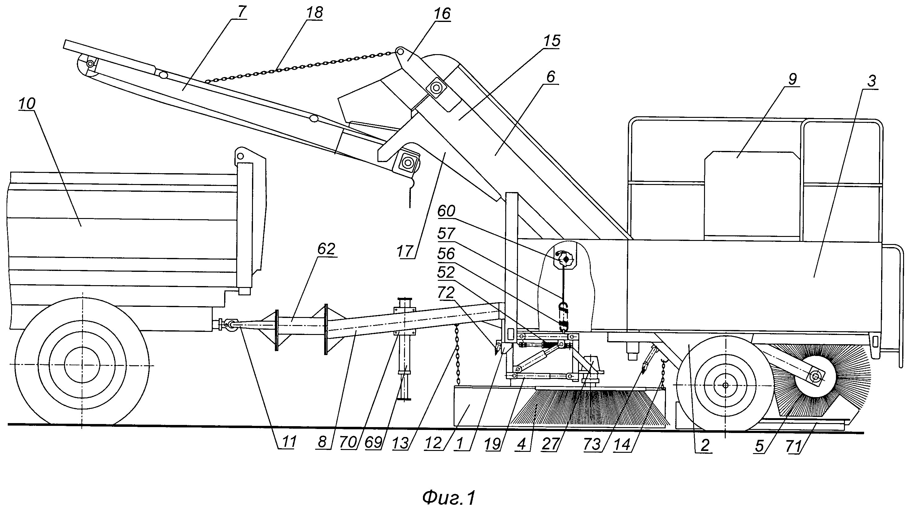
Прицепная подметально уборочная машина элеваторного типа

07 апр
---
1
0



Ceksan HMT 1600
Ceksan HMT 1600











Подметально-уборочная машина пум-001 «магистраль»
Подметально-уборочная машина пум-001 «магистраль»

Прицепная подметально-уборочная машина
Прицепная подметально-уборочная машина



Ceksan

Фото: Ceksan


Прицепная уборочная машина
Прицепная уборочная машина

Scandia подметальная машина
Scandia подметальная машина







Щётка для подметание улицы для КАМАЗА
Щётка для подметание улицы для КАМАЗА



















Подметально-уборочный прицеп «Чистогор»
Подметально-уборочный прицеп «Чистогор»

Вакуумная подметально-уборочная машина прицеп Ceksan HMT 2000
Вакуумная подметально-уборочная машина прицеп Ceksan HMT 2000

Подметально-уборочная машина магистраль
Подметально-уборочная машина магистраль







Прицепная подметально-уборочная машина ТКМ-2000
Прицепная подметально-уборочная машина ТКМ-2000









Пум 77.3 на шасси КАМАЗ
Пум 77.3 на шасси КАМАЗ



Прицепная Пума подметально-уборочная машина

Фото: Прицепная Пума подметально-уборочная машина


Чистодор подметально уборочная машина
Чистодор подметально уборочная машина









ZMC 2.0 подметально уборочная машина
ZMC 2.0 подметально уборочная машина







Прицепные уборочные машины
Прицепные уборочные машины





Подметально уборочная машина ко-304 схема
Подметально уборочная машина ко-304 схема

Вакуумная подметально-уборочная машина ustun-el
Вакуумная подметально-уборочная машина ustun-el

Элеваторная машина
Элеваторная машина










Похожие фото:

Комментарии
Минимальная длина комментария - 50 знаков. комментарии модерируются
Кликните на изображение чтобы обновить код, если он неразборчив