Машинатор » Стояночный тормоз вагона

Стояночный тормоз вагона

18 апр
---
1
0

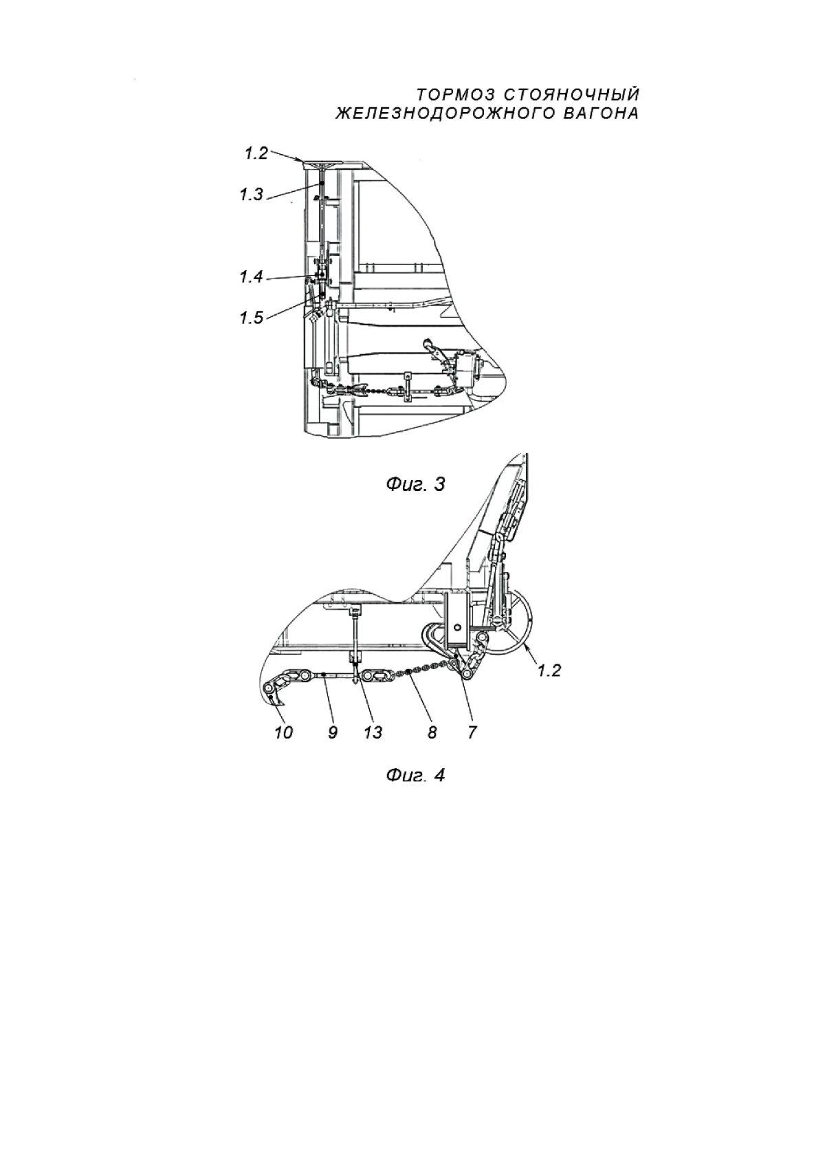
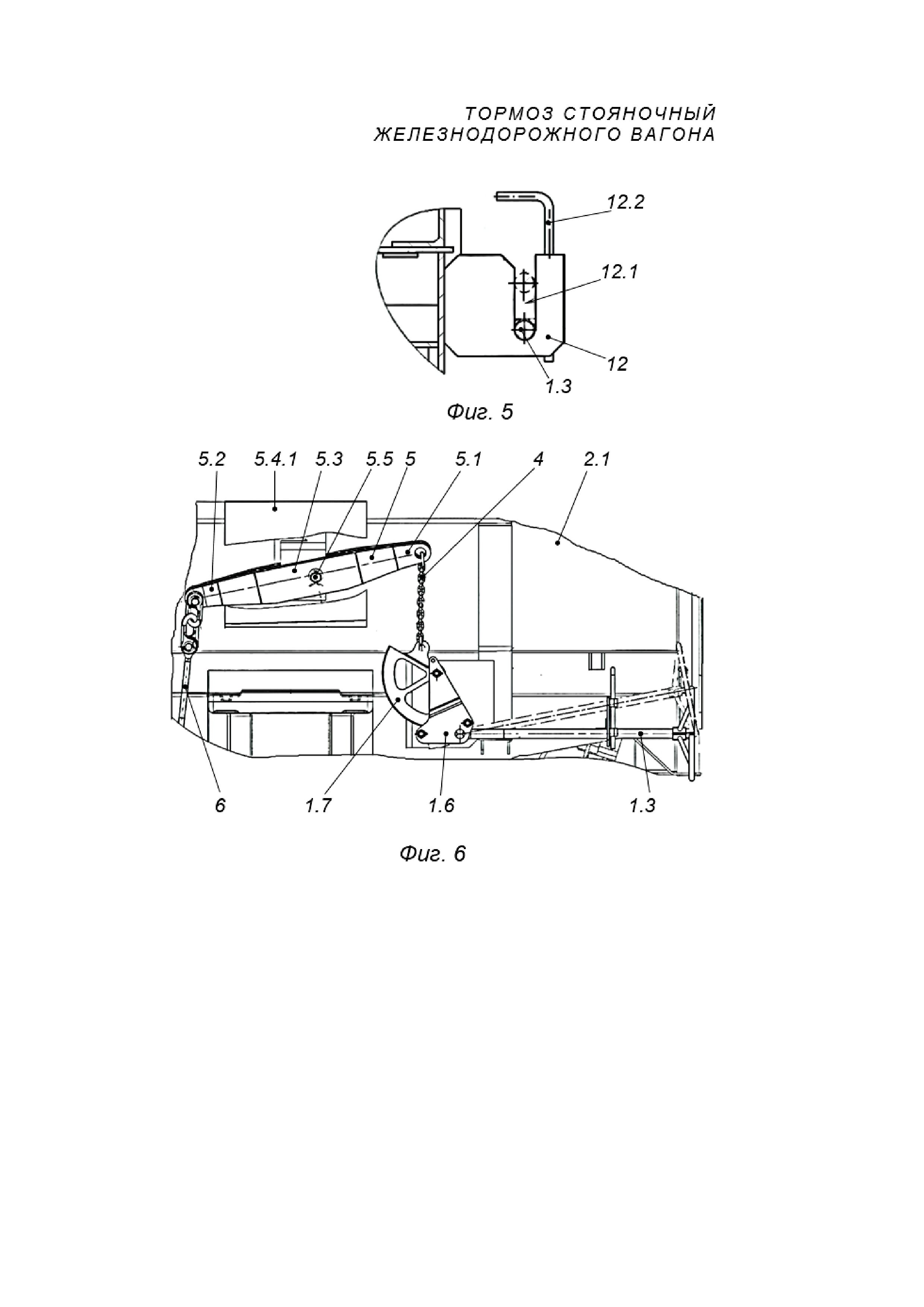
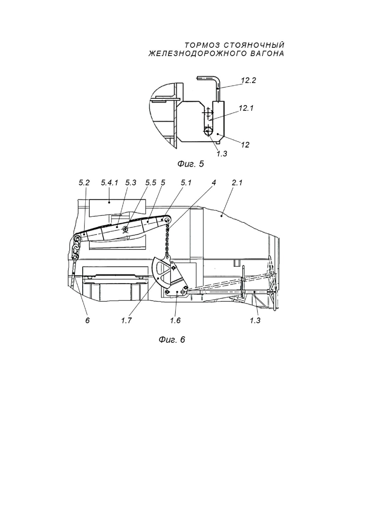
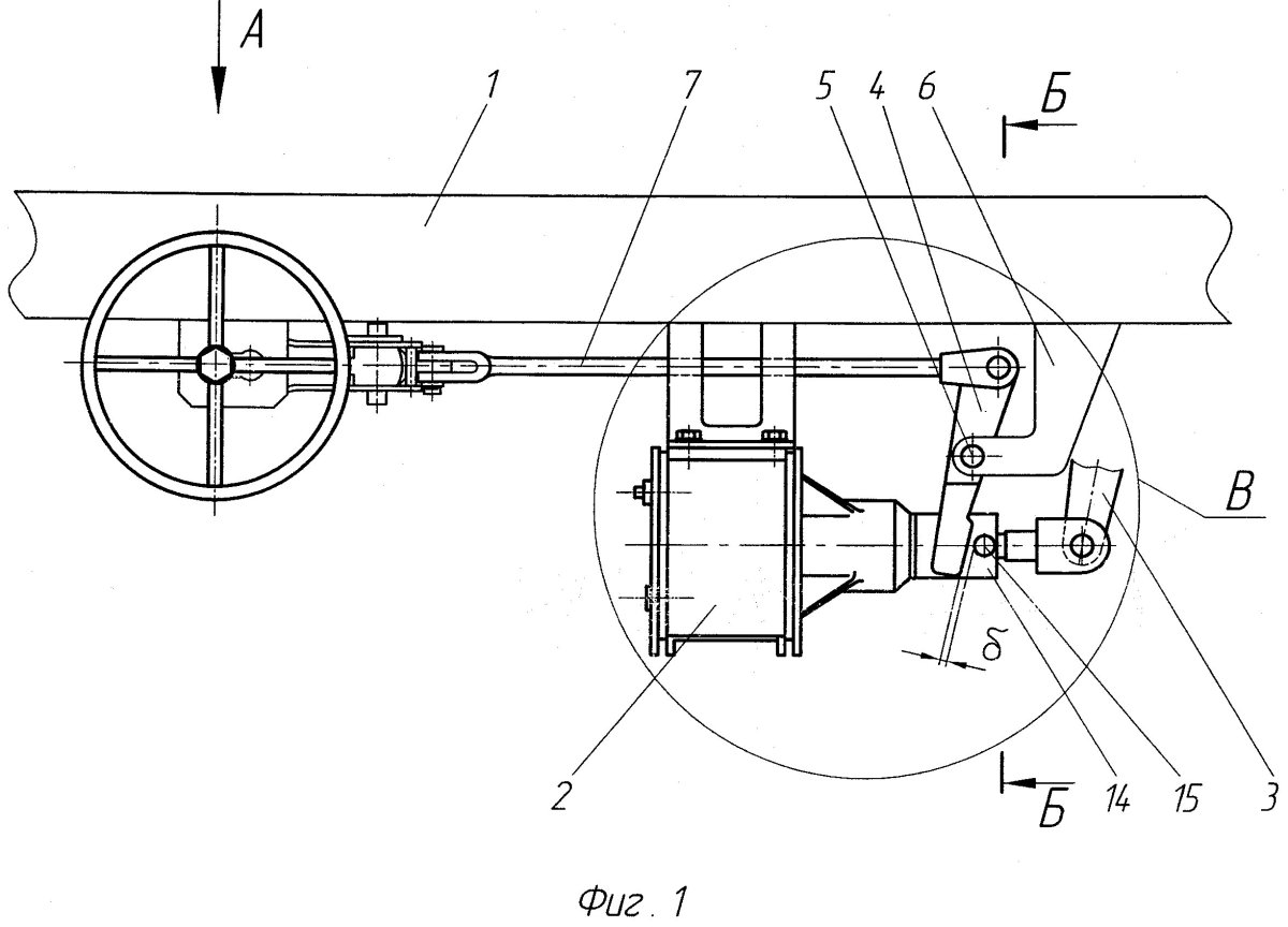
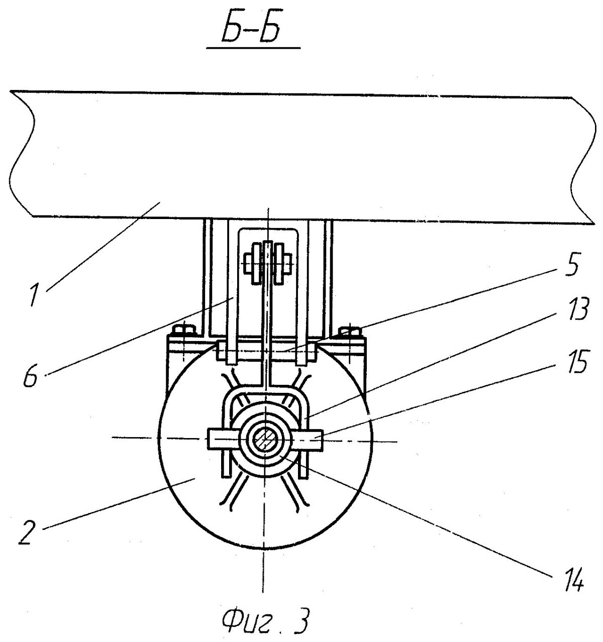
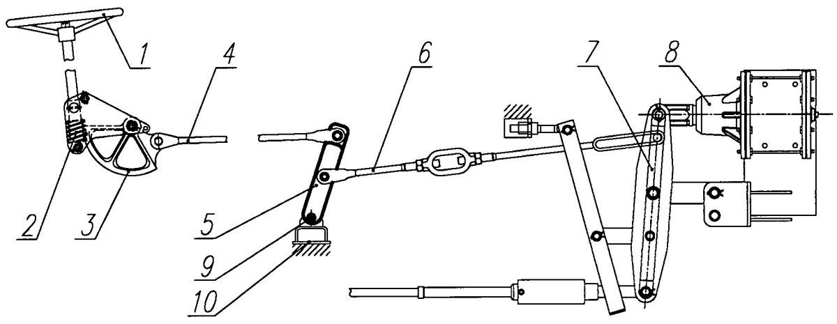
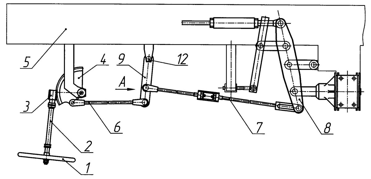
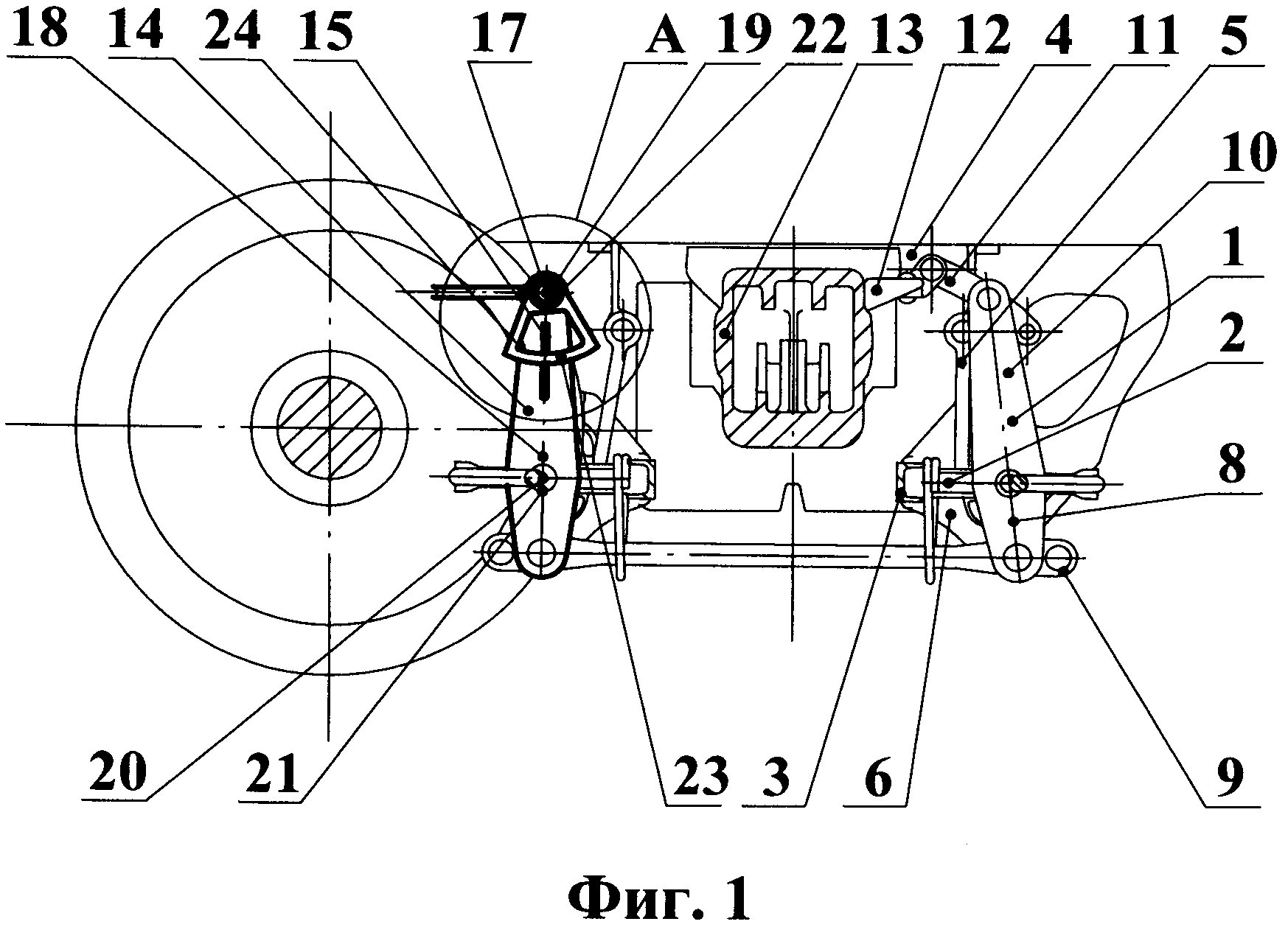
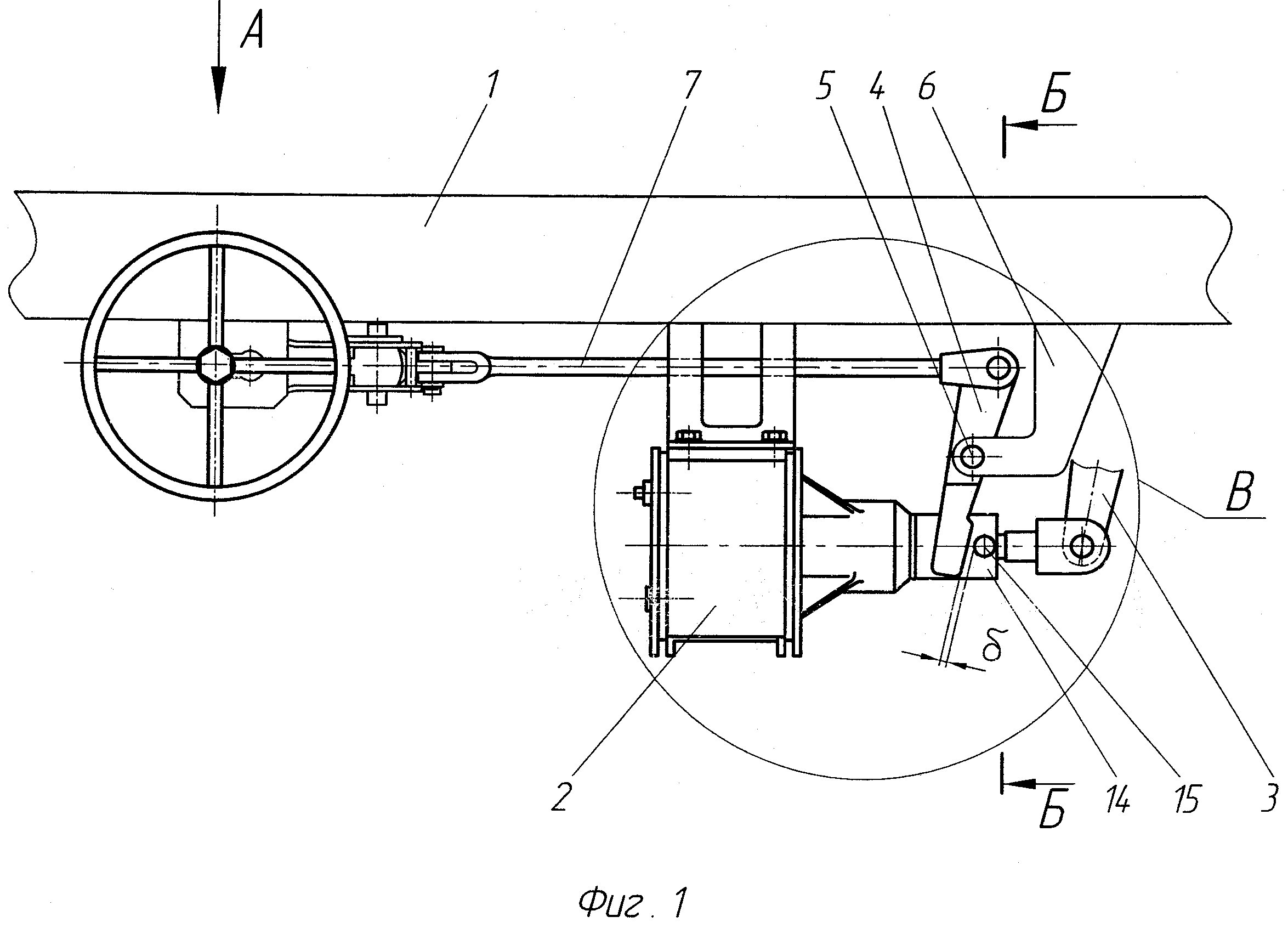
Привод стояночного тормоза грузового вагона
Привод стояночного тормоза грузового вагона

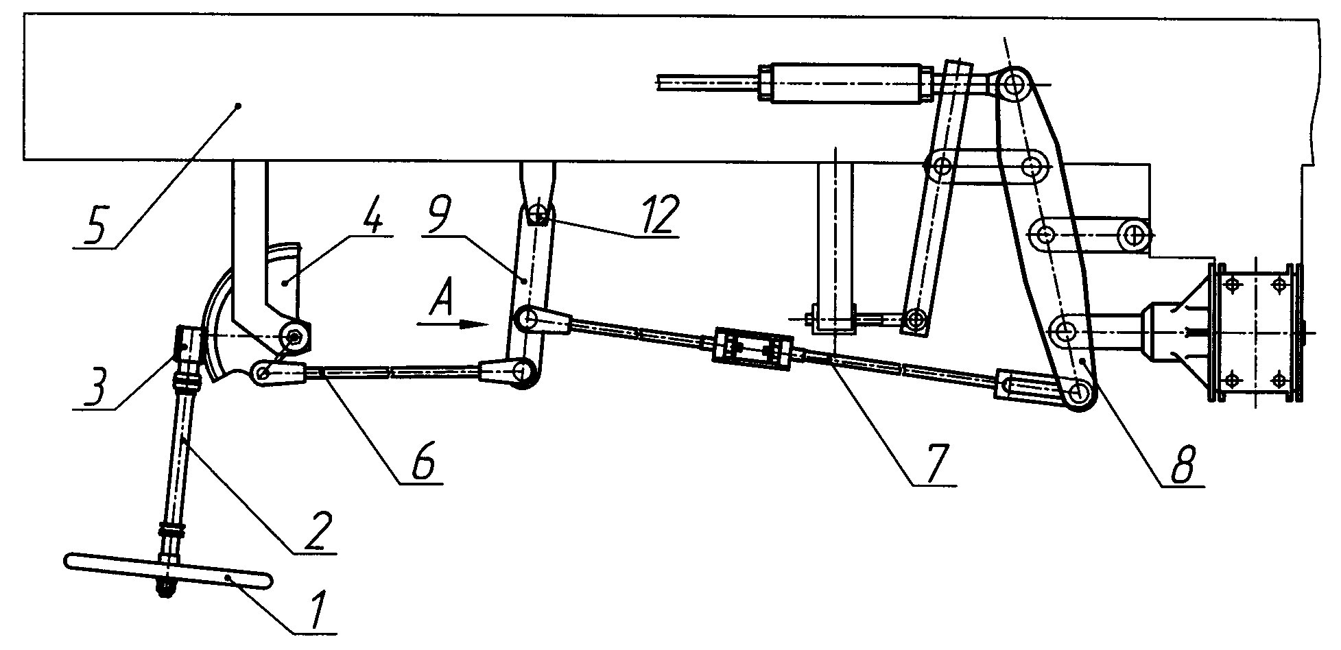
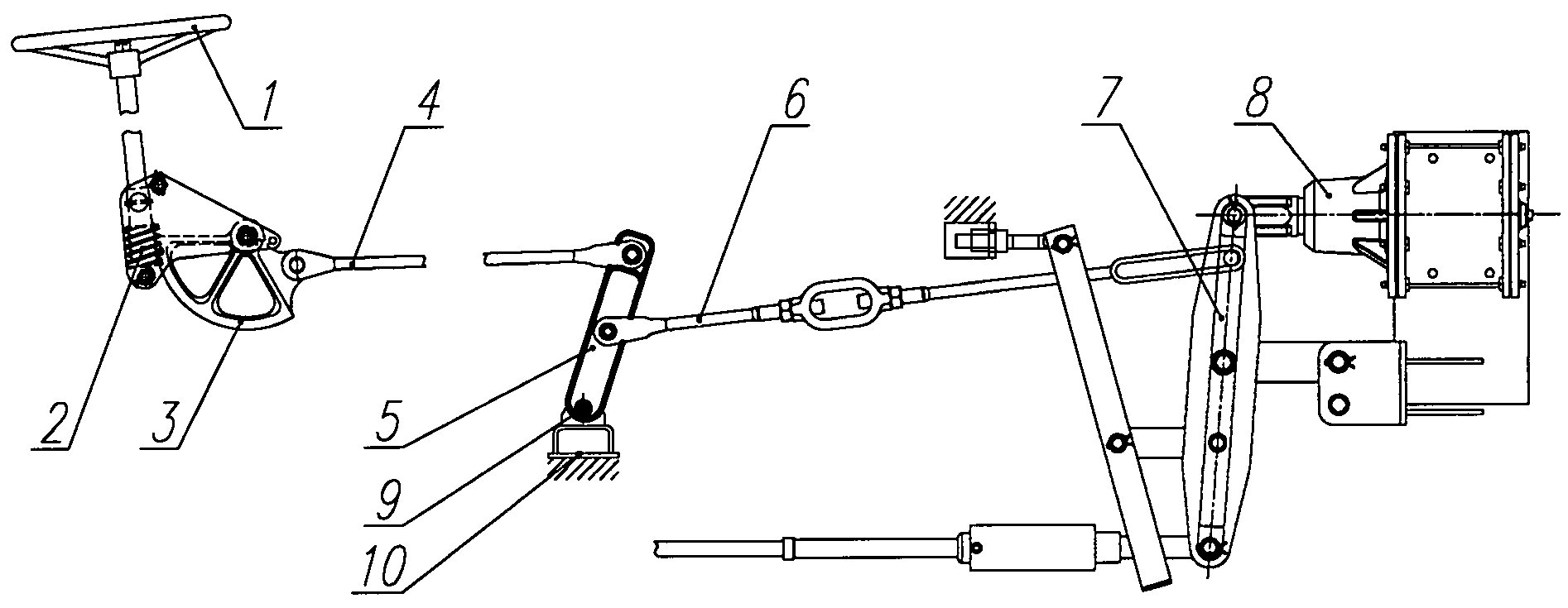
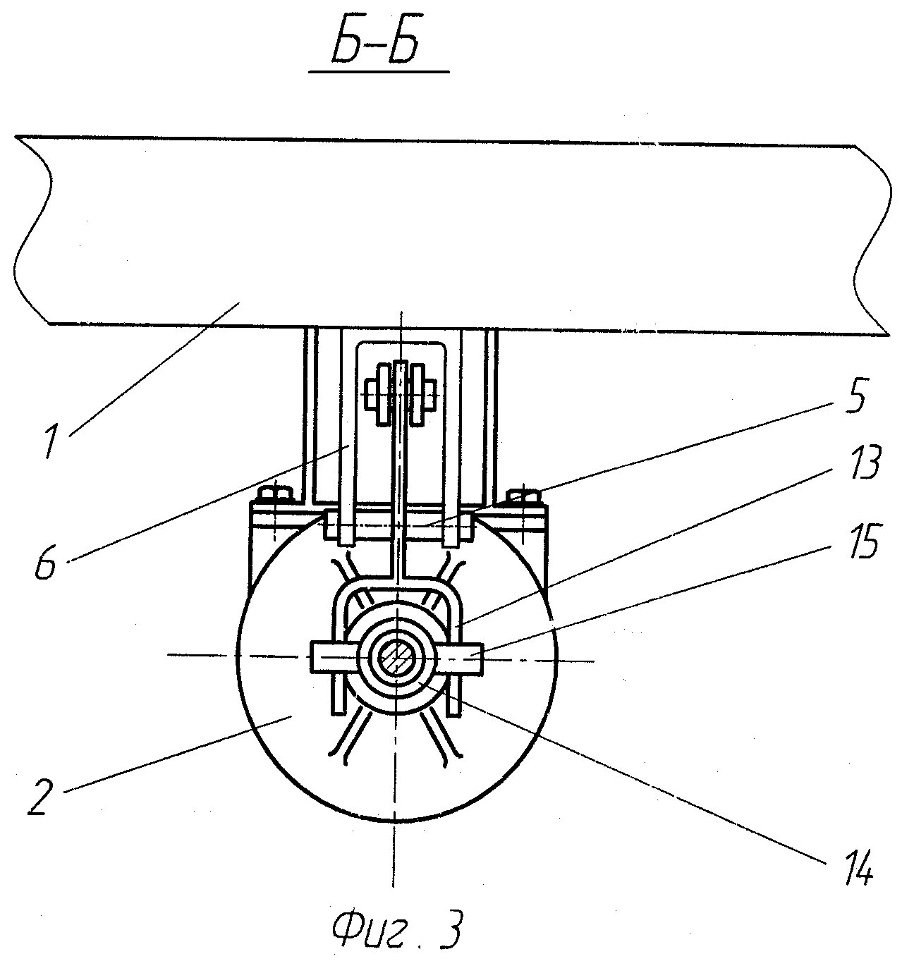
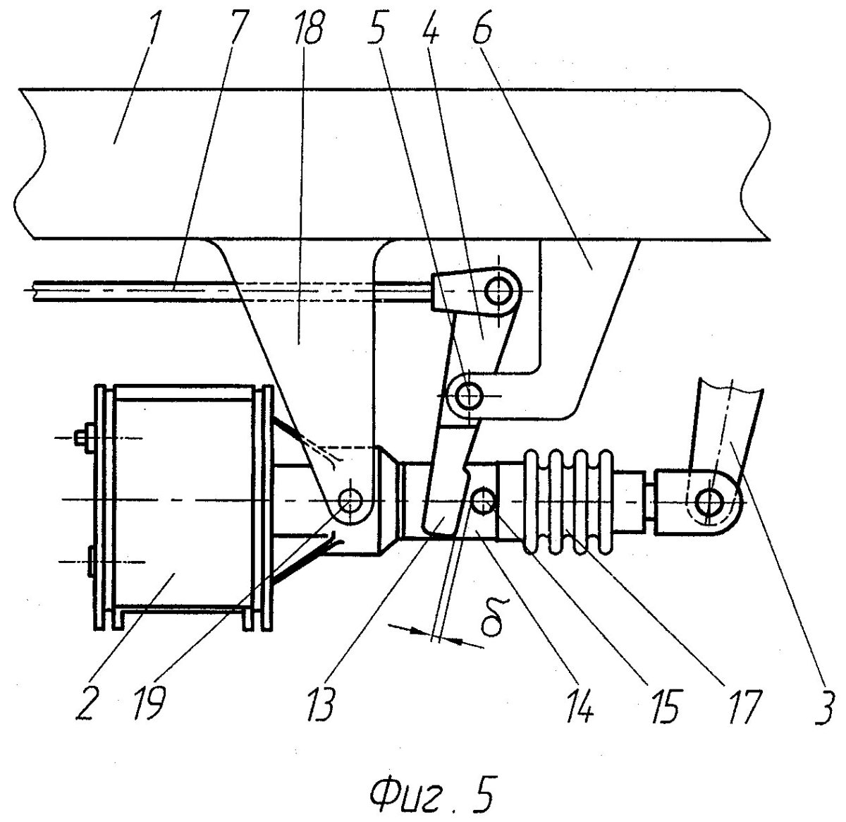
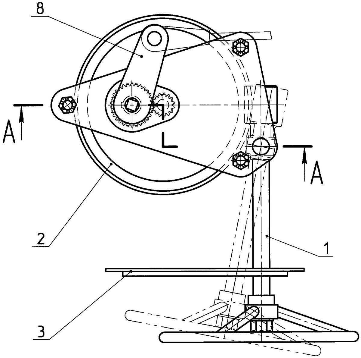
Тяга стояночного тормоза грузового вагона
Тяга стояночного тормоза грузового вагона

Ручной стояночный тормоз полувагона
Ручной стояночный тормоз полувагона

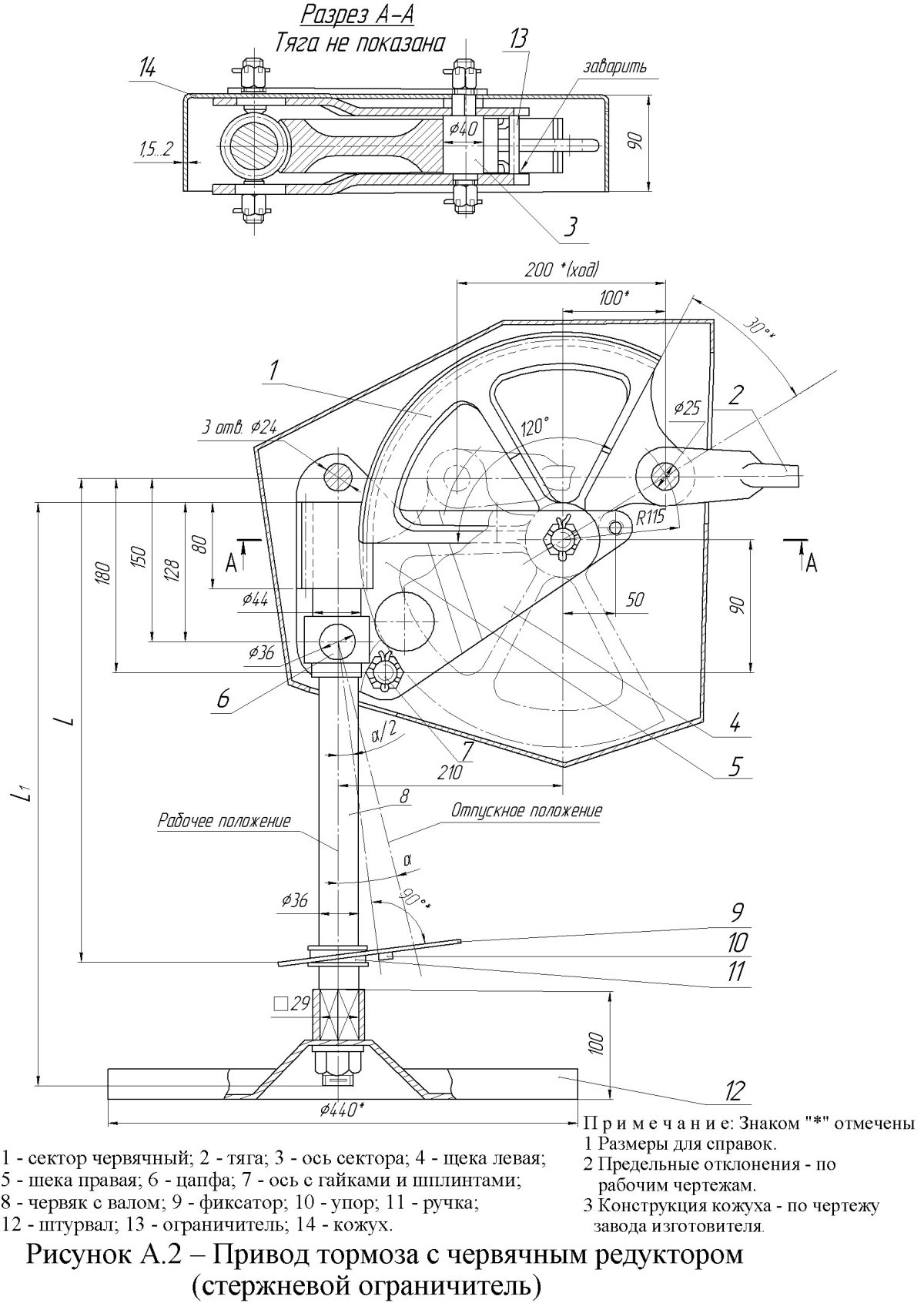
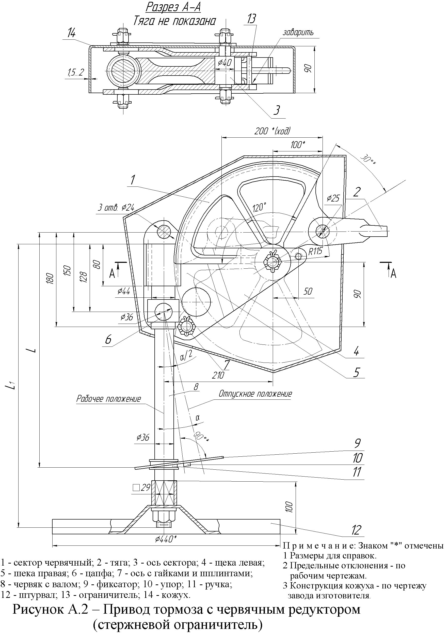
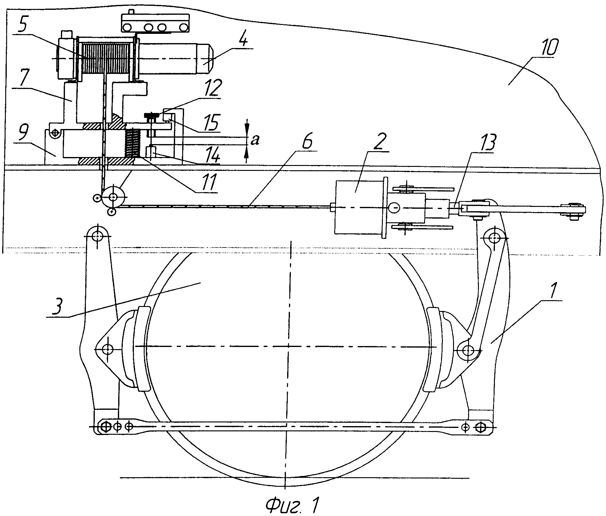
Привод стояночного тормоза 5722-07.03.02.000
Привод стояночного тормоза 5722-07.03.02.000

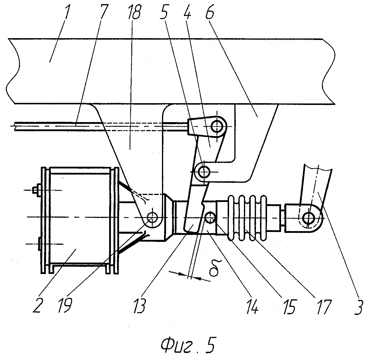
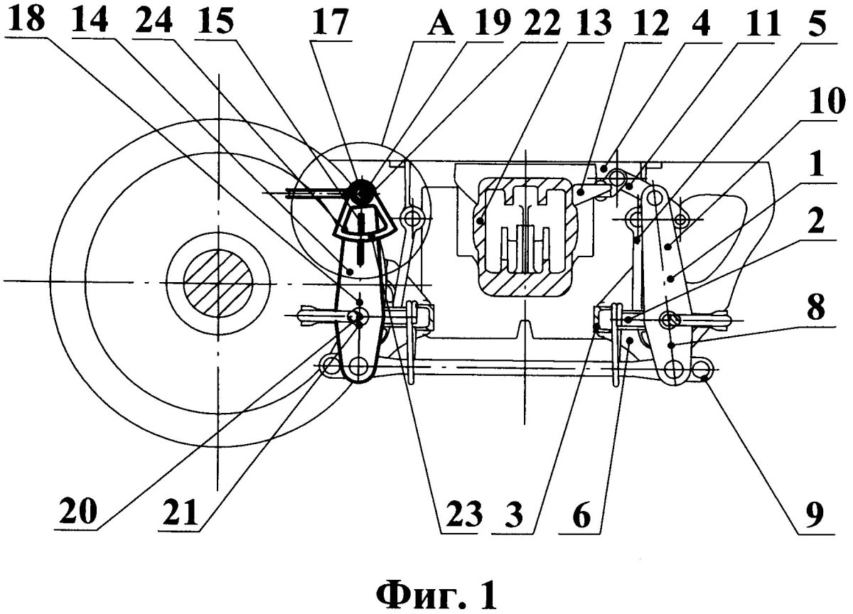
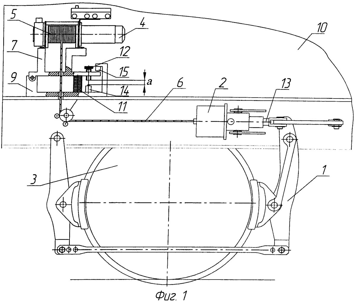
Привод стояночного тормоза 757.41.050-1сб чертеж
Привод стояночного тормоза 757.41.050-1сб чертеж



Стояночный тормоз грузового вагона чертеж
Стояночный тормоз грузового вагона чертеж

Ручной стояночный тормоз грузового вагона
Ручной стояночный тормоз грузового вагона



Ручной тормоз на полувагоне
Ручной тормоз на полувагоне

Стоп кран в пассажирском вагоне

Фото: Стоп кран в пассажирском вагоне






Сигнализатор ручного тормоза 4505.38.00.210 пассажирского вагона ТВЗ
Сигнализатор ручного тормоза 4505.38.00.210 пассажирского вагона ТВЗ





Автотормозное оборудование грузового вагона
Автотормозное оборудование грузового вагона

Тормозное устройство грузового вагона
Тормозное устройство грузового вагона

Тормозной цилиндр грузового вагона 710-03
Тормозной цилиндр грузового вагона 710-03

Привод стояночного тормоза электровоза

Фото: Привод стояночного тормоза электровоза




Ручной стояночный тормоз грузового вагона схема
Ручной стояночный тормоз грузового вагона схема





Конструкция стояночного тормоза вагона
Конструкция стояночного тормоза вагона











Тормозная рычажная передача вл80с
Тормозная рычажная передача вл80с

Тормозная рычажная передача эд4м
Тормозная рычажная передача эд4м

Тормозная рычажная передача пассажирского вагона
Тормозная рычажная передача пассажирского вагона



Колодки вагона
Колодки вагона



Ручник вл80с
Ручник вл80с

Тормозная рычажная передача электровоза 2эс5к
Тормозная рычажная передача электровоза 2эс5к



Схема рычажной передачи пассажирского вагона

Фото: Схема рычажной передачи пассажирского вагона


Тормозная рычажная передача грузового вагона
Тормозная рычажная передача грузового вагона

ТРП пассажирского вагона
ТРП пассажирского вагона

Вл80с кабина машиниста
Вл80с кабина машиниста

Рычажная тормозная система вл10
Рычажная тормозная система вл10

Схема ТРП грузового вагона
Схема ТРП грузового вагона

Ручной тормоз 2тэ116
Ручной тормоз 2тэ116

Схема осмотра тормозной рычажной передачи тележки
Схема осмотра тормозной рычажной передачи тележки

Тяга стояночного тормоза вагона
Тяга стояночного тормоза вагона

Схема автоматического тормоза пассажирского вагона
Схема автоматического тормоза пассажирского вагона

2 ПТС стояночный тормоз чертеж
2 ПТС стояночный тормоз чертеж

Тормоза ЖД подвижного состава стояночный тормоз
Тормоза ЖД подвижного состава стояночный тормоз



Тормозного нажатия вл8
Тормозного нажатия вл8

Стоп-кран в поезде
Стоп-кран в поезде

Башмак горочный тормозной 8739.00сб
Башмак горочный тормозной 8739.00сб









Устройство тормозной рычажной передачи вагона

Фото: Устройство тормозной рычажной передачи вагона


ТРП пассажирского вагона схема
ТРП пассажирского вагона схема

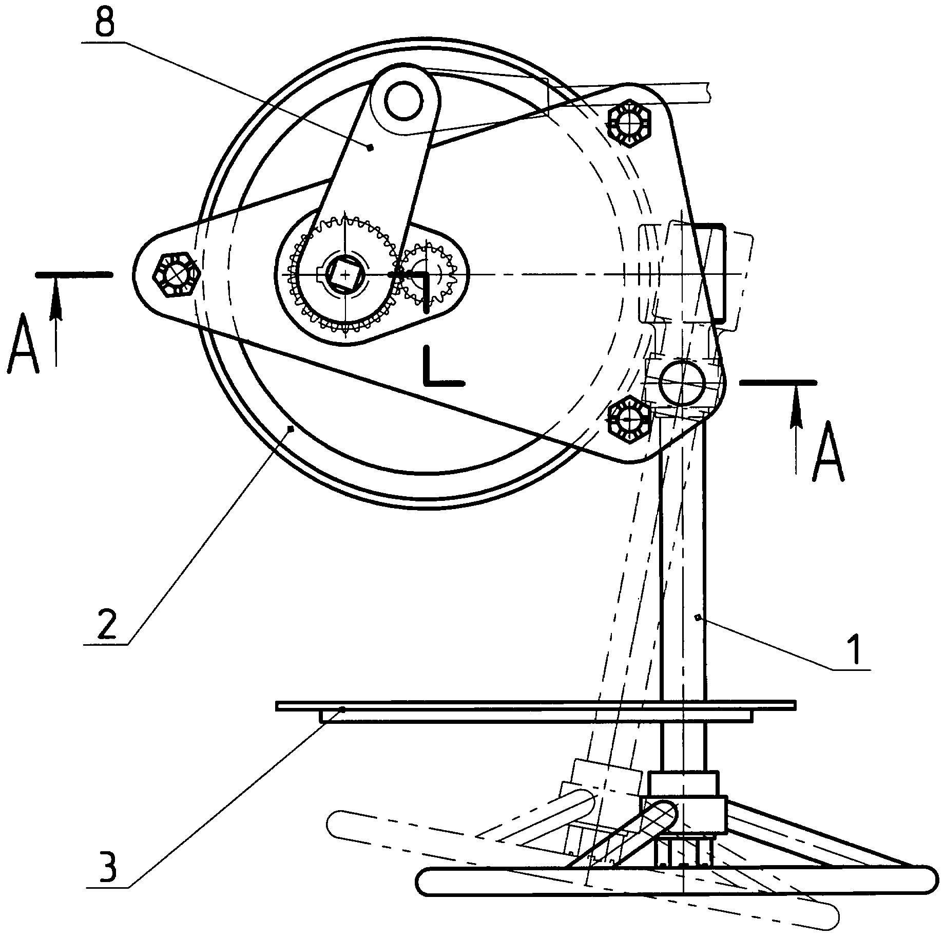
Штурвал ручного тормоза вагона
Штурвал ручного тормоза вагона



Схема тормозной рычажной передачи грузового вагона
Схема тормозной рычажной передачи грузового вагона



Схема пневматического тормозного оборудования грузового вагона
Схема пневматического тормозного оборудования грузового вагона

Воздухораспределитель 483 на вагоне
Воздухораспределитель 483 на вагоне

Схема элементов тормозного оборудования грузового вагона
Схема элементов тормозного оборудования грузового вагона

Тормозной башмак РЖД
Тормозной башмак РЖД



Рычаг в поезде
Рычаг в поезде

Башмак тормозной 8тн.143.108
Башмак тормозной 8тн.143.108

Механические схемы
Механические схемы

Грузовой Воздухораспределитель 483
Грузовой Воздухораспределитель 483

Подвагонное оборудование грузового вагона
Подвагонное оборудование грузового вагона



Ручной тормоз тепловоза 2м62
Ручной тормоз тепловоза 2м62







Тормозная рычажная передача вагона схема
Тормозная рычажная передача вагона схема

Схема рычажной передачи четырехосного грузового вагона
Схема рычажной передачи четырехосного грузового вагона

Похожие фото:

Комментарии
Минимальная длина комментария - 50 знаков. комментарии модерируются
Кликните на изображение чтобы обновить код, если он неразборчив