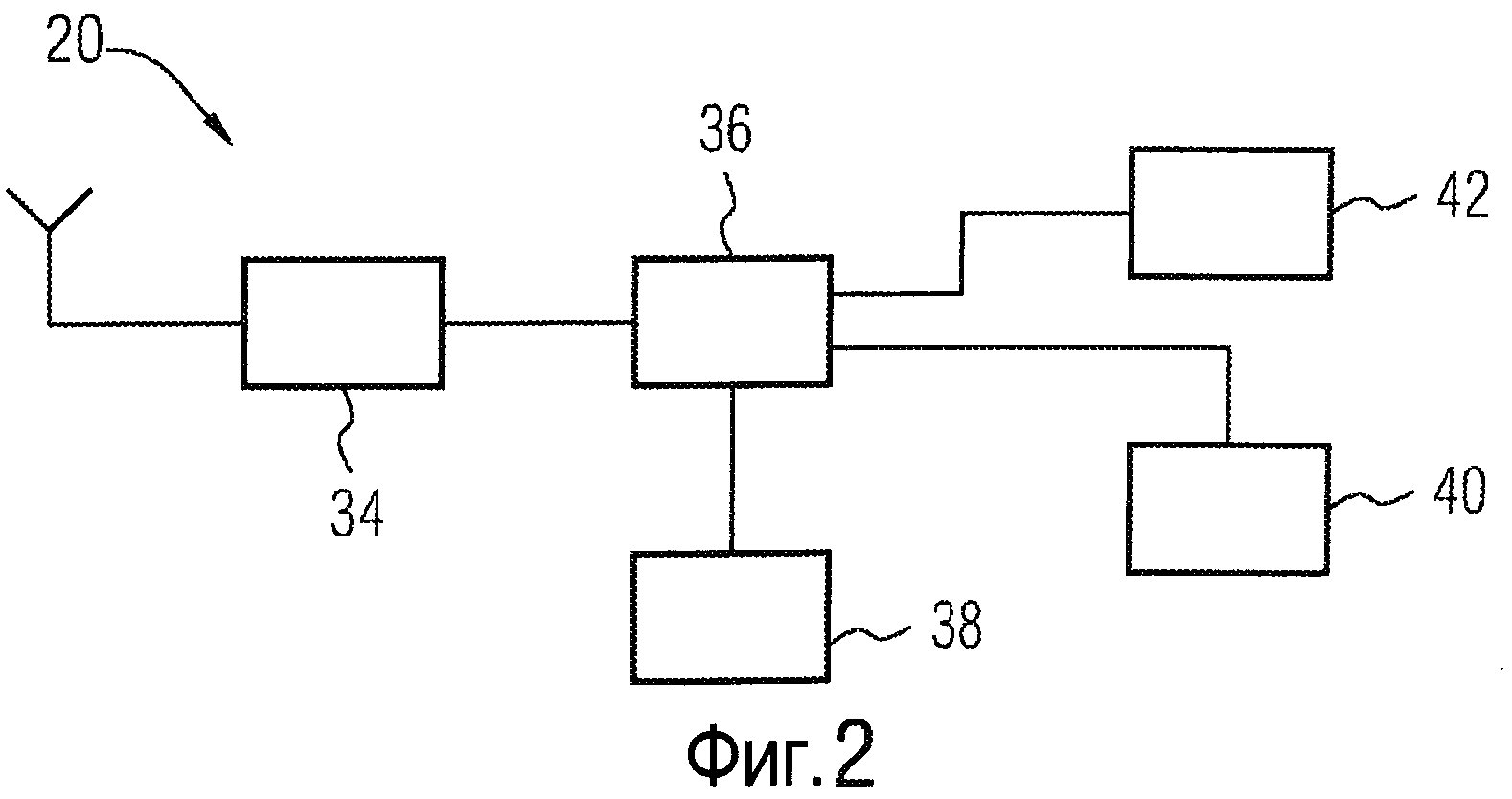
Машинатор » Система предотвращения столкновений поездов

Система предотвращения столкновений поездов

18 апр
---
0
0

Безопасность на Железнодорожном переходе
Безопасность на Железнодорожном переходе

Схема ограждения работ на ЖД
Схема ограждения работ на ЖД

Комплексное устройство принудительной остановки Локомотива
Комплексное устройство принудительной остановки Локомотива





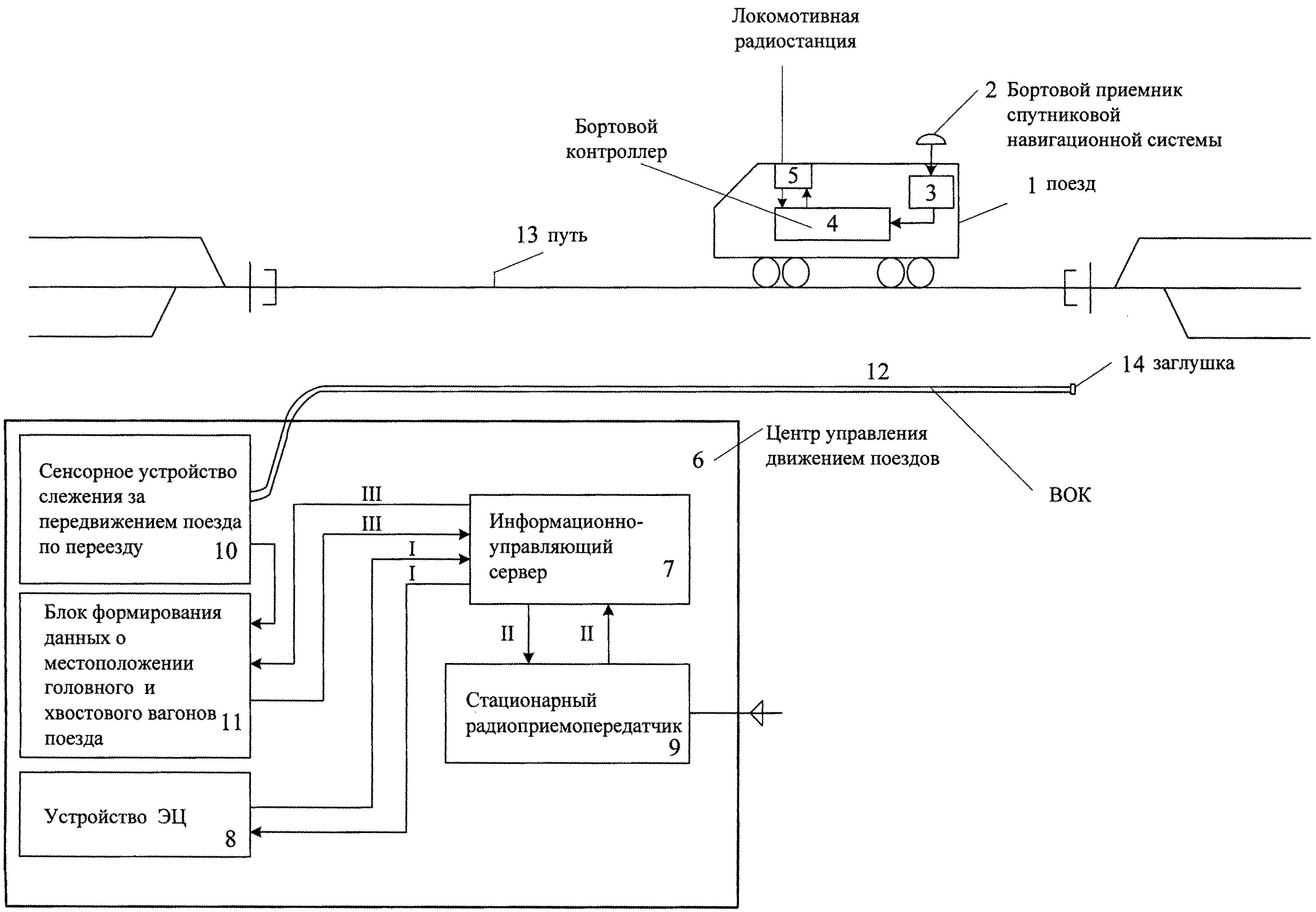
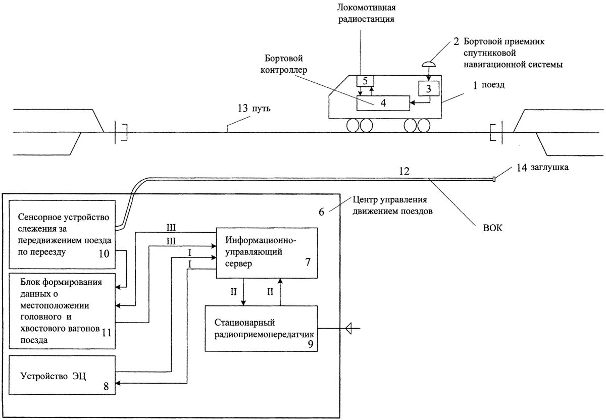
RFID система в ЖД
RFID система в ЖД

Вольво система экстренного торможения
Вольво система экстренного торможения





Железная дорога зона повышенной опасности
Железная дорога зона повышенной опасности

Видеонаблюдение на тепловозе

Фото: Видеонаблюдение на тепловозе


Система автоведения
Система автоведения

Движение по неправильному пути
Движение по неправильному пути

Концепты поездов будущего
Концепты поездов будущего



Травмирование на железной дороге
Травмирование на железной дороге

Умный общественный транспорт
Умный общественный транспорт

Аварии и катастрофы на Железнодорожном транспорте
Аварии и катастрофы на Железнодорожном транспорте

Датчики на грузовые вагоны
Датчики на грузовые вагоны



Цифровая Железнодорожная станция проект РЖД
Цифровая Железнодорожная станция проект РЖД



Железнодорожная авария
Железнодорожная авария



Система автономного экстренного торможения автомобиля
Система автономного экстренного торможения автомобиля





Безопасность на железной дороге
Безопасность на железной дороге

Лидар Тесла
Лидар Тесла



Купчинская столкновение поездов
Купчинская столкновение поездов

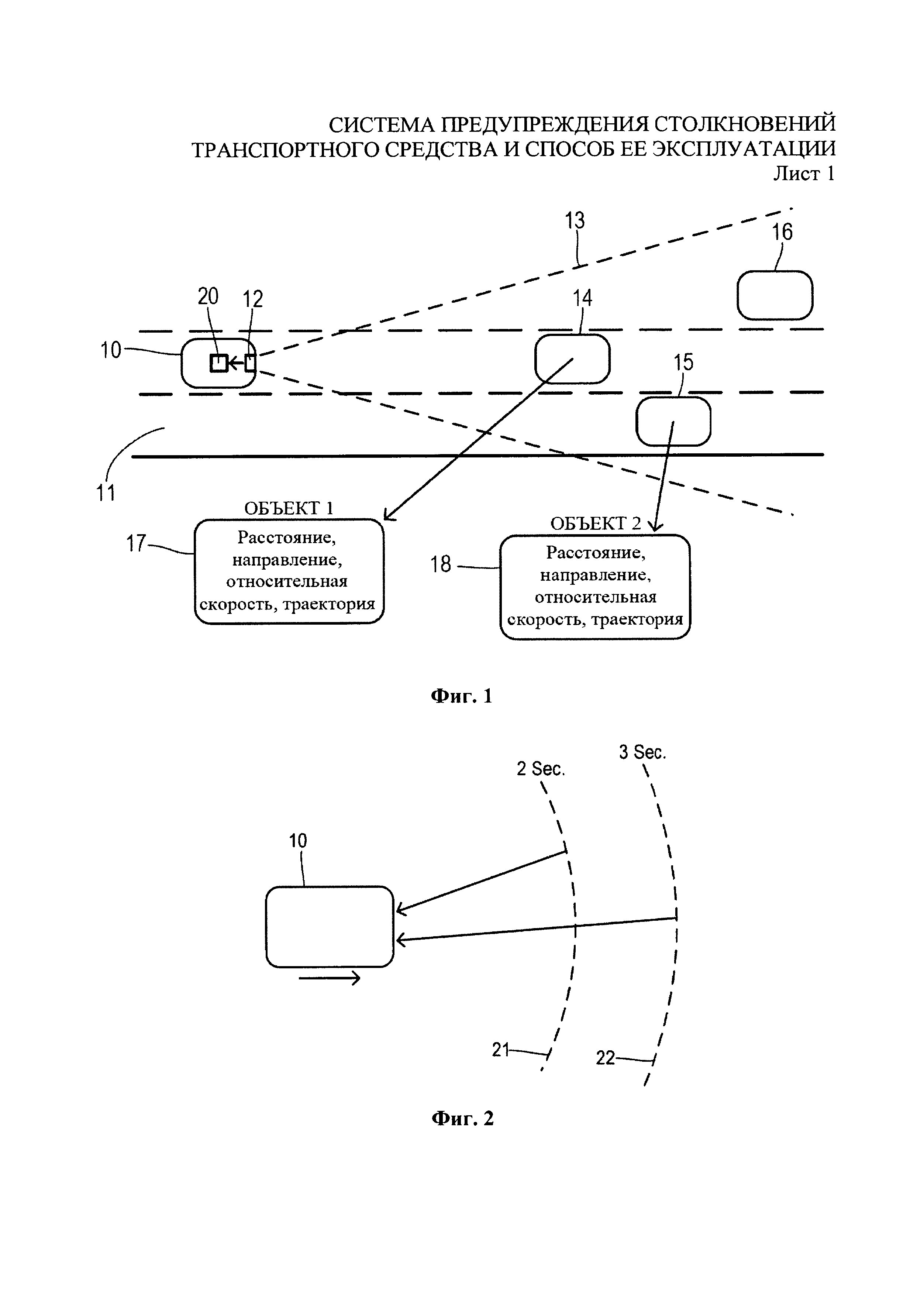
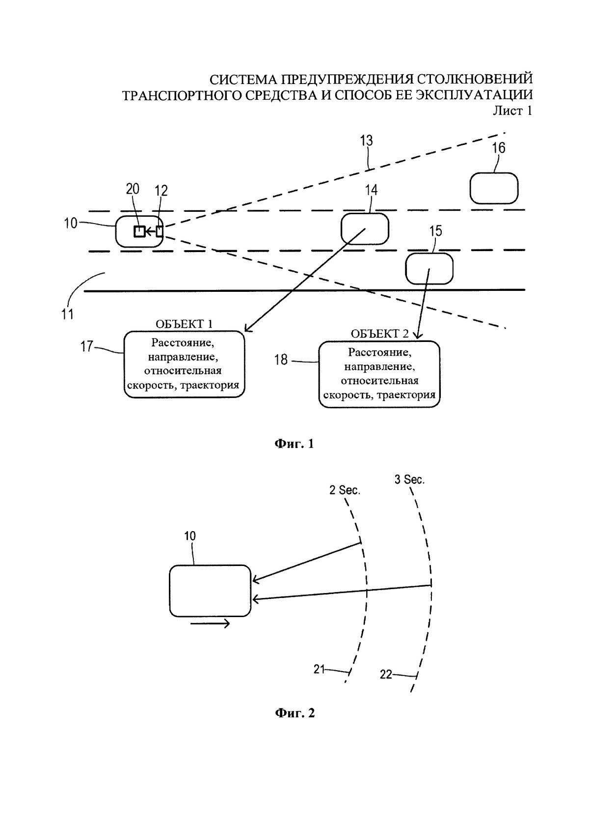
Система предотвращения столкновения датчик
Система предотвращения столкновения датчик











Кодовый бортовой датчик КБД-2м
Кодовый бортовой датчик КБД-2м

Схема оказания помощи вспомогательным Локомотивом
Схема оказания помощи вспомогательным Локомотивом



Крушение поезда Сантьяго де Компостела
Крушение поезда Сантьяго де Компостела

Система распознавания ЖД вагонов
Система распознавания ЖД вагонов

Система предупреждения столкновений для спецтехники
Система предупреждения столкновений для спецтехники

Аварийно-восстановительные поезда ДВЖД
Аварийно-восстановительные поезда ДВЖД

Виртуальная сцепка
Виртуальная сцепка

Крушение электровоза вл80
Крушение электровоза вл80

Система управления поездом
Система управления поездом





Система acas
Система acas

Система экстренного торможения Мазда СХ 5
Система экстренного торможения Мазда СХ 5

Профилактика опасности зацепинга
Профилактика опасности зацепинга

Система предупреждения столкновения самолётов в воздухе
Система предупреждения столкновения самолётов в воздухе



Системы регулирования движения поездов
Системы регулирования движения поездов

Похожие фото:

Комментарии
Минимальная длина комментария - 50 знаков. комментарии модерируются
Кликните на изображение чтобы обновить код, если он неразборчив