Машинатор » Главный винт вертолета

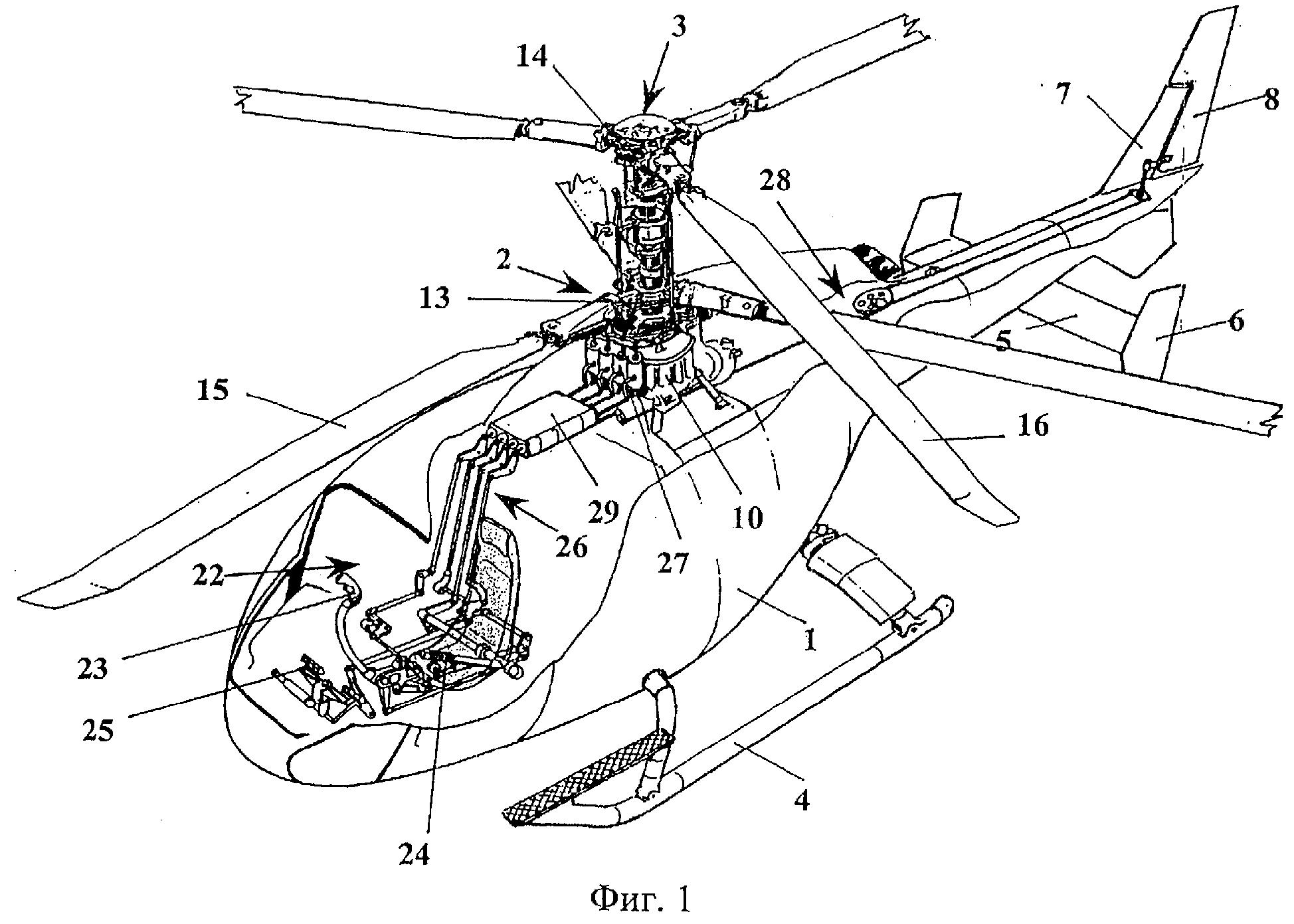
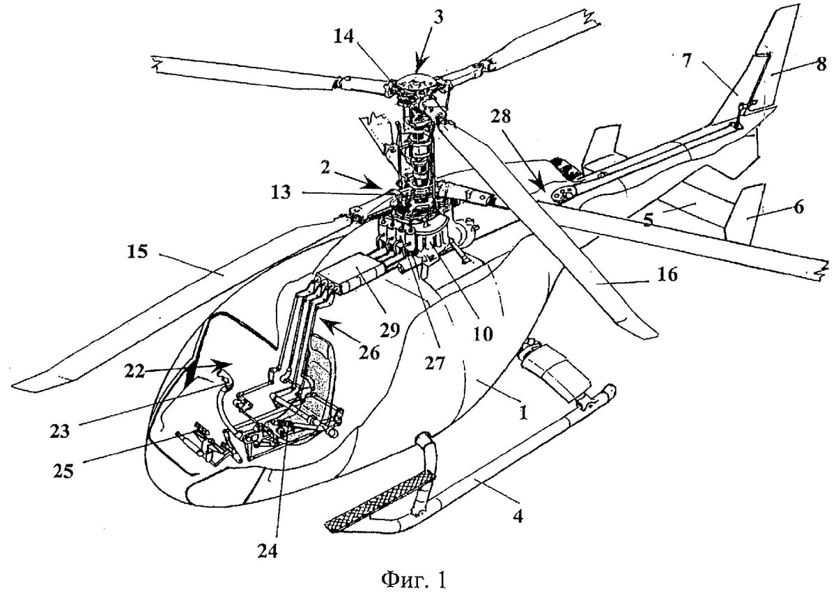
Главный винт вертолета

18 ноя
---
2
0

Автомат перекоса вертолета ми-8
Автомат перекоса вертолета ми-8

Втулка несущего винта вертолета ми-8
Втулка несущего винта вертолета ми-8

Втулка несущего винта вертолета ми-8
Втулка несущего винта вертолета ми-8

Рулевой винт вертолета ми 26
Рулевой винт вертолета ми 26

Ка-52 ротор
Ка-52 ротор

Втулка несущего винта ми-28н
Втулка несущего винта ми-28н

Рулевой винт вертолета ми-8
Рулевой винт вертолета ми-8

Автомат перекоса ка-52
Автомат перекоса ка-52

Ми 8мт винты
Ми 8мт винты

Рулевой винт 246-3904-000
Рулевой винт 246-3904-000

Лопасти вертолета ми-24

Фото: Лопасти вертолета ми-24


Рулевой винт ми-2
Рулевой винт ми-2

Автомат перекоса вертолета ка 52
Автомат перекоса вертолета ка 52

Шасси вертолета ка 52
Шасси вертолета ка 52

Рулевой винт ми-8
Рулевой винт ми-8

Автомат перекоса вертолета ка 52
Автомат перекоса вертолета ка 52

Автомат перекоса ка 26
Автомат перекоса ка 26

Хвостовая балка ми-8
Хвостовая балка ми-8

Рулевой винт ми-8 чертеж
Рулевой винт ми-8 чертеж

Автомат перекоса винтов вертолета ка50

Фото: Автомат перекоса винтов вертолета ка50


Автомат перекоса винта ка 52
Автомат перекоса винта ка 52

Рулевой винт ми-8 чертеж
Рулевой винт ми-8 чертеж

Редуктор вертолета ми-8
Редуктор вертолета ми-8

Привод хвостового винта вертолета ми 8
Привод хвостового винта вертолета ми 8

Стабилизатор вертолета ми-8
Стабилизатор вертолета ми-8

Автомат перекоса винта ка 52
Автомат перекоса винта ка 52

Втулка несущего винта ми-8 осевой шарнир
Втулка несущего винта ми-8 осевой шарнир

Автомат перекоса ка 26
Автомат перекоса ка 26

Автомат перекоса вертолета ми 26
Автомат перекоса вертолета ми 26

Автомат перекоса ка-52
Автомат перекоса ка-52

Рулевой винт вертолета ми-8 МТВ
Рулевой винт вертолета ми-8 МТВ

Ми-28н рулевой винт
Ми-28н рулевой винт



Автомат перекоса
Автомат перекоса

Рулевой винт ми-24
Рулевой винт ми-24

Рулевой винт вертолета ми-8
Рулевой винт вертолета ми-8

Рулевой винт ми-2
Рулевой винт ми-2



Ми 28 рулевой винт
Ми 28 рулевой винт

Рулевой винт ми-24

Фото: Рулевой винт ми-24


Рулевой винт 246-3904-000
Рулевой винт 246-3904-000

Ми-24 втулка несущего винта
Ми-24 втулка несущего винта

Лопасти нв вертолета sa330
Лопасти нв вертолета sa330

Автомат перекоса винтов вертолета ка50
Автомат перекоса винтов вертолета ка50

Автомат перекоса вертолета ми 26
Автомат перекоса вертолета ми 26

Втулка несущего винта вертолета ми-8
Втулка несущего винта вертолета ми-8

Гайка крепящая главный винт к вертолету
Гайка крепящая главный винт к вертолету

Реверс винта
Реверс винта

Рулевой винт вертолета ми-8
Рулевой винт вертолета ми-8

Рулевой винт ми-26
Рулевой винт ми-26

Bell uh-1 Iroquois автомат перекоса
Bell uh-1 Iroquois автомат перекоса

Ступино вертолетный завод
Ступино вертолетный завод


Похожие фото:

Комментарии
Минимальная длина комментария - 50 знаков. комментарии модерируются
Кликните на изображение чтобы обновить код, если он неразборчив