Машинатор » Двигательная установка космического аппарата

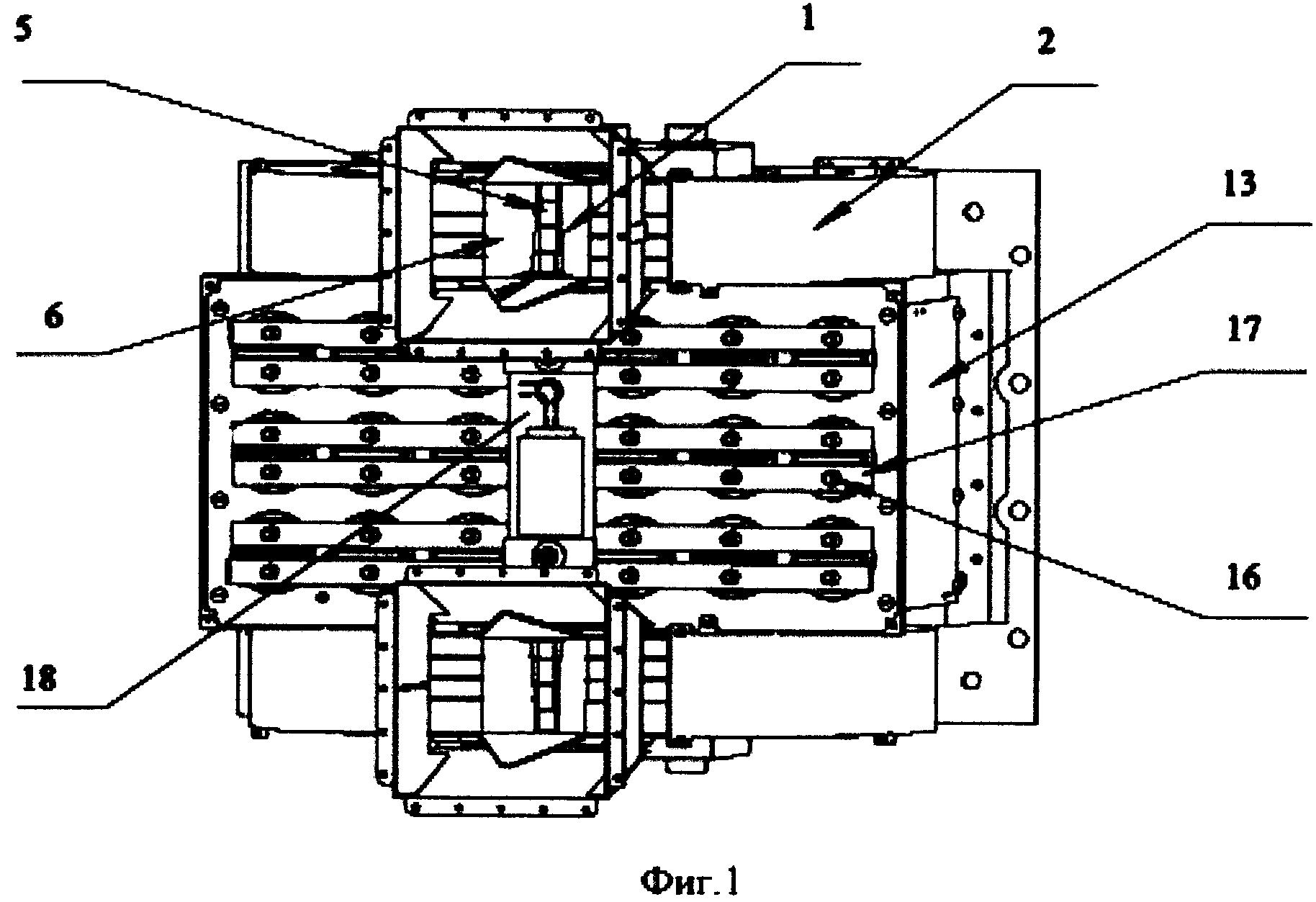
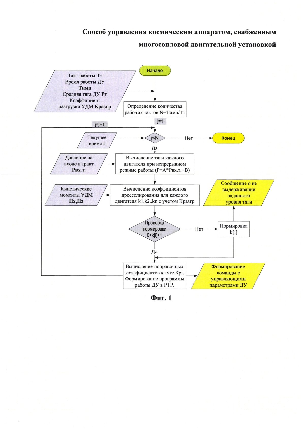
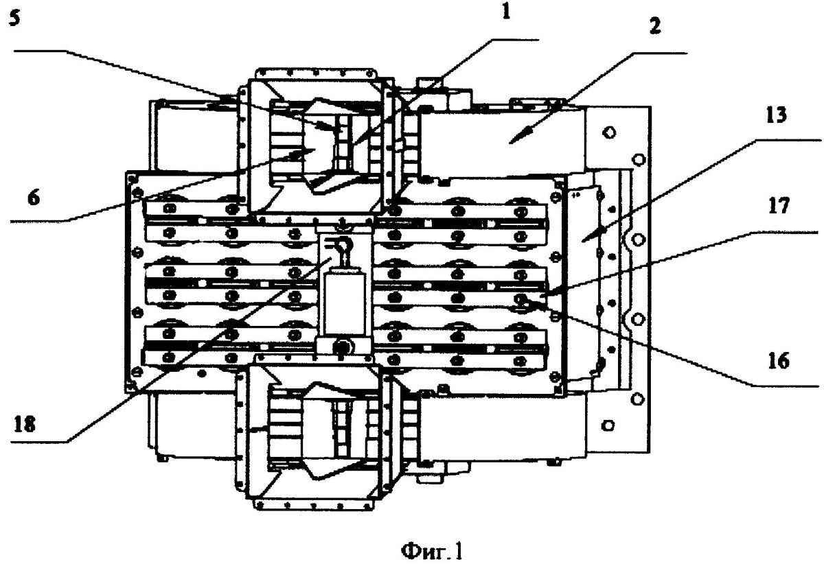
Двигательная установка космического аппарата

20 ноя
---
2
0

Космический аппарат Фобос
Космический аппарат Фобос



ЯЭУ топаз
ЯЭУ топаз



Жидкостный ракетный двигатель
Жидкостный ракетный двигатель



Двигатели для космоса
Двигатели для космоса

Двигатели Крю Дрэгон
Двигатели Крю Дрэгон

Ядерный межпланетный буксир"транспортно-энергетический модуль(ТЭМ)
Ядерный межпланетный буксир"транспортно-энергетический модуль(ТЭМ)

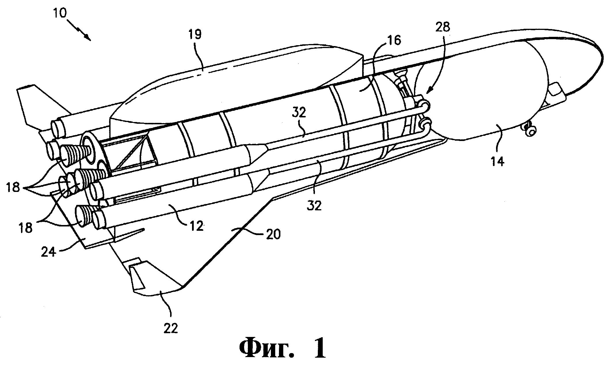
Ракета Орион НАСА
Ракета Орион НАСА

ЯЭУ топаз

Фото: ЯЭУ топаз




T-Flex CAD 17 Электротехника
T-Flex CAD 17 Электротехника

Разгонный блок Фрегат
Разгонный блок Фрегат



Разгонный блок Фрегат
Разгонный блок Фрегат

Разгонный блок Фрегат чертеж
Разгонный блок Фрегат чертеж



Двигательные силовые установки
Двигательные силовые установки

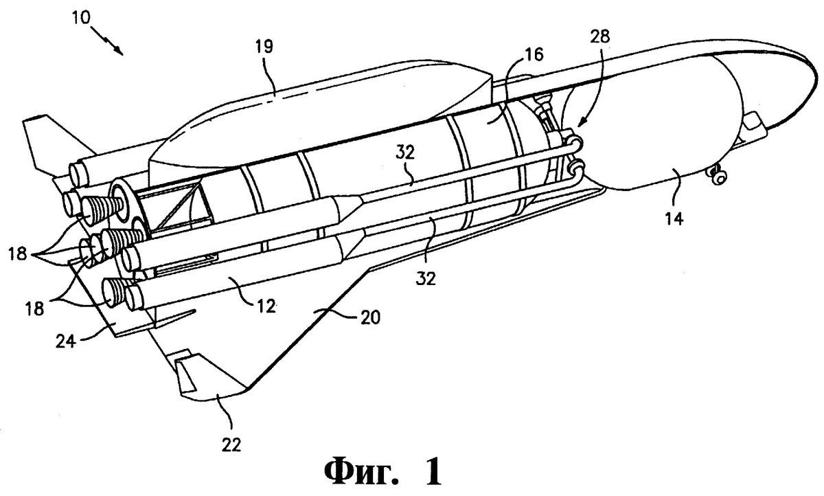
Космический корабль Буран

Фото: Космический корабль Буран


Двигательная установка (Ду
Двигательная установка (Ду

Ракета-носитель Протон-м чертеж
Ракета-носитель Протон-м чертеж

Паровые Турбонасосы
Паровые Турбонасосы

Ракета Восход 2 схема
Ракета Восход 2 схема

Ядерный межпланетный буксир"транспортно-энергетический модуль(ТЭМ)
Ядерный межпланетный буксир"транспортно-энергетический модуль(ТЭМ)



Спутник связи молния-1
Спутник связи молния-1

Разгонный блок Фрегат конструкция
Разгонный блок Фрегат конструкция





Pratt & Whitney f119
Pratt & Whitney f119

Ядерный импульсный двигатель Орион
Ядерный импульсный двигатель Орион

Музей МАИ
Музей МАИ

Двигательный блок спутника Решетнев
Двигательный блок спутника Решетнев

ЯЭУ "топаз-1"
ЯЭУ "топаз-1"

Бриз разгонный блок
Бриз разгонный блок

Спускаемый аппарат Меркурий
Спускаемый аппарат Меркурий



КБ Арсенал ядерный буксир
КБ Арсенал ядерный буксир



Транспортно-энергетический модуль Зевс
Транспортно-энергетический модуль Зевс

Двигатели для космоса
Двигатели для космоса



Космический двигатель
Космический двигатель

Агрегатный модуль Ангара 1.2
Агрегатный модуль Ангара 1.2

Космический проект Зевс
Космический проект Зевс





Агрегатный модуль Ангара 1.2
Агрегатный модуль Ангара 1.2

Микроволновая ракета
Микроволновая ракета



Двигательная установка ракеты
Двигательная установка ракеты



Sputnik Vostok Production
Sputnik Vostok Production



Двигатель Раптор схема
Двигатель Раптор схема

Похожие фото:

Комментарии
Минимальная длина комментария - 50 знаков. комментарии модерируются
Кликните на изображение чтобы обновить код, если он неразборчив