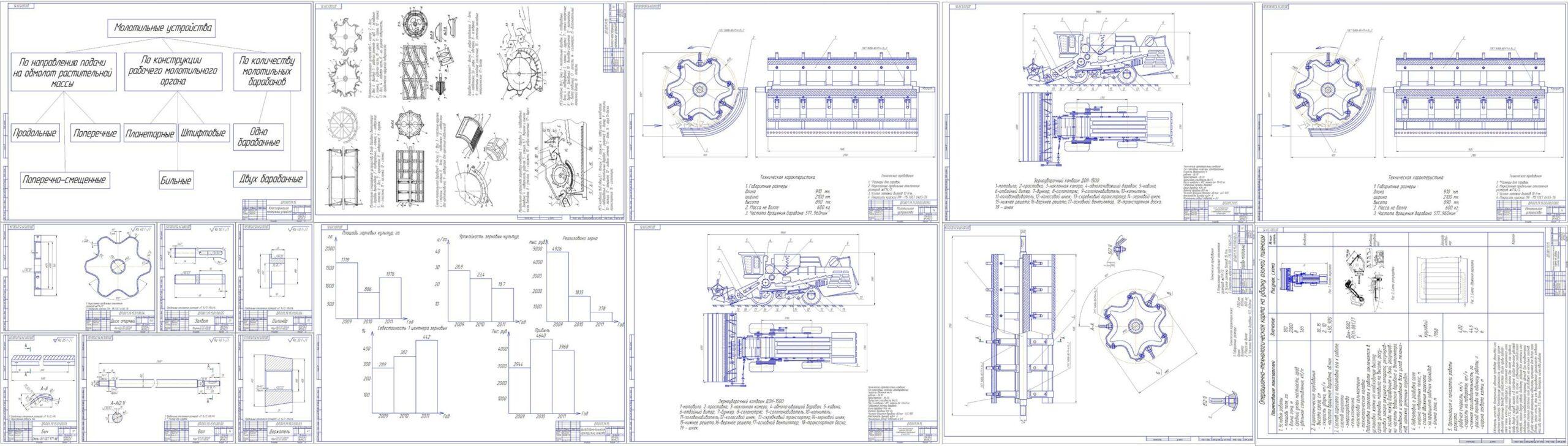
Машинатор » Устройство зерноуборочного комбайна

Устройство зерноуборочного комбайна

23 ноя
---
2
0

Схема комбайна Полесье GS 10
Схема комбайна Полесье GS 10

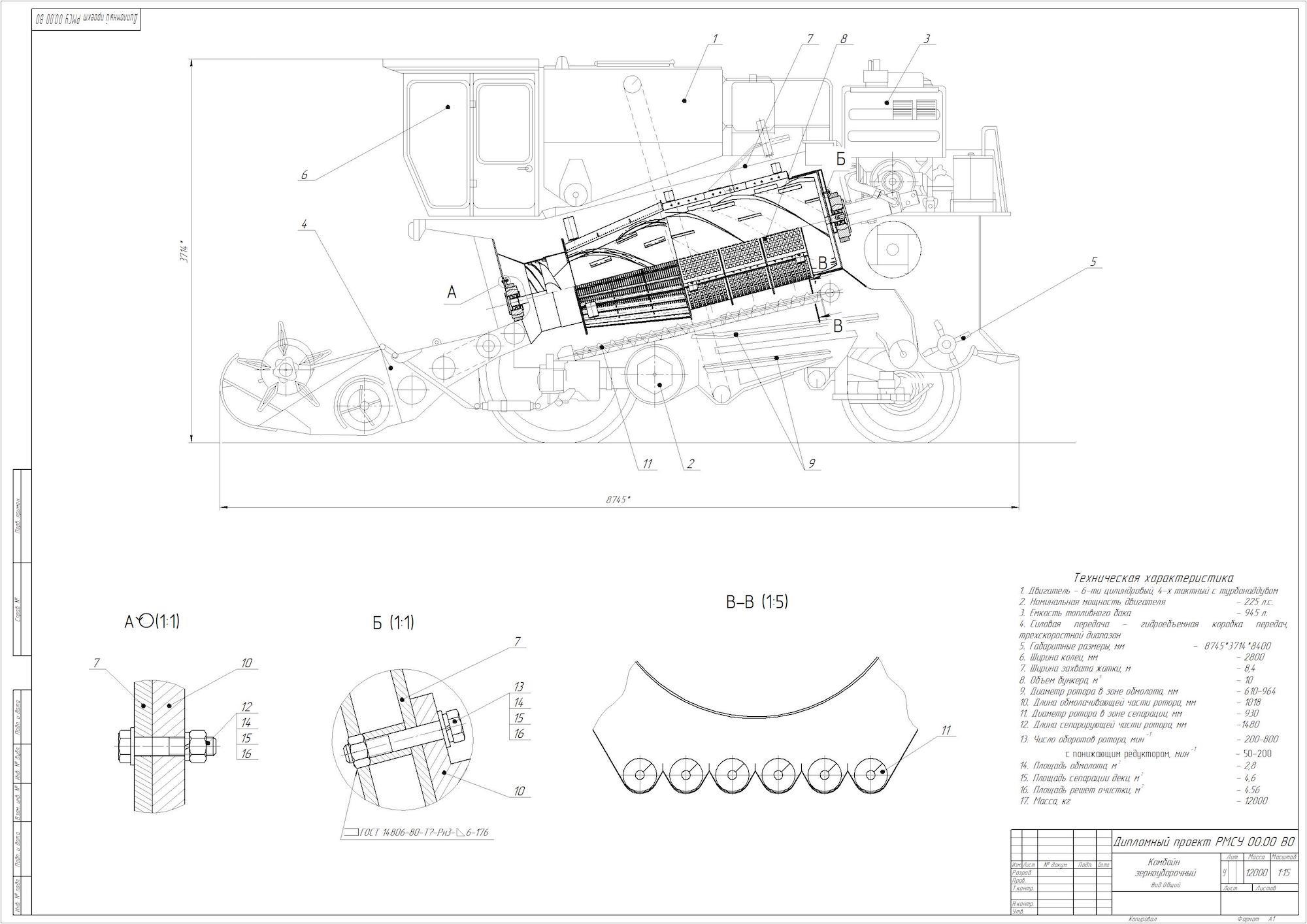
Зерноуборочный комбайн Дон 1500
Зерноуборочный комбайн Дон 1500

Чертеж комбайна Дон 1500
Чертеж комбайна Дон 1500

Зерноуборочный комбайн Нива СК-5
Зерноуборочный комбайн Нива СК-5

Комбайн Нива СК 5
Комбайн Нива СК 5

Строение комбайна зерноуборочного
Строение комбайна зерноуборочного

Комбайн CLAAS Tucano 450
Комбайн CLAAS Tucano 450



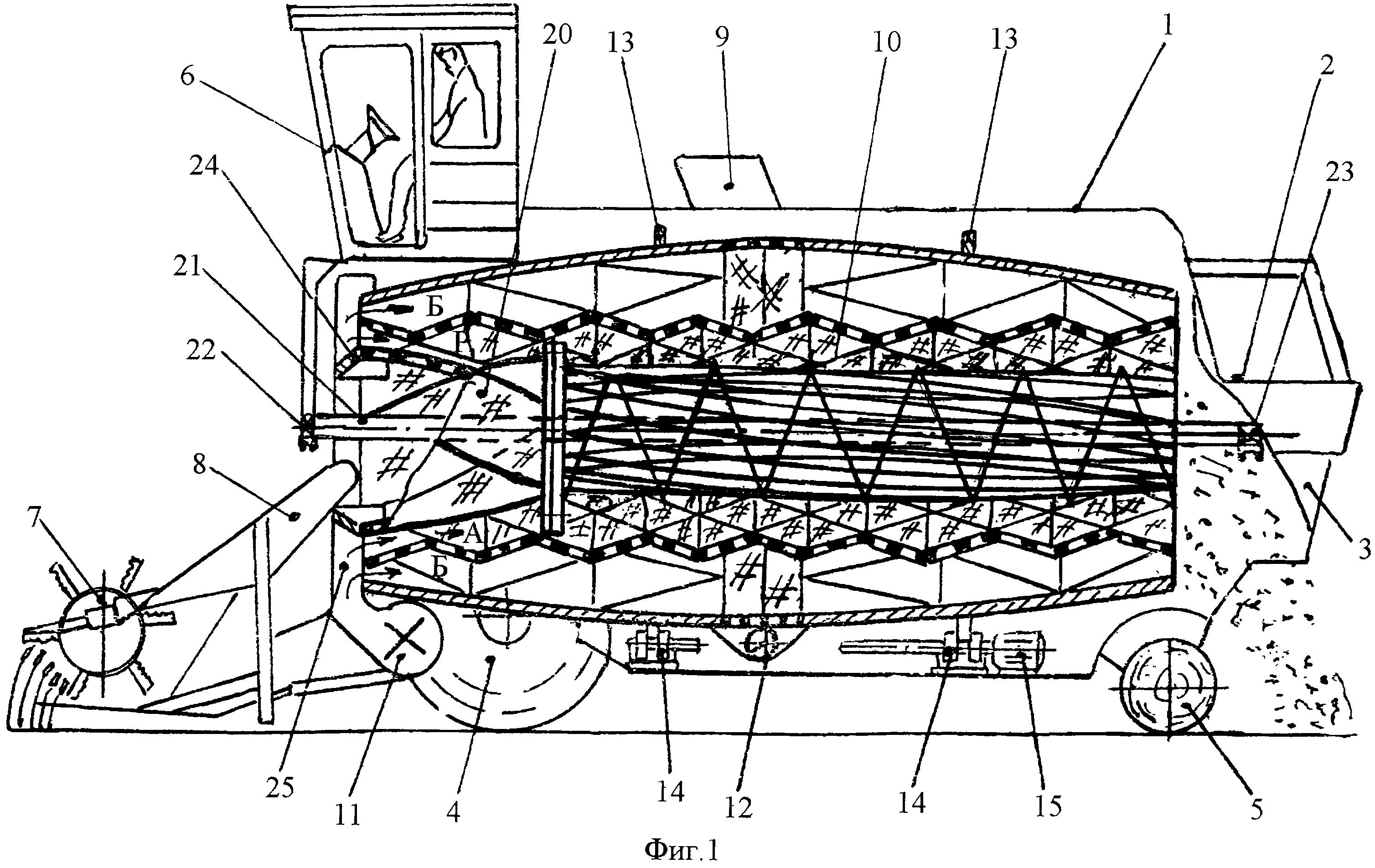
Технологическая схема зерноуборочного комбайна
Технологическая схема зерноуборочного комбайна

Габариты зерноуборочного комбайна Нива СК 5
Габариты зерноуборочного комбайна Нива СК 5

Ходовая часть комбайна Дон 1500

Фото: Ходовая часть комбайна Дон 1500


Зерноуборочный комбайн Дон 1500 схема
Зерноуборочный комбайн Дон 1500 схема

GPS/ГЛОНАСС мониторинг сельскохозяйственной техники
GPS/ГЛОНАСС мониторинг сельскохозяйственной техники





Комбайн Лексион 770
Комбайн Лексион 770

Ремни комбайна Акрос 595 плюс
Ремни комбайна Акрос 595 плюс

Комбайн Полесье 812 технические характеристики
Комбайн Полесье 812 технические характеристики

Схема устройства комбайна Енисей 1200
Схема устройства комбайна Енисей 1200

Грохот комбайна Енисей 1200

Фото: Грохот комбайна Енисей 1200


Ремни на комбайн вектор 410 каталог
Ремни на комбайн вектор 410 каталог

Молотилка зерноуборочного комбайна
Молотилка зерноуборочного комбайна

Комбайн Нива СК 5
Комбайн Нива СК 5

Зерноуборочный комбайн RSM 161
Зерноуборочный комбайн RSM 161

Устройство зерноуборочного комбайна Джон Дир
Устройство зерноуборочного комбайна Джон Дир



Молотильный аппарат комбайна вектор 410
Молотильный аппарат комбайна вектор 410

Зерноуборочный комбайн vector-410 - схема
Зерноуборочный комбайн vector-410 - схема

Комбайн КЗС-10 габариты
Комбайн КЗС-10 габариты

Зерноуборочный комбайн Дон 1500
Зерноуборочный комбайн Дон 1500

Комбайн Джон Дир роторный
Комбайн Джон Дир роторный

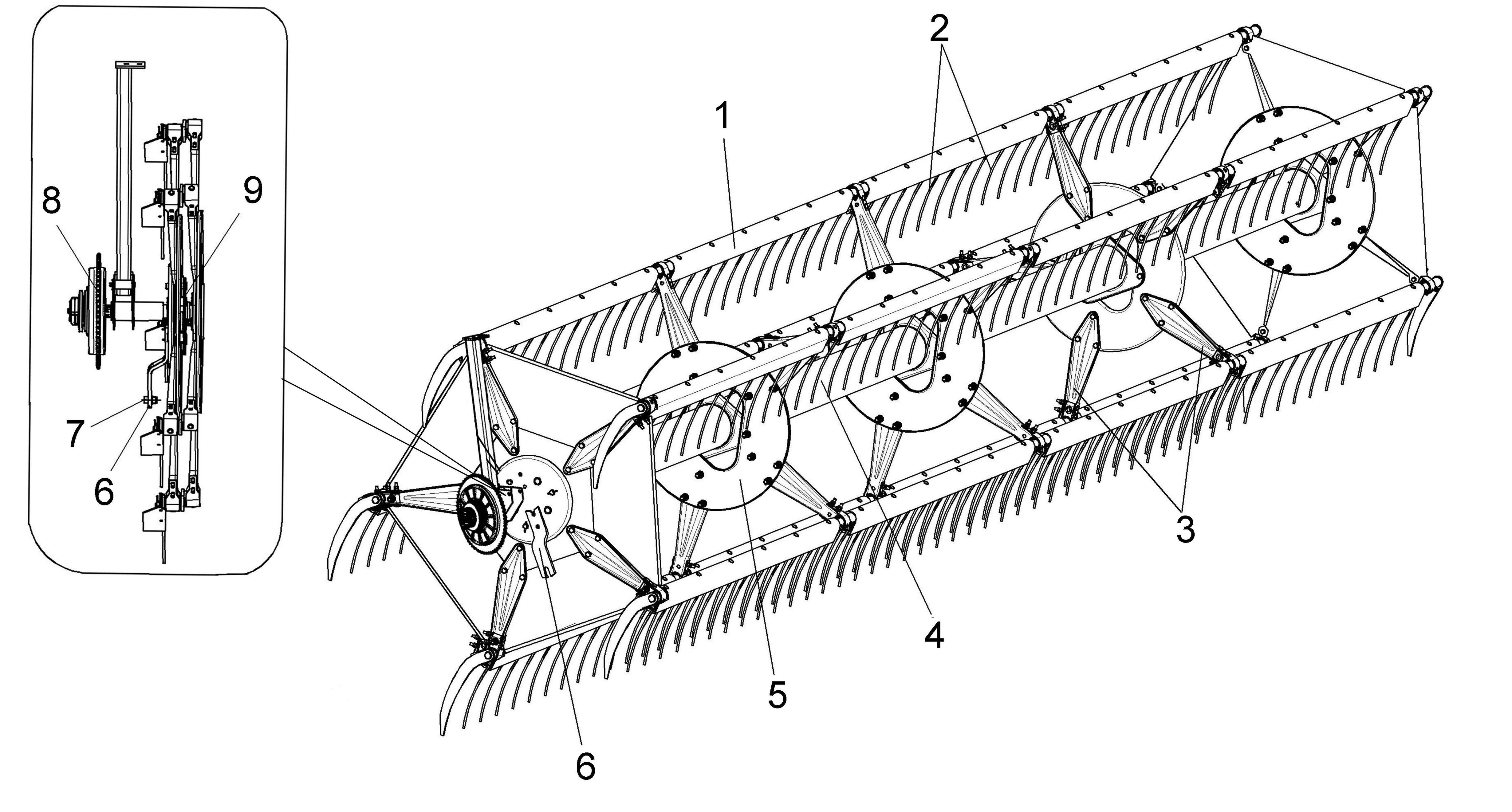
Граблина мотовила Дон 1500
Граблина мотовила Дон 1500



Схема комбайна Акрос 530
Схема комбайна Акрос 530

Схема комбайна Полесье 1218
Схема комбайна Полесье 1218

Технологическая схема комбайна Acros-530
Технологическая схема комбайна Acros-530

Валковая жатка ЖВН-6а
Валковая жатка ЖВН-6а



Габаритные Размеры комбайна Дон 1500б
Габаритные Размеры комбайна Дон 1500б

Схема молотильного аппарата комбайна Дон 1500

Фото: Схема молотильного аппарата комбайна Дон 1500


Валковая жатка ЖВН-6а схема
Валковая жатка ЖВН-6а схема

Комбайн Acros 585 схема
Комбайн Acros 585 схема

Комбайн Дон 1500 габариты
Комбайн Дон 1500 габариты

Роторный комбайн Акрос
Роторный комбайн Акрос

Комбайн Клаас Тукано 580
Комбайн Клаас Тукано 580

Регулировка жатки зерноуборочного комбайна Нива ск5
Регулировка жатки зерноуборочного комбайна Нива ск5

Жатка комбайна Енисей 1200
Жатка комбайна Енисей 1200

Ремни комбайна Торум 750
Ремни комбайна Торум 750



Соломотряс зерноуборочного комбайна
Соломотряс зерноуборочного комбайна

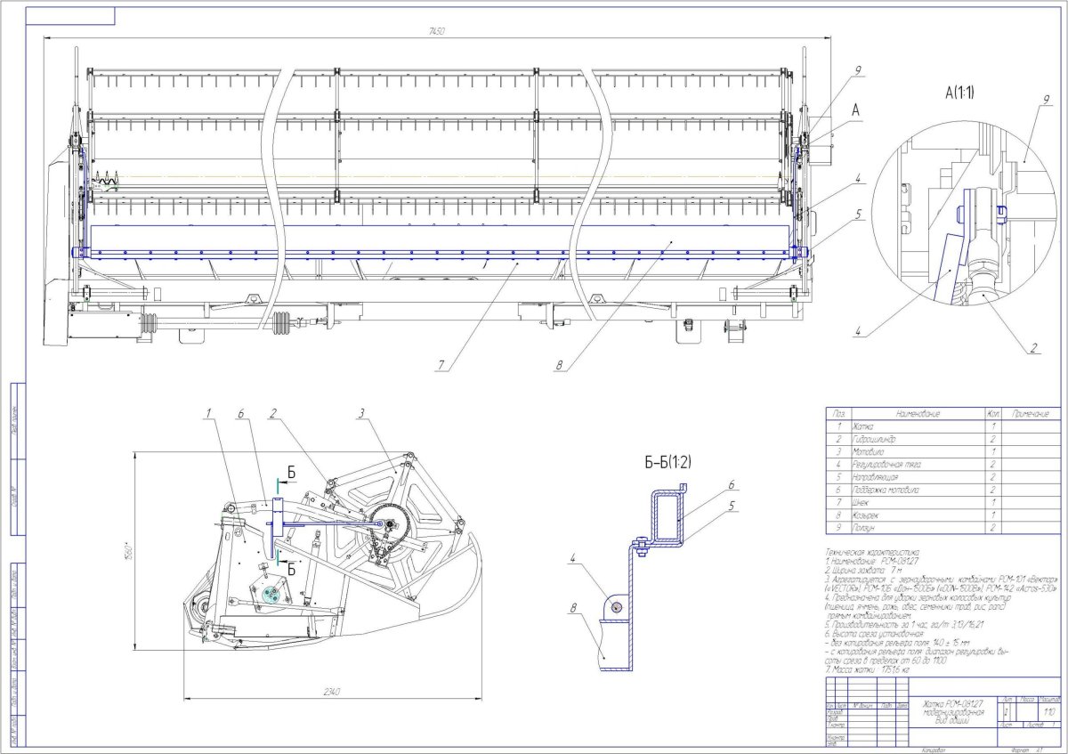
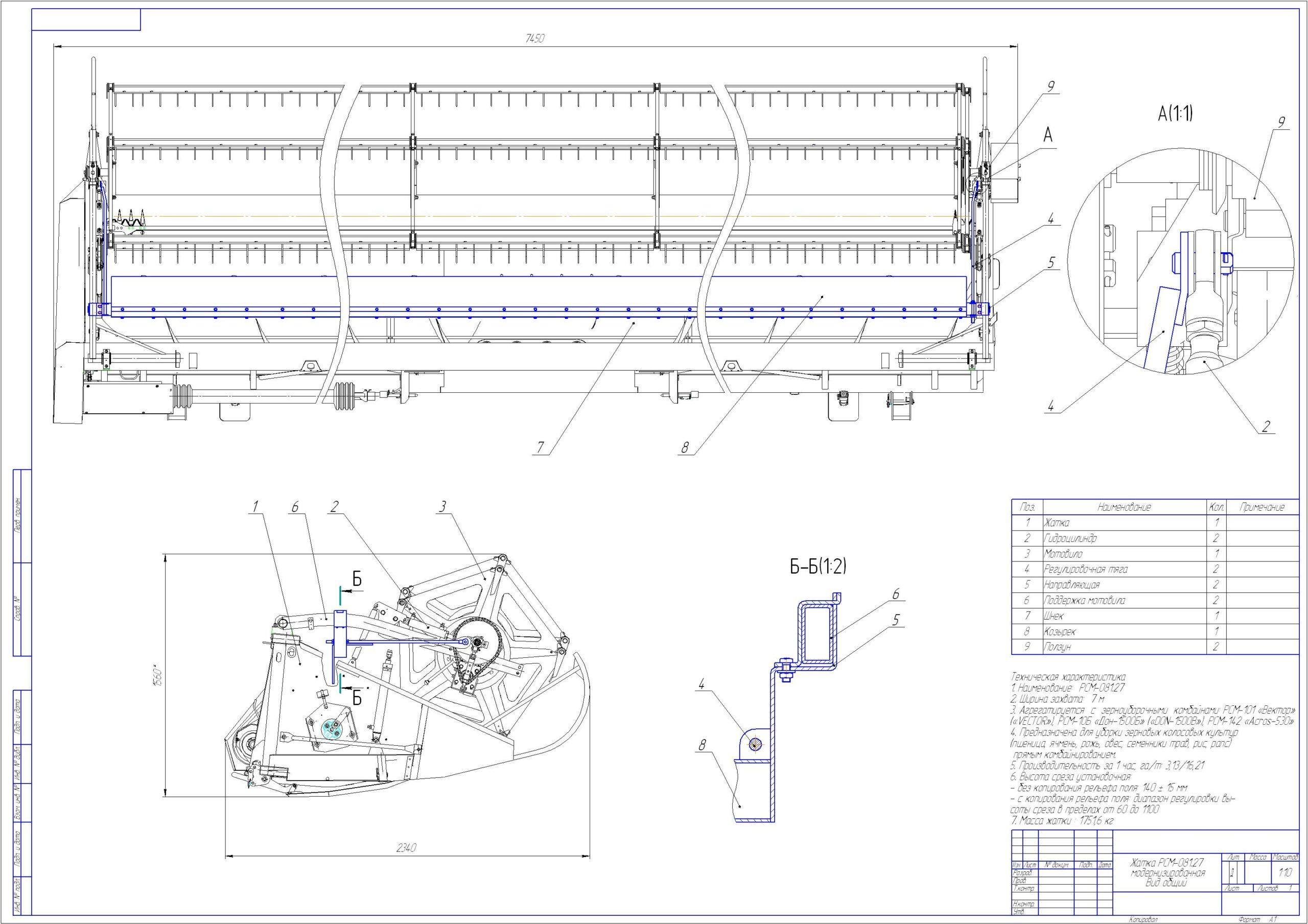
Жатка комбайна Дон 1500 б СХ
Жатка комбайна Дон 1500 б СХ

Комбайн CLAAS Lexion 780
Комбайн CLAAS Lexion 780

Зерноуборочный роторный комбайн Lexion 770
Зерноуборочный роторный комбайн Lexion 770

Кукурузоуборочный комбайн схема
Кукурузоуборочный комбайн схема

Доизмельчитель комбайна патент
Доизмельчитель комбайна патент

Наклонная камера Акрос 595 плюс
Наклонная камера Акрос 595 плюс

Схема роторного молотильного аппарата
Схема роторного молотильного аппарата

Жатка комбайна Дон 1500 б СХ
Жатка комбайна Дон 1500 б СХ

Комбайн Дон 1500 габариты
Комбайн Дон 1500 габариты

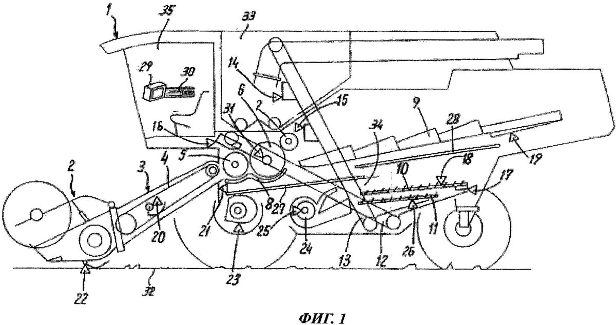
Устройство наклонной камеры зерноуборочного комбайна Дон 1500

Фото: Устройство наклонной камеры зерноуборочного комбайна Дон 1500


Схема зерноуборочного комбайна
Схема зерноуборочного комбайна

Зерноуборочный комбайн СК-10 ротор
Зерноуборочный комбайн СК-10 ротор

Регулировка жатки комбайна Дон 1500
Регулировка жатки комбайна Дон 1500







Комбайн Торум 740
Комбайн Торум 740

Молотильный аппарат зерноуборочного комбайна
Молотильный аппарат зерноуборочного комбайна

Чертеж вентилятора зерноуборочного комбайна
Чертеж вентилятора зерноуборочного комбайна

Самоходная плодоуборочная машина МПУ-1а
Самоходная плодоуборочная машина МПУ-1а

Соломотряс зерноуборочного комбайна Дон-1500
Соломотряс зерноуборочного комбайна Дон-1500

Шнек жатки комбайна Дон 1500
Шнек жатки комбайна Дон 1500



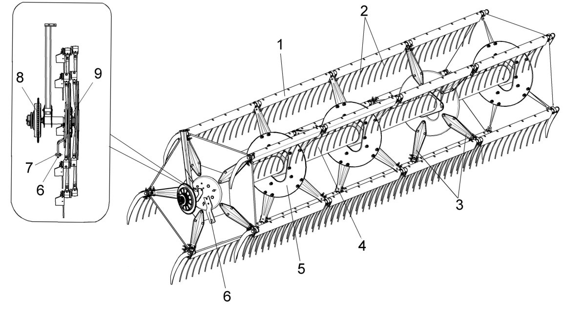
Жатка комбайна Полесье 1218 каталог запчастей
Жатка комбайна Полесье 1218 каталог запчастей

Наклонная камера Акрос 595
Наклонная камера Акрос 595

Схема ремней комбайна Полесье КЗС 1218
Схема ремней комбайна Полесье КЗС 1218



Молотилка комбайна СК 5 Нива
Молотилка комбайна СК 5 Нива

Барабан ускоритель комбайн КЗС-1218
Барабан ускоритель комбайн КЗС-1218

Вектор 410 комбайн соломотрясы
Вектор 410 комбайн соломотрясы

Шнек бункера Нива СК 5
Шнек бункера Нива СК 5

Схема ремней РСМ 161 комбайн
Схема ремней РСМ 161 комбайн



Габариты комбайна Дон 1500б
Габариты комбайна Дон 1500б

Похожие фото:

Комментарии
Минимальная длина комментария - 50 знаков. комментарии модерируются
Кликните на изображение чтобы обновить код, если он неразборчив