Машинатор » Дифференциал с повышенным внутренним трением

Дифференциал с повышенным внутренним трением

13 ноя
---
3
0

Дисковая блокировка дифференциала
Дисковая блокировка дифференциала

Червячный дифференциал торсен
Червячный дифференциал торсен

Дифференциал LSD Toyota
Дифференциал LSD Toyota

Дифференциал Toyota Crown
Дифференциал Toyota Crown

Дифференциал Torsen t2
Дифференциал Torsen t2

Limited Slip Differential
Limited Slip Differential

Самоблок на ниву 2121
Самоблок на ниву 2121

Самоблокирующийся дифференциал Рено Дастер
Самоблокирующийся дифференциал Рено Дастер



Червячный дифференциал торсен
Червячный дифференциал торсен

Передний мост AWS, 4ws, LSD JCB

Фото: Передний мост AWS, 4ws, LSD JCB




Eaton Detroit Truetrac
Eaton Detroit Truetrac

Кулачковый дифференциал ГАЗ 66
Кулачковый дифференциал ГАЗ 66

Самоблокирующийся дифференциал на ниву
Самоблокирующийся дифференциал на ниву

Самоблокирующийся героторный дифференциал.
Самоблокирующийся героторный дифференциал.

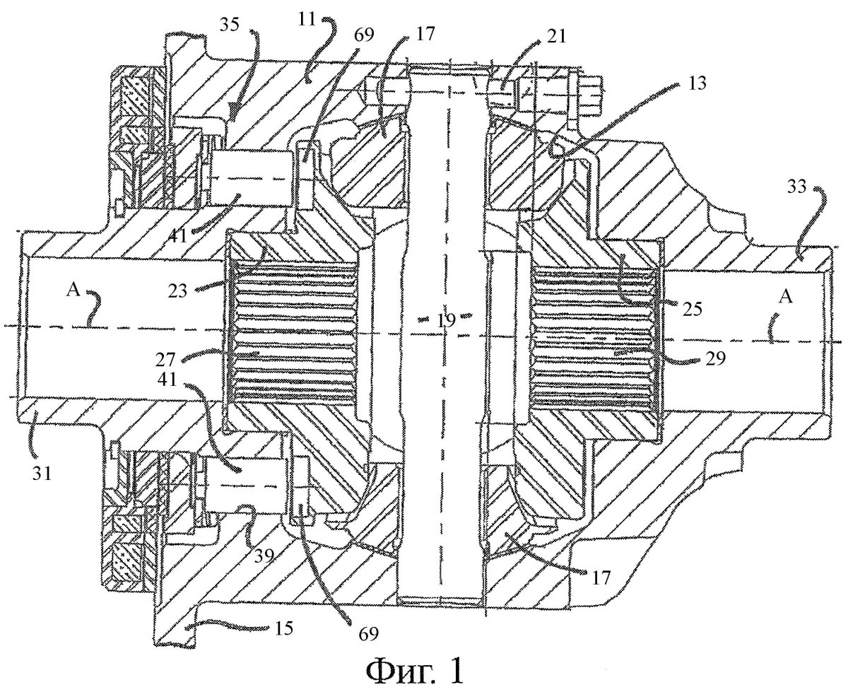
Дифференциал повышенного трения
Дифференциал повышенного трения

LSD дифференциал
LSD дифференциал





Кулачковый дифференциал повышенного трения ГАЗ 66
Кулачковый дифференциал повышенного трения ГАЗ 66



Электрическая блокировка дифференциала УАЗ Патриот
Электрическая блокировка дифференциала УАЗ Патриот

Самоблокирующийся дифференциал кинематическая схема
Самоблокирующийся дифференциал кинематическая схема

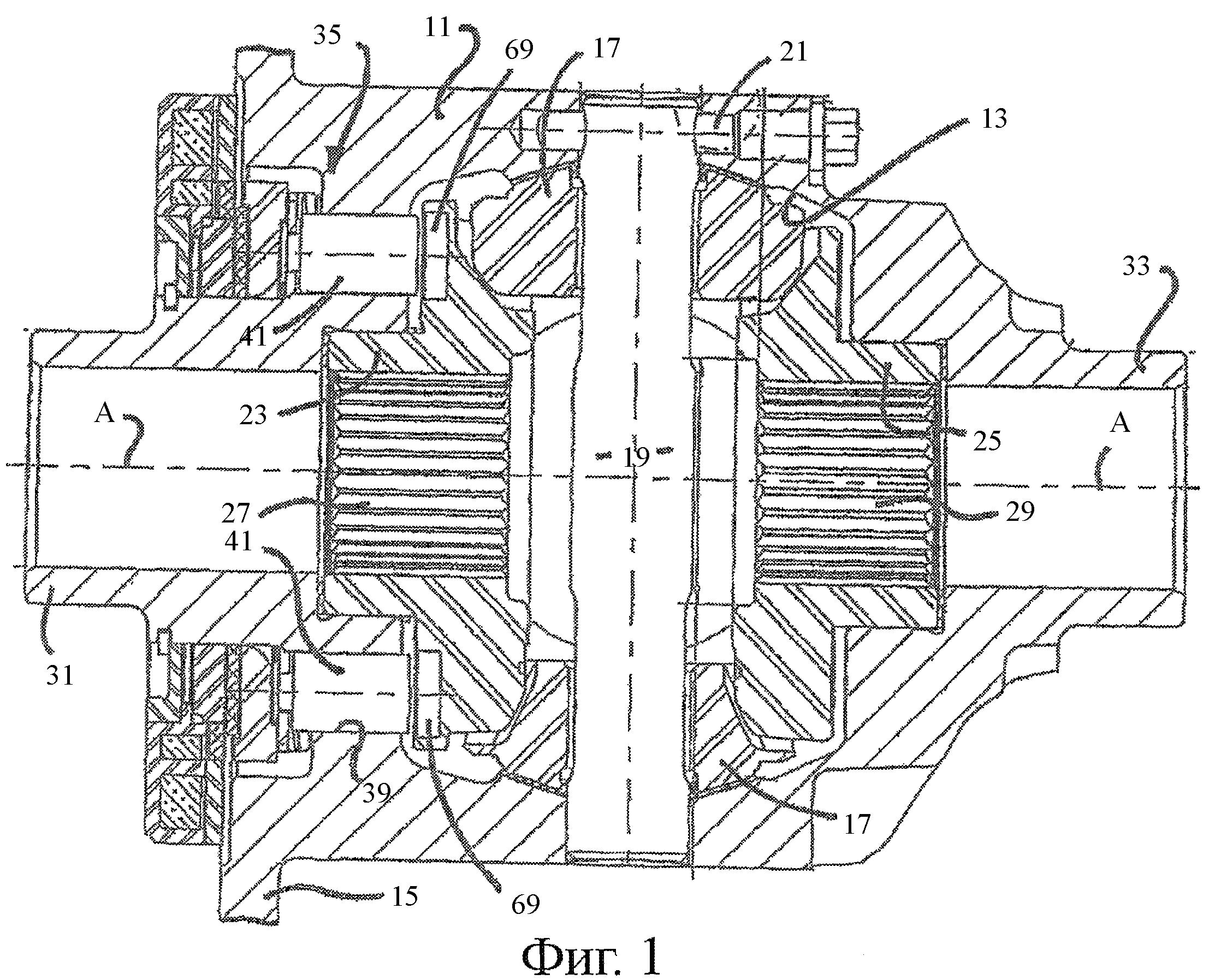
Дифференциал повышенного трения
Дифференциал повышенного трения

Дифференциал 3д модель
Дифференциал 3д модель

Система электронной блокировки дифференциала
Система электронной блокировки дифференциала







Дифференциал ограниченного проскальзывания
Дифференциал ограниченного проскальзывания

Дифференциал автомобиля ВАЗ 2108
Дифференциал автомобиля ВАЗ 2108

Дифференциал Torsen t2
Дифференциал Torsen t2





LSD Subaru
LSD Subaru

Червячный самоблок на УАЗ
Червячный самоблок на УАЗ







Классификация дифференциалов
Классификация дифференциалов







Блокировка дифференциала заднего моста
Блокировка дифференциала заднего моста

Кулачковый дифференциал ГАЗ 66
Кулачковый дифференциал ГАЗ 66





Блокировка дифференциала торсен
Блокировка дифференциала торсен



Дифференциал AVT Нива 4-х сателлитный
Дифференциал AVT Нива 4-х сателлитный



Дифференциал LSD Toyota
Дифференциал LSD Toyota

Блокировка дифференциала на УАЗ
Блокировка дифференциала на УАЗ

Похожие фото:

Комментарии
Минимальная длина комментария - 50 знаков. комментарии модерируются
Кликните на изображение чтобы обновить код, если он неразборчив