Машинатор » Аэродинамическая плоскость в автомобиле

Аэродинамическая плоскость в автомобиле

24 ноя
---
2
0

Аэродинамика Субару
Аэродинамика Субару

Аэродинамика автомобиля
Аэродинамика автомобиля

Аэродинамика 757
Аэродинамика 757

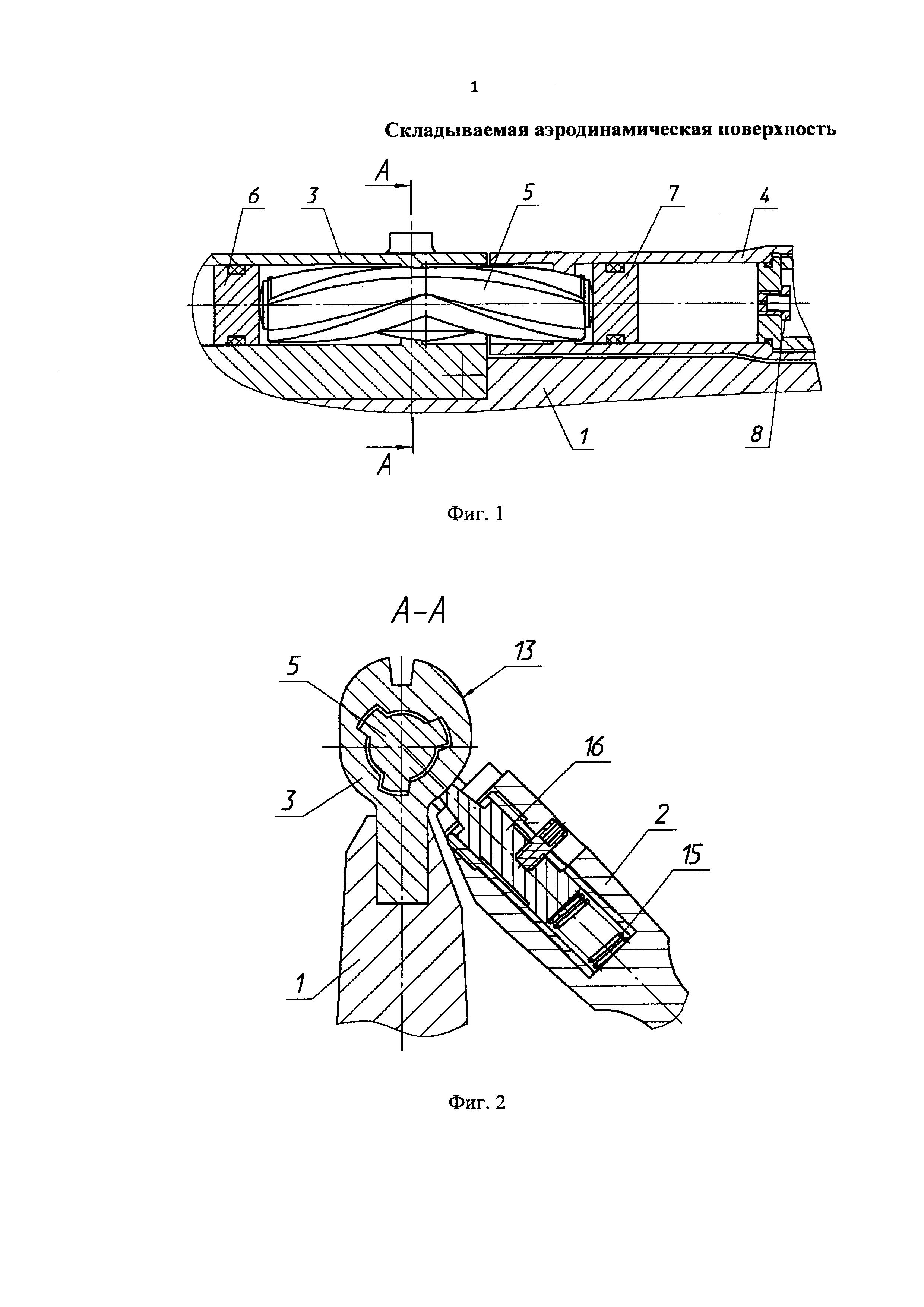
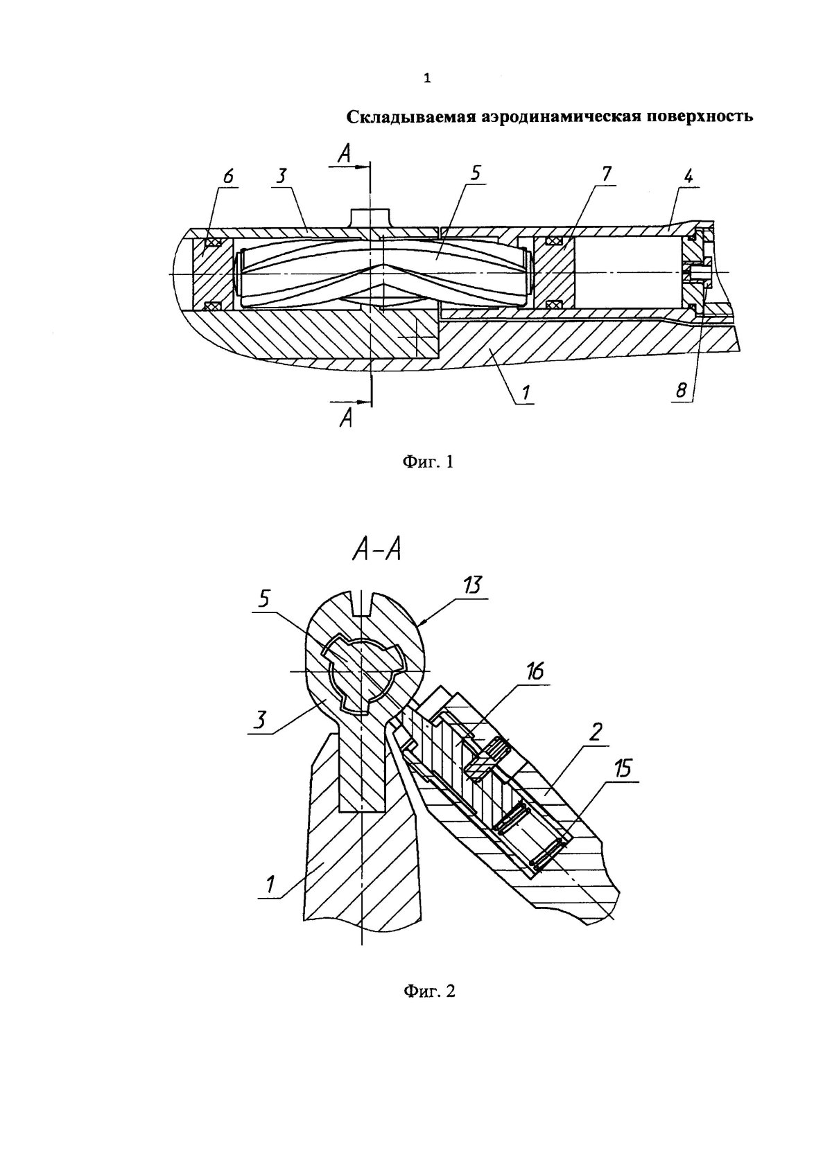
Продольная плоскость
Продольная плоскость

Аэродинамика Субару
Аэродинамика Субару

MCLAREN f1 аэродинамика
MCLAREN f1 аэродинамика

Аэродинамика 2114
Аэродинамика 2114

Аэродинамика ВАЗ 2107
Аэродинамика ВАЗ 2107

Туннели Вентури формула 1
Туннели Вентури формула 1

Drag Lift
Drag Lift

Аэродинамика ф1

Фото: Аэродинамика ф1


Аэродинамика автомобиля
Аэродинамика автомобиля

Схема аэродинамики автомобиля
Схема аэродинамики автомобиля

Аэродинамические элементы автомобиля
Аэродинамические элементы автомобиля

Аэродинамические элементы автомобиля
Аэродинамические элементы автомобиля

Порше 911 днище
Порше 911 днище

Аэродинамика Мерседес АМГ 1
Аэродинамика Мерседес АМГ 1

Машина в аэротрубе
Машина в аэротрубе

Аэродинамика ф1
Аэродинамика ф1



Рассекатель воздуха на машине
Рассекатель воздуха на машине

Пластик в автомобилестроении
Пластик в автомобилестроении

Чехол подушка безопасности для телефона купить
Чехол подушка безопасности для телефона купить

Аэродинамика Теслы
Аэродинамика Теслы

Расчет прочности в компасе 3д
Расчет прочности в компасе 3д



Аэродинамика автомобиля
Аэродинамика автомобиля



Аэродинамика болида формулы 1
Аэродинамика болида формулы 1

Аэродинамика гоночного автомобиля
Аэродинамика гоночного автомобиля

Перпендикулярно продольной оси транспортного средства
Перпендикулярно продольной оси транспортного средства

Идеальная аэродинамическая форма
Идеальная аэродинамическая форма

Inno Fairing 790мм
Inno Fairing 790мм

Аэродинамика Порше Панамера
Аэродинамика Порше Панамера

Tatra аэродинамика
Tatra аэродинамика

Как работает антикрыло
Как работает антикрыло

Визуализация течения в аэродинамической трубе
Визуализация течения в аэродинамической трубе

Эволюция аэродинамики автомобиля
Эволюция аэродинамики автомобиля

Porsche 922 gt3 Ansys аэродинамика
Porsche 922 gt3 Ansys аэродинамика

Аэродинамические рассекатели

Фото: Аэродинамические рассекатели






Потоки воздуха в автомобиле
Потоки воздуха в автомобиле

Аэродинамическая труба для автомобилей
Аэродинамическая труба для автомобилей

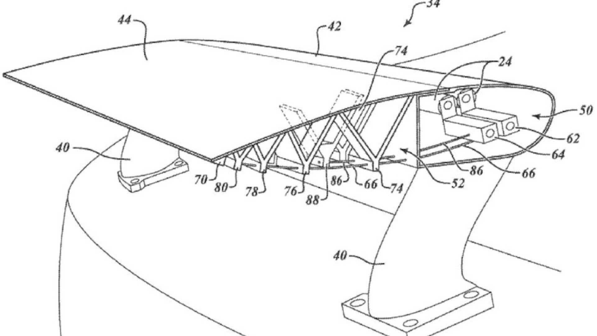
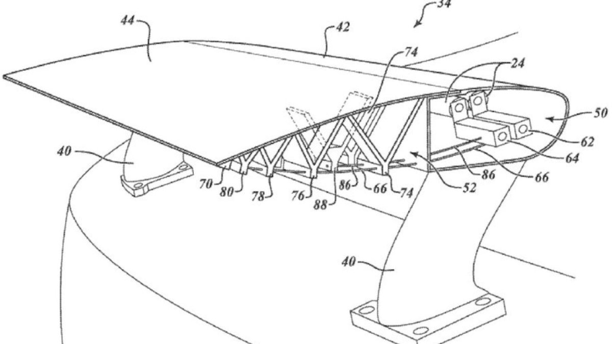
Аэродинамическая поверхность
Аэродинамическая поверхность

Ф1 аэродинамическая труба
Ф1 аэродинамическая труба

Модель самолета в Солид Воркс
Модель самолета в Солид Воркс

Opel TCR
Opel TCR

Тесла КИБЕРТРАК
Тесла КИБЕРТРАК

Аэродинамика 757
Аэродинамика 757

Поверхность автомобиля ровная
Поверхность автомобиля ровная



Сплиттер аэродинамика
Сплиттер аэродинамика

Похожие фото:

Комментарии
Минимальная длина комментария - 50 знаков. комментарии модерируются
Кликните на изображение чтобы обновить код, если он неразборчив