Машинатор » Аэродинамическая схема

Аэродинамическая схема

26 ноя
---
2
0

Ил 112 чертеж
Ил 112 чертеж

Аэродинамическая схема поворотное крыло
Аэродинамическая схема поворотное крыло

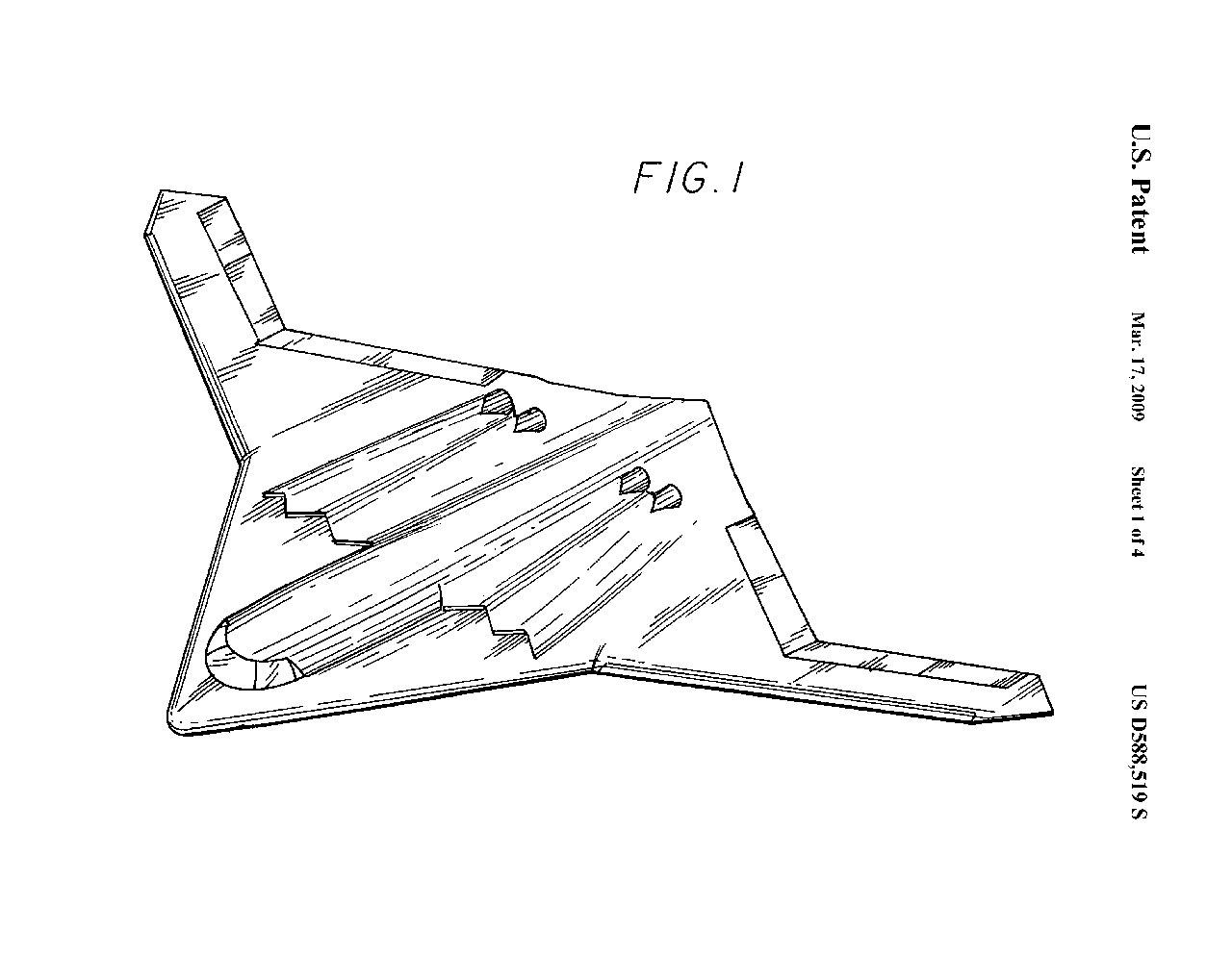
Бесхвостка аэродинамическая схема
Бесхвостка аэродинамическая схема



Аэродинамические схемы самолетов бесхвостка
Аэродинамические схемы самолетов бесхвостка

Бесхвостка аэродинамическая схема
Бесхвостка аэродинамическая схема

Аэродинамическая схема самолета утка
Аэродинамическая схема самолета утка

Самолет миг 8 утка
Самолет миг 8 утка

Аэродинамическая схема летающее крыло
Аэродинамическая схема летающее крыло

Бесхвостка аэродинамическая схема
Бесхвостка аэродинамическая схема







Схема дозвуковой аэродинамической трубы
Схема дозвуковой аэродинамической трубы

Продольный триплан аэродинамическая схема
Продольный триплан аэродинамическая схема

Утка аэродинамическая схема Рутан
Утка аэродинамическая схема Рутан

Су 57 аэродинамическая схема
Су 57 аэродинамическая схема





Схема сверхзвуковой аэродинамической трубы

Фото: Схема сверхзвуковой аэродинамической трубы


Схема ПТРК 9к111
Схема ПТРК 9к111

Краснополь управляемый снаряд схема
Краснополь управляемый снаряд схема

Самолет миг 8 утка
Самолет миг 8 утка

Схема сверхзвуковой аэродинамической трубы
Схема сверхзвуковой аэродинамической трубы

Угол поперечной статической устойчивости малогабаритного трактора
Угол поперечной статической устойчивости малогабаритного трактора

Эпюра подъемной силы крыла
Эпюра подъемной силы крыла

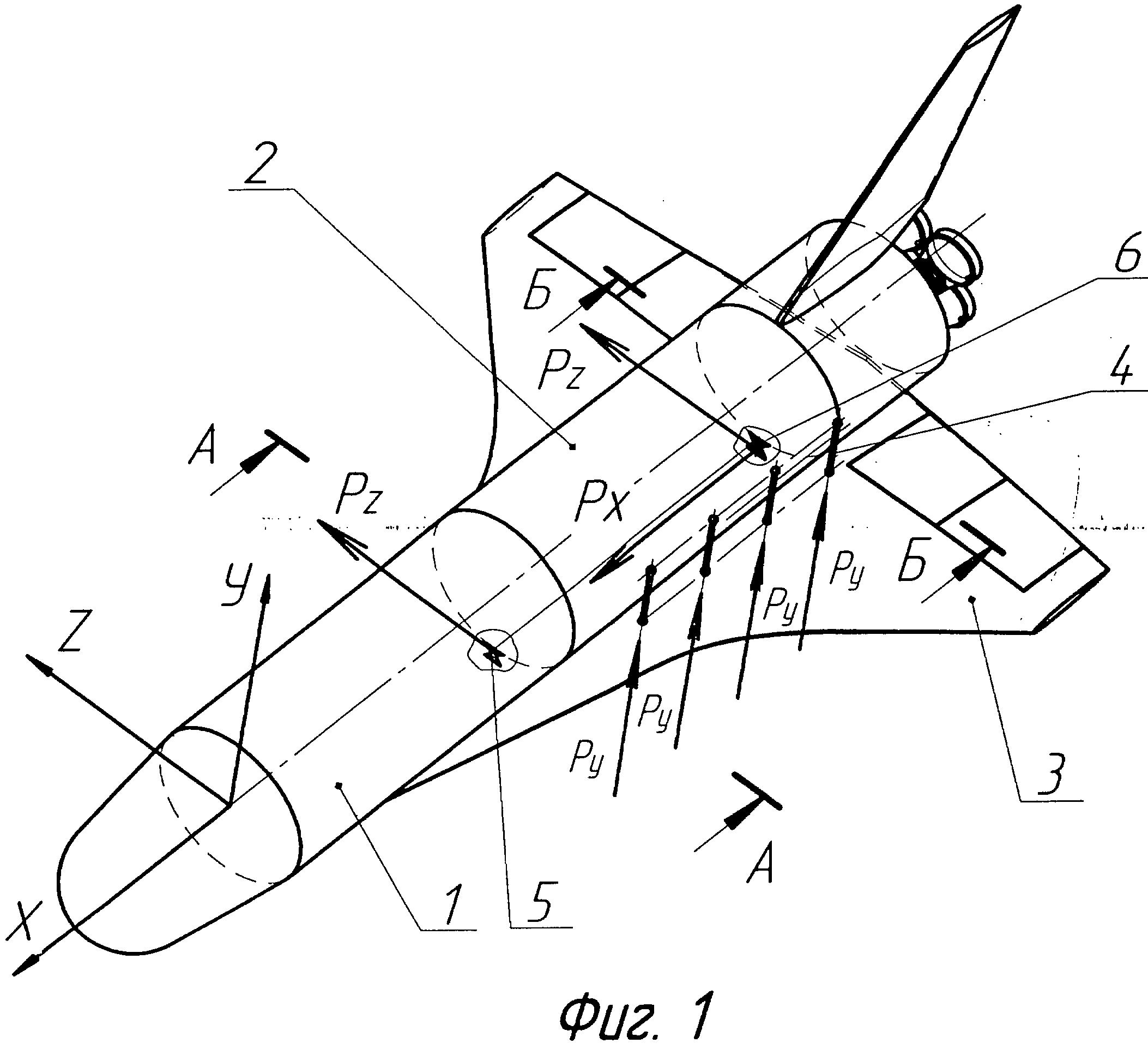
Схема аэродинамики самолета
Схема аэродинамики самолета

Уравнения продольного движения самолета
Уравнения продольного движения самолета



Соболев самолеты особых схем
Соболев самолеты особых схем

Аэродинамика зданий обтекание здания потоком воздуха
Аэродинамика зданий обтекание здания потоком воздуха

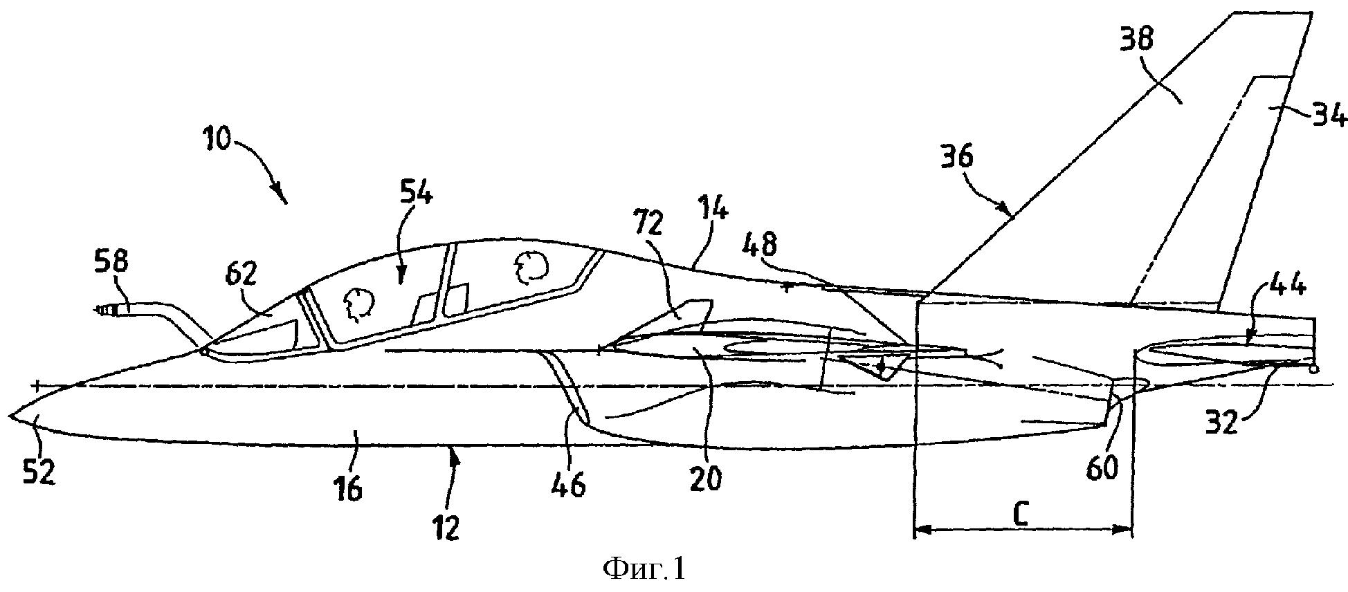
Центровка самолёта для нормальной схемы
Центровка самолёта для нормальной схемы

Летательный аппарат экип схема
Летательный аппарат экип схема



Летающее крыло FX 61 чертеж
Летающее крыло FX 61 чертеж

Бесхвостка аэродинамическая схема
Бесхвостка аэродинамическая схема

Аэродинамические схемы самолетов
Аэродинамические схемы самолетов

Су-47 истребитель
Су-47 истребитель

Продольная управляемость самолета
Продольная управляемость самолета

Аэродинамическая компоновка самолета

Фото: Аэродинамическая компоновка самолета


Аэродинамические схемы беспилотников
Аэродинамические схемы беспилотников



Чертежи самолета ил114
Чертежи самолета ил114

Конвертируемая аэродинамическая схема самолета
Конвертируемая аэродинамическая схема самолета

Поляра Лилиенталя
Поляра Лилиенталя



Хв-70 Валькирия
Хв-70 Валькирия

Рабочее колесо вентилятора ВЦ 14-46
Рабочее колесо вентилятора ВЦ 14-46

Аэродинамический профиль для воздушных винтов вс-2
Аэродинамический профиль для воздушных винтов вс-2

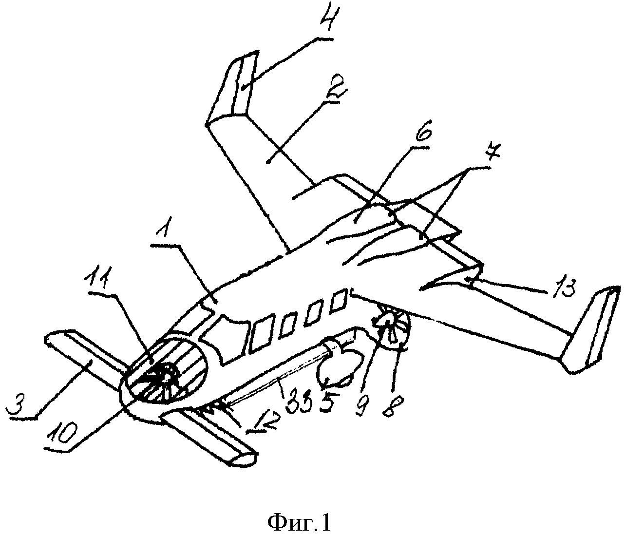
Расположение двигателей на самолете
Расположение двигателей на самолете





Ту 34 самолет
Ту 34 самолет

Чертежи беспилотника Орион
Чертежи беспилотника Орион

Схемы фюзеляжа БПЛА
Схемы фюзеляжа БПЛА

Миг 23 шасси
Миг 23 шасси

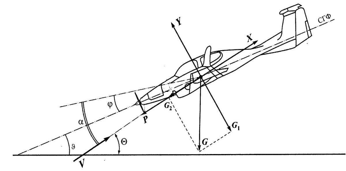
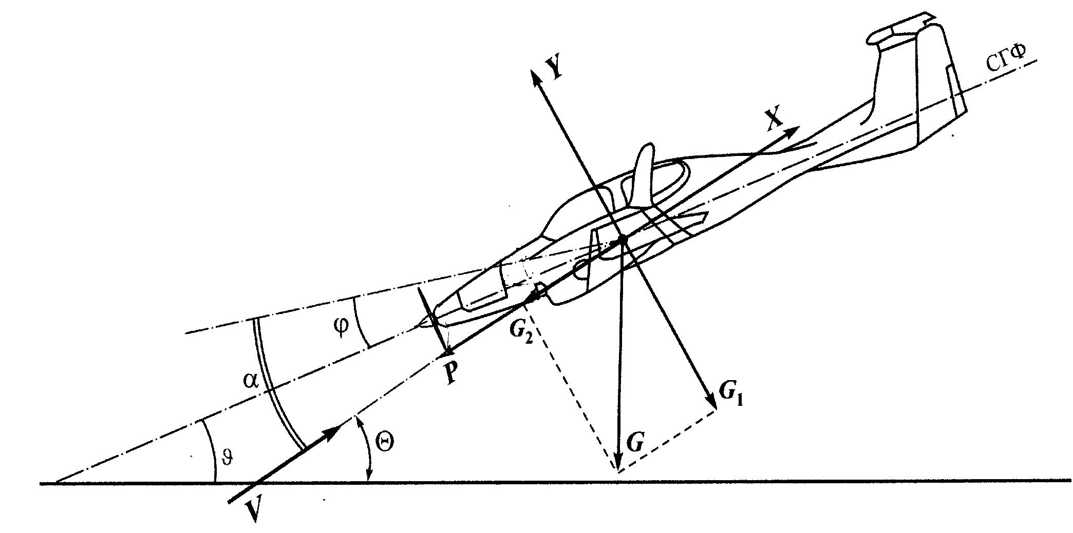
Угол атаки самолета при снижении
Угол атаки самолета при снижении



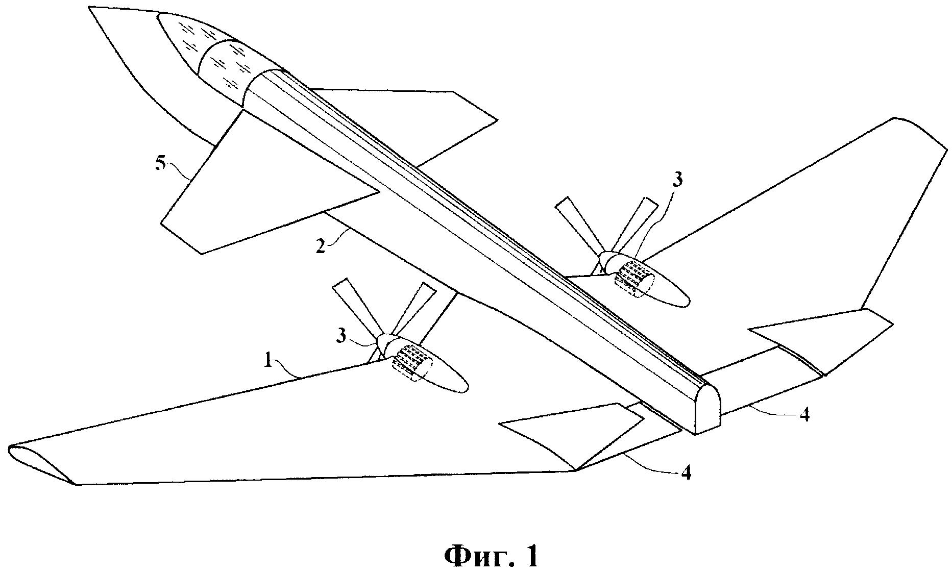
БПЛА самолетного типа с вертикальным взлетом
БПЛА самолетного типа с вертикальным взлетом

Похожие фото:

Комментарии
Минимальная длина комментария - 50 знаков. комментарии модерируются
Кликните на изображение чтобы обновить код, если он неразборчив