Машинатор » Тормозная система

Тормозная система

14 ноя
---
2
0

Задняя тормозная система Рено Дастер 4х4
Задняя тормозная система Рено Дастер 4х4



Тормозная система бош
Тормозная система бош

Тормозная система Порше
Тормозная система Порше

Тормозная система Газель 2705
Тормозная система Газель 2705



Стенд «тормозная система прицепа»
Стенд «тормозная система прицепа»

УАЗ 452 Буханка тормозная система
УАЗ 452 Буханка тормозная система

Тормозная система g63
Тормозная система g63

Тормозная система ЗИЛ 130 С пневмоприводом
Тормозная система ЗИЛ 130 С пневмоприводом

Тормозная система КАМАЗ 55102

Фото: Тормозная система КАМАЗ 55102


Тормозная система Нива 2131
Тормозная система Нива 2131

Схема тормозной системы ПТС 4
Схема тормозной системы ПТС 4

Тормозная система ВАЗ 2106 схема
Тормозная система ВАЗ 2106 схема

Тормозная система легкового автомобиля схема
Тормозная система легкового автомобиля схема

Тормозные трубки Газель 3302
Тормозные трубки Газель 3302

Схема тормозной системы ГАЗ 53
Схема тормозной системы ГАЗ 53

Тормозная система Кировец к 700
Тормозная система Кировец к 700

Тормозная система Урал 4320 Урал 4320
Тормозная система Урал 4320 Урал 4320

Тормозная система КАМАЗ 55111

Фото: Тормозная система КАМАЗ 55111


Тормозная система Вольво s40
Тормозная система Вольво s40

Тормозная система погрузчика LG 936 Л
Тормозная система погрузчика LG 936 Л

Тормозная система ГАЗ 31105
Тормозная система ГАЗ 31105

Тормозная система УАЗ 390995
Тормозная система УАЗ 390995

Тормозная система УАЗ фермер схема
Тормозная система УАЗ фермер схема

Тормозная система легкового автомобиля схема
Тормозная система легкового автомобиля схема

Тормозная система автомобиля с АБС
Тормозная система автомобиля с АБС

Система тормозных трубок на ВАЗ 2114
Система тормозных трубок на ВАЗ 2114

Схема тормозной системы Шевроле Нива 2123
Схема тормозной системы Шевроле Нива 2123

Тормозная система ЗИЛ 131
Тормозная система ЗИЛ 131

Тормозная система с пневмоприводом схема
Тормозная система с пневмоприводом схема

Схема тормозной системы ВАЗ 2107
Схема тормозной системы ВАЗ 2107

Тормозная система ВАЗ 2123 Шевроле Нива схема
Тормозная система ВАЗ 2123 Шевроле Нива схема

Схема контуров тормозной системы
Схема контуров тормозной системы

Пневматический тормозной привод КАМАЗ 5320
Пневматический тормозной привод КАМАЗ 5320

Тормозная система ВАЗ 2170 С АБС
Тормозная система ВАЗ 2170 С АБС

Тормозная система Урал 4320 Урал 4320
Тормозная система Урал 4320 Урал 4320

ЗИЛ 131 тормозная система пневматическая
ЗИЛ 131 тормозная система пневматическая

Воздушная система Вольво fh12
Воздушная система Вольво fh12

Гидравлический тормоз схема устройства

Фото: Гидравлический тормоз схема устройства


Схема тормозной системы КАМАЗ 5320
Схема тормозной системы КАМАЗ 5320



Тормозная система Форд Фьюжн 1.6
Тормозная система Форд Фьюжн 1.6

Тормозная система m Performance f30
Тормозная система m Performance f30

Схема тормозной магистрали ВАЗ 2110
Схема тормозной магистрали ВАЗ 2110

Тормозная система ГАЗ 3102 схема
Тормозная система ГАЗ 3102 схема

Пневматическая тормозная система ЗИЛ 130
Пневматическая тормозная система ЗИЛ 130

Тормозная система трактора ПТС 4
Тормозная система трактора ПТС 4



Тормозная система Газель 3302
Тормозная система Газель 3302

Схема прокачки тормозов Соболь 2752
Схема прокачки тормозов Соболь 2752

Тормозная система Нива 21213
Тормозная система Нива 21213

Задняя тормозная система 2123
Задняя тормозная система 2123

Схема автоматических тормозов Локомотива
Схема автоматических тормозов Локомотива

Тормозная система w220
Тормозная система w220

Тормозная система БМВ м5
Тормозная система БМВ м5

Тормозная система XCMG zl30g
Тормозная система XCMG zl30g

Ремонт подвески авто
Ремонт подвески авто

Тормозная система ВАЗ 2101
Тормозная система ВАЗ 2101

Тормозная схема Москвич 412

Фото: Тормозная схема Москвич 412


Тормозная система с пневматическим приводом ЗИЛ 130
Тормозная система с пневматическим приводом ЗИЛ 130

Тормозная система прицепа КАМАЗ 5320
Тормозная система прицепа КАМАЗ 5320

Схема тормозной системы УАЗ Патриот без АБС
Схема тормозной системы УАЗ Патриот без АБС

Тормозная система Вабко на полуприцепе
Тормозная система Вабко на полуприцепе

Трубка тормозная Калина 1 с АБС
Трубка тормозная Калина 1 с АБС

Пневматический привод тормозов ЗИЛ 131
Пневматический привод тормозов ЗИЛ 131

Тормозные контуры Нива Шевроле
Тормозные контуры Нива Шевроле

Тормозная система дисковая на автомобиле схема
Тормозная система дисковая на автомобиле схема

ABS тормозная система
ABS тормозная система

Тормозная система ВАЗ 1118 без АБС схема
Тормозная система ВАЗ 1118 без АБС схема

Схема тормозной системы Москвич 412 ИЖ
Схема тормозной системы Москвич 412 ИЖ



Схема рабочей тормозной системы с гидравлическим приводом
Схема рабочей тормозной системы с гидравлическим приводом

Тормозная система на Лексус 570
Тормозная система на Лексус 570

Схема тормозной системы ВАЗ 2110
Схема тормозной системы ВАЗ 2110

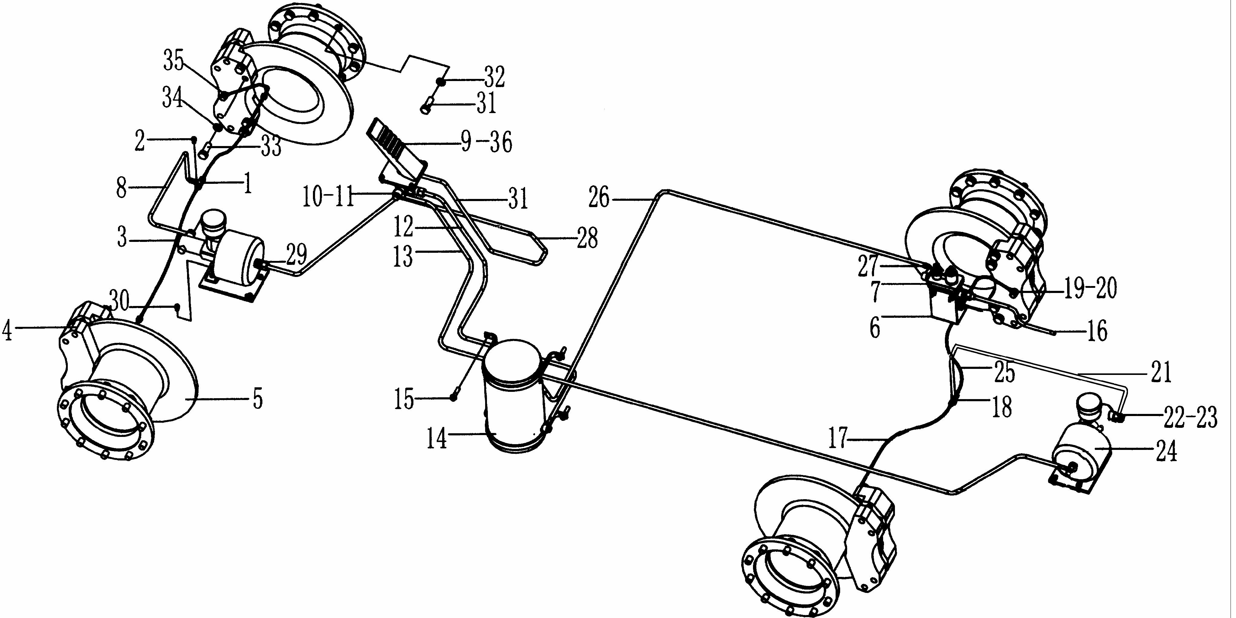
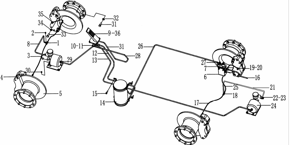
Тормозная система дисковая (в сборе, передняя, l-1100mm)
Тормозная система дисковая (в сборе, передняя, l-1100mm)

Тормозная система Лада Калина
Тормозная система Лада Калина

Тормозная система УАЗ Патриот
Тормозная система УАЗ Патриот

Тормозная схема Урал 4320 тормозная система
Тормозная схема Урал 4320 тормозная система

Похожие фото:

Комментарии
Минимальная длина комментария - 50 знаков. комментарии модерируются
Кликните на изображение чтобы обновить код, если он неразборчив