Машинатор » Двигатель нк 93

Двигатель нк 93

12 ноя
---
2
0

Ил-76 ЛЛ НК-93
Ил-76 ЛЛ НК-93

Двигатель Кузнецова НК-93
Двигатель Кузнецова НК-93

Винтовентиляторный двигатель НК-93
Винтовентиляторный двигатель НК-93

Двигатель Кузнецова НК-93
Двигатель Кузнецова НК-93

Двигатель Кузнецова НК-93
Двигатель Кузнецова НК-93

Ил 76 двигатели
Ил 76 двигатели

Ил-76 ЛЛ НК-93
Ил-76 ЛЛ НК-93

НК-93 двигатель
НК-93 двигатель

Авиационным двигателем Кузнецова НК-93
Авиационным двигателем Кузнецова НК-93

Винтовентиляторный двигатель НК-93
Винтовентиляторный двигатель НК-93

Винт ан70

Фото: Винт ан70


Антонов АН-70
Антонов АН-70

Д-27 Винтовентиляторный двигатель
Д-27 Винтовентиляторный двигатель

Д-27 Винтовентиляторный двигатель
Д-27 Винтовентиляторный двигатель

Авиационным двигателем Кузнецова НК-93
Авиационным двигателем Кузнецова НК-93

Ил 76 Пд 14
Ил 76 Пд 14

Двигатель Кузнецова НК-93
Двигатель Кузнецова НК-93

Д-27 Винтовентиляторный двигатель
Д-27 Винтовентиляторный двигатель

НК-93 двигатель
НК-93 двигатель

Винтовентиляторные самолеты

Фото: Винтовентиляторные самолеты


Д-27 Винтовентиляторный двигатель
Д-27 Винтовентиляторный двигатель

Ил-76 ЛЛ НК-93
Ил-76 ЛЛ НК-93

Ил-76лл Пд-14
Ил-76лл Пд-14

Винтовентиляторный двигатель
Винтовентиляторный двигатель

Д-27 Винтовентиляторный двигатель
Д-27 Винтовентиляторный двигатель

Ил 76 76529
Ил 76 76529

Турбовинтовентиляторный двигатель ТВВД
Турбовинтовентиляторный двигатель ТВВД



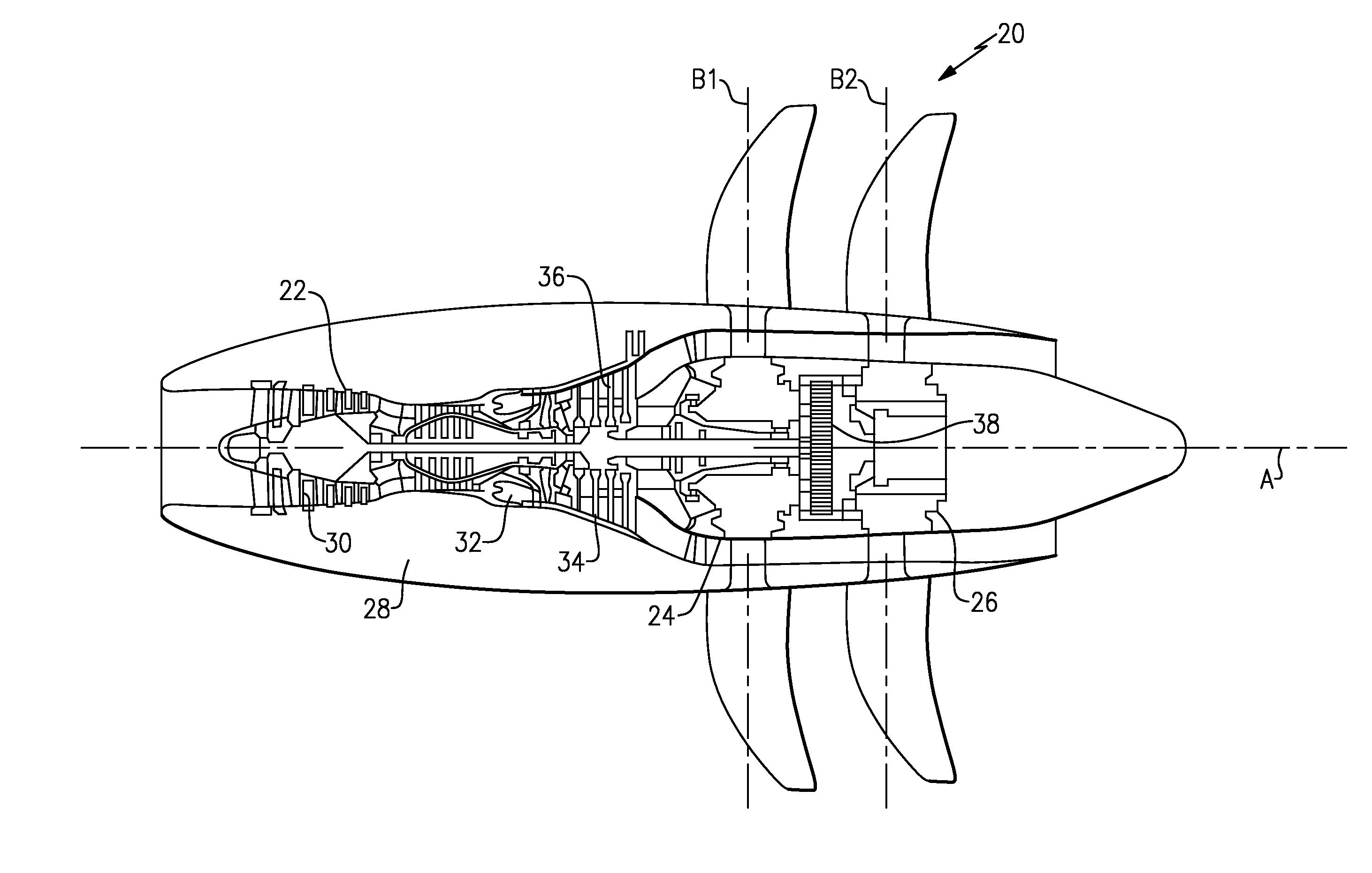
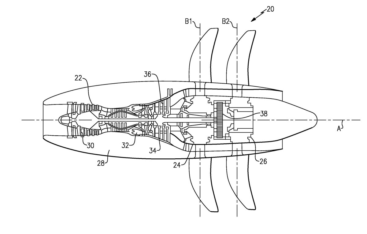
НК-93 двигатель схема
НК-93 двигатель схема

Винт ан70
Винт ан70

ПАО Кузнецова Самара
ПАО Кузнецова Самара

Ил 76 Пд 14
Ил 76 Пд 14

Двигатель РД-33 для миг 29
Двигатель РД-33 для миг 29

Технологический университет Королев камеры сгорания
Технологический университет Королев камеры сгорания

Пд-30 двигатель
Пд-30 двигатель

Кузнецов ОДК двигатели
Кузнецов ОДК двигатели



НК-32 двигатель
НК-32 двигатель

Самолёт ил-76 ЛЛ
Самолёт ил-76 ЛЛ

«Авиационные двигатели и энергетические установки»

Фото: «Авиационные двигатели и энергетические установки»


Реактивный двигатель
Реактивный двигатель

Предприятия Ростеха
Предприятия Ростеха

ОДК Кузнецов Самара
ОДК Кузнецов Самара

Турбовинтовой двигатель НК-12мв
Турбовинтовой двигатель НК-12мв

Предприятия Ростеха
Предприятия Ростеха

Пд-30 двигатель
Пд-30 двигатель

Ил 76 Пд 14
Ил 76 Пд 14



Ту-160 двигатель НК-32
Ту-160 двигатель НК-32

Пермские моторы пд14
Пермские моторы пд14





Д-30ф6 двигатель
Д-30ф6 двигатель

НК-8-2у двигатель
НК-8-2у двигатель

Пермские моторы пд14
Пермские моторы пд14





Ил-96-550 двухпалубный
Ил-96-550 двухпалубный

Ил-76лл Лии Громова
Ил-76лл Лии Громова



Двигатель General Electric f404-ge-400
Двигатель General Electric f404-ge-400

Конструктивная схема авиадвигателя д-30
Конструктивная схема авиадвигателя д-30

General Electric yj93-ge-3
General Electric yj93-ge-3

НК-88 двигатель водородный авиационный
НК-88 двигатель водородный авиационный

Як-42 Ле Бурже
Як-42 Ле Бурже



Проектирование газотурбинных двигателей
Проектирование газотурбинных двигателей




Похожие фото:

Комментарии
Минимальная длина комментария - 50 знаков. комментарии модерируются
Кликните на изображение чтобы обновить код, если он неразборчив