Машинатор » Топливная система самолета

Топливная система самолета

11 дек
---
1
0

Система топливных баков самолета
Система топливных баков самолета

Принципиальная схема топливной системы АН-24
Принципиальная схема топливной системы АН-24





Топливные баки Airbus a320
Топливные баки Airbus a320

Топливные баки SSJ 100
Топливные баки SSJ 100

Топливный бак Мессершмитт
Топливный бак Мессершмитт

Гидравлическая система самолета Боинг 737
Гидравлическая система самолета Боинг 737



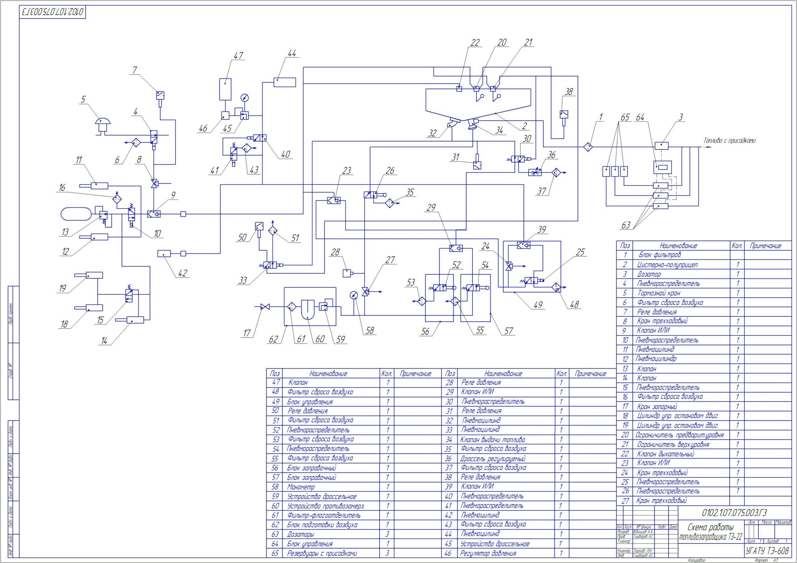
Схема самолета-заправщик
Схема самолета-заправщик



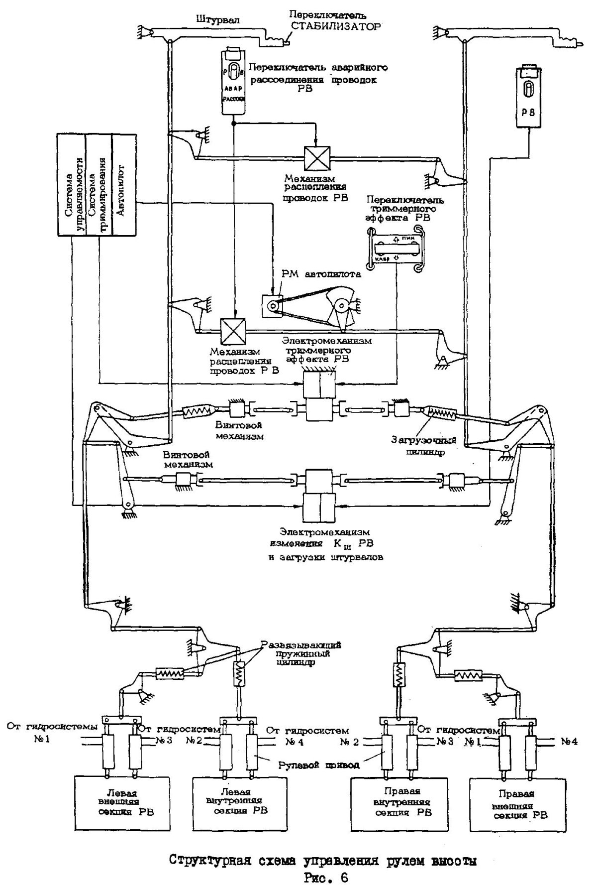
Гидравлическая система самолета
Гидравлическая система самолета

Топливные баки Airbus a320
Топливные баки Airbus a320

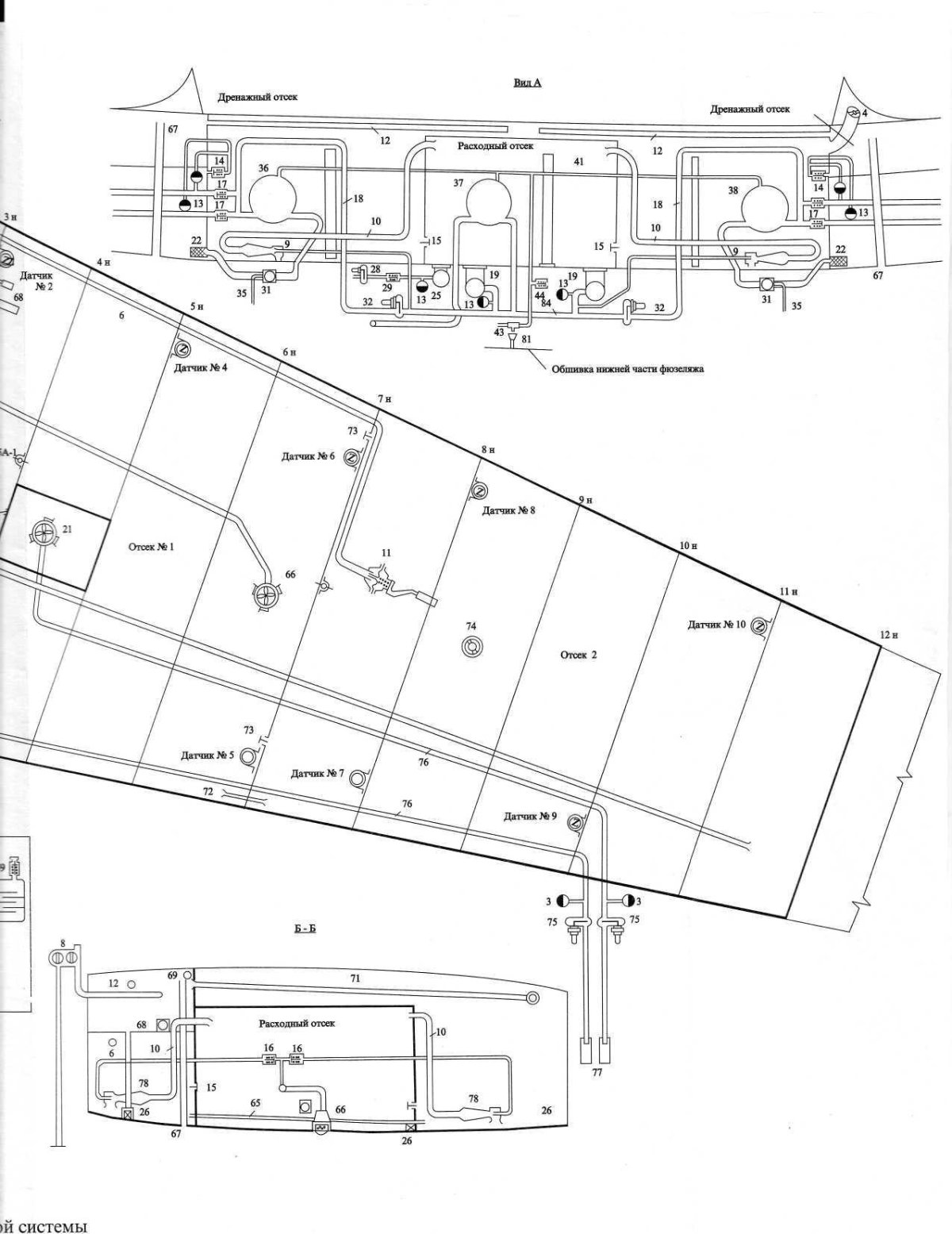
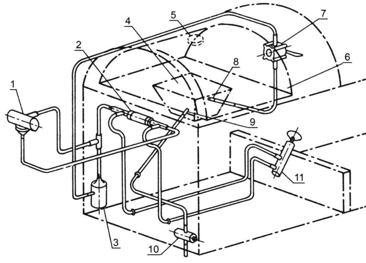
Система дренажа топливных баков самолетов
Система дренажа топливных баков самолетов



Гидросистема Боинг 737
Гидросистема Боинг 737

Гидравлическая система самолета Боинг 737
Гидравлическая система самолета Боинг 737

Структурная схема датчики измерения топлива самолет
Структурная схема датчики измерения топлива самолет

Топливный бак самолета Боинг 737
Топливный бак самолета Боинг 737

Гидравлическая система Боинг 737

Фото: Гидравлическая система Боинг 737


Топливная система двигателя тв2-117
Топливная система двигателя тв2-117

Топливные баки Boeing 777
Топливные баки Boeing 777

Топливный бак миг 29
Топливный бак миг 29

Топливные баки Boeing 737
Топливные баки Boeing 737

Гидравлическая система Boeing 737
Гидравлическая система Boeing 737

Топливная система самолета ту-154м
Топливная система самолета ту-154м







Заправочная горловина CRJ-200
Заправочная горловина CRJ-200



Топливные баки SSJ 100
Топливные баки SSJ 100

Гидравлическая система самолета Боинг 737
Гидравлическая система самолета Боинг 737

Противообледенительная система самолета SSJ 100
Противообледенительная система самолета SSJ 100

Схема самолёта Суперджет 100
Схема самолёта Суперджет 100

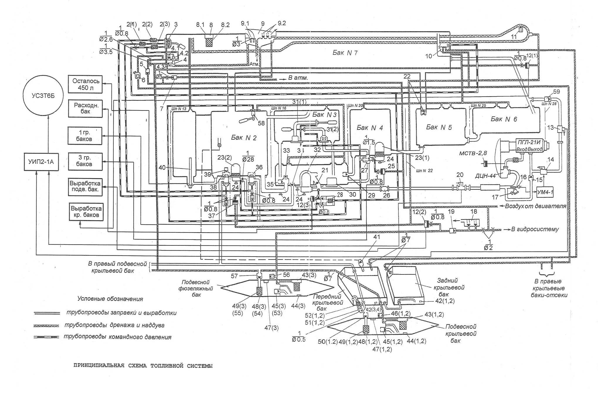
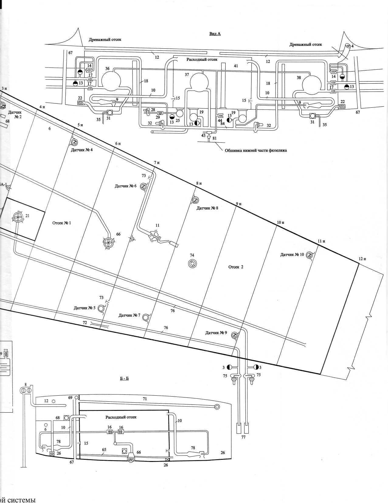
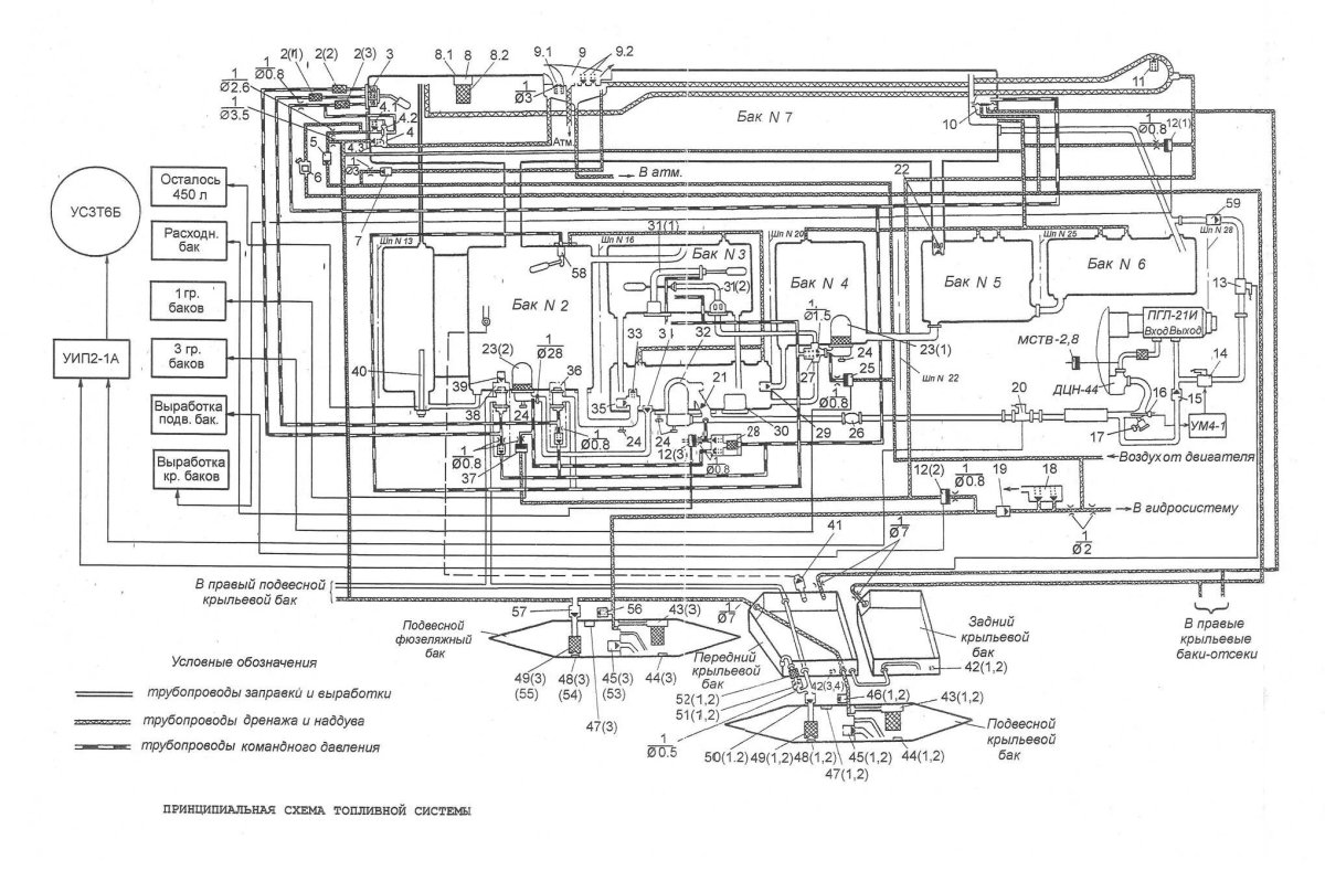
Схема топливной системы самолета
Схема топливной системы самолета

Топливная система истребителя
Топливная система истребителя

Топливная система da 40ng
Топливная система da 40ng

Система электроснабжения ил 76
Система электроснабжения ил 76

Масляная система ГТД схема

Фото: Масляная система ГТД схема


Airbus a320 система гидравлическая
Airbus a320 система гидравлическая

Схема гидросистемы самолета ил-76
Схема гидросистемы самолета ил-76



Арго 02 Моделист конструктор
Арго 02 Моделист конструктор

Компоновочная схема Су-30
Компоновочная схема Су-30



Гидросистема Боинг 737
Гидросистема Боинг 737

Топливная система Airbus a320
Топливная система Airbus a320

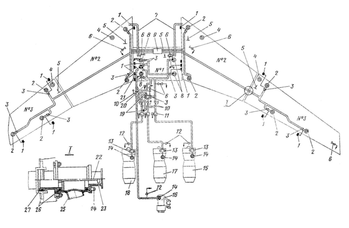
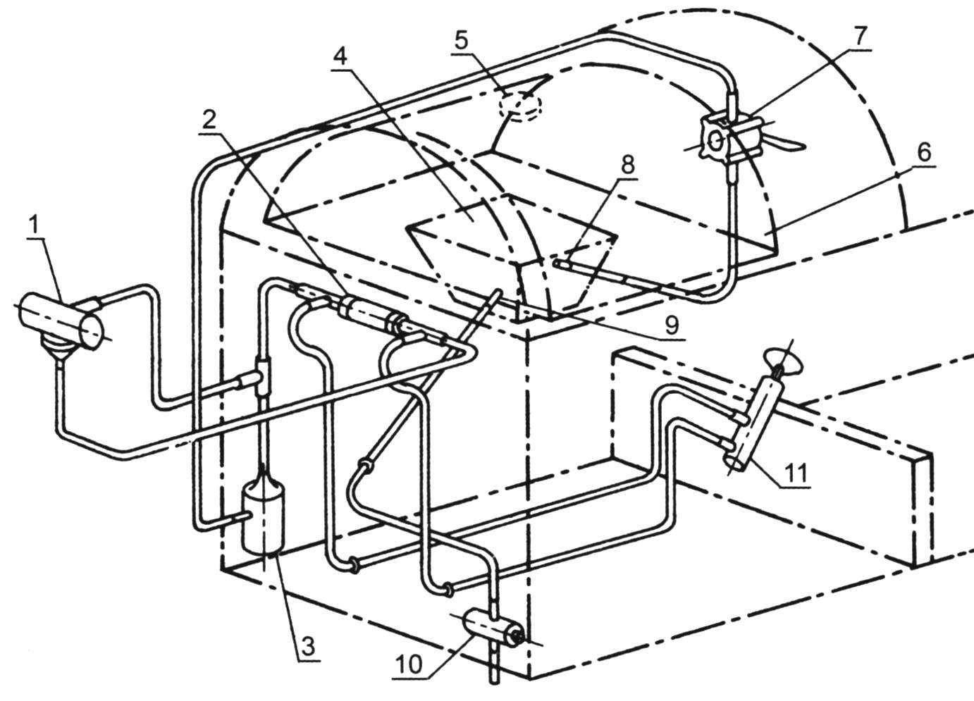
Система забора топлива
Система забора топлива

Компоновочная схема b-36
Компоновочная схема b-36

Компоновочная схема самолета ту-160
Компоновочная схема самолета ту-160

Фюзеляж Боинг 737
Фюзеляж Боинг 737

Чертёж крыла ил-96-300
Чертёж крыла ил-96-300



Топливный бак Мессершмитт
Топливный бак Мессершмитт



Су 35 схема
Су 35 схема

Топливные баки Боинг 737
Топливные баки Боинг 737





Боинг 737 схема топливных баков
Боинг 737 схема топливных баков

Компоновочная схема самолета миг-29
Компоновочная схема самолета миг-29

Структурная схема гидросистемы ssj100
Структурная схема гидросистемы ssj100

Су-34 расположение топливных баков
Су-34 расположение топливных баков

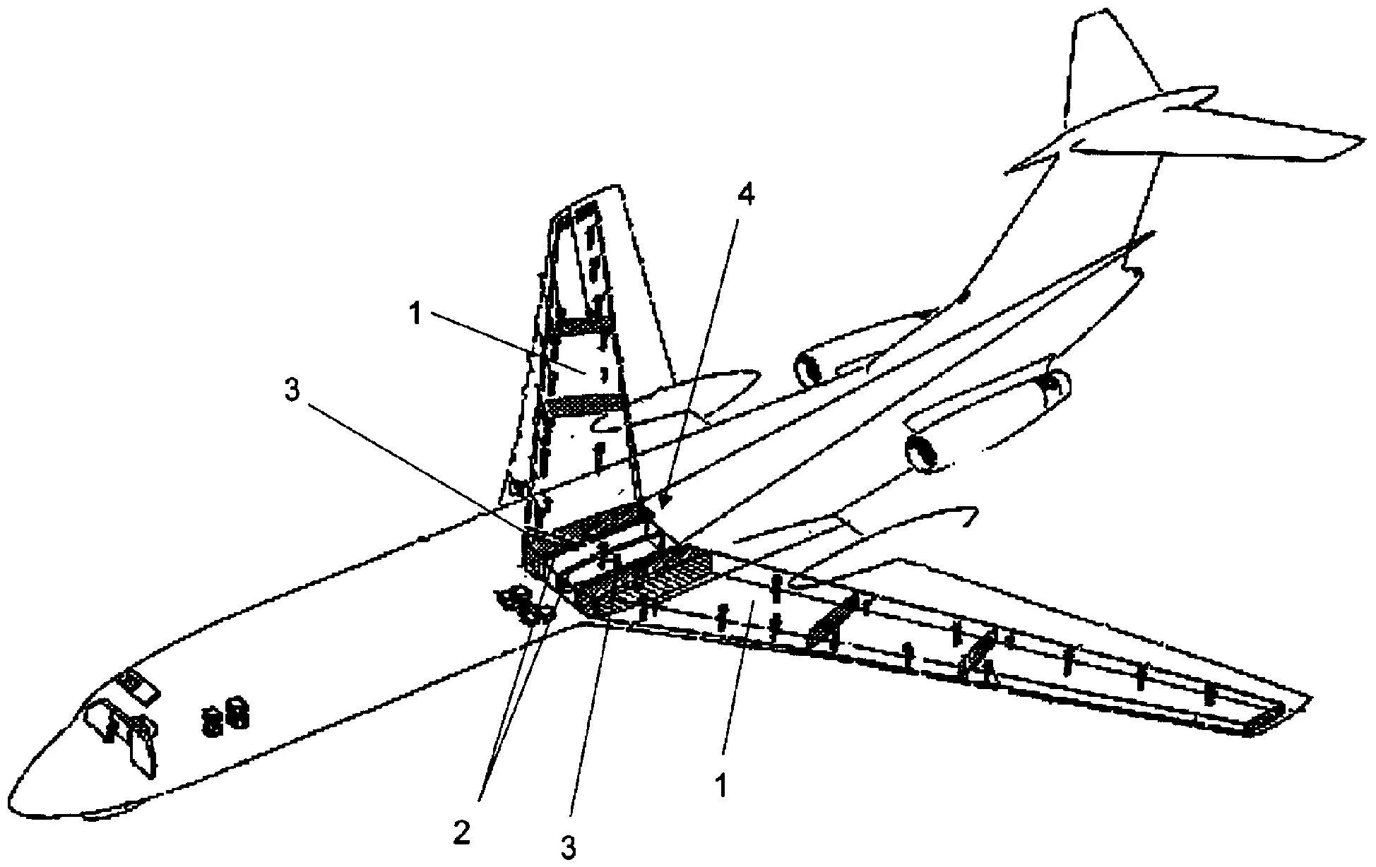
Противопожарная система АН 24 схема
Противопожарная система АН 24 схема


Похожие фото:

Комментарии
Минимальная длина комментария - 50 знаков. комментарии модерируются
Кликните на изображение чтобы обновить код, если он неразборчив