Машинатор » Турбореактивный двухконтурный двигатель схема

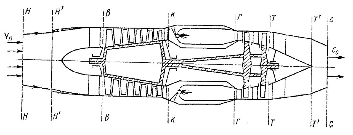
Турбореактивный двухконтурный двигатель схема

13 ноя
---
2
0

Двухконтурный турбореактивный двигатель чертеж
Двухконтурный турбореактивный двигатель чертеж

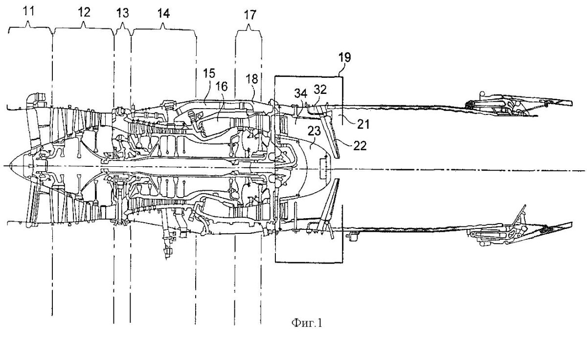
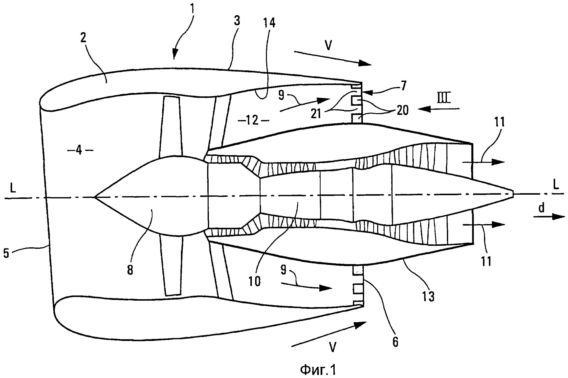
Схема двухконтурного турбореактивного авиационного двигателя
Схема двухконтурного турбореактивного авиационного двигателя

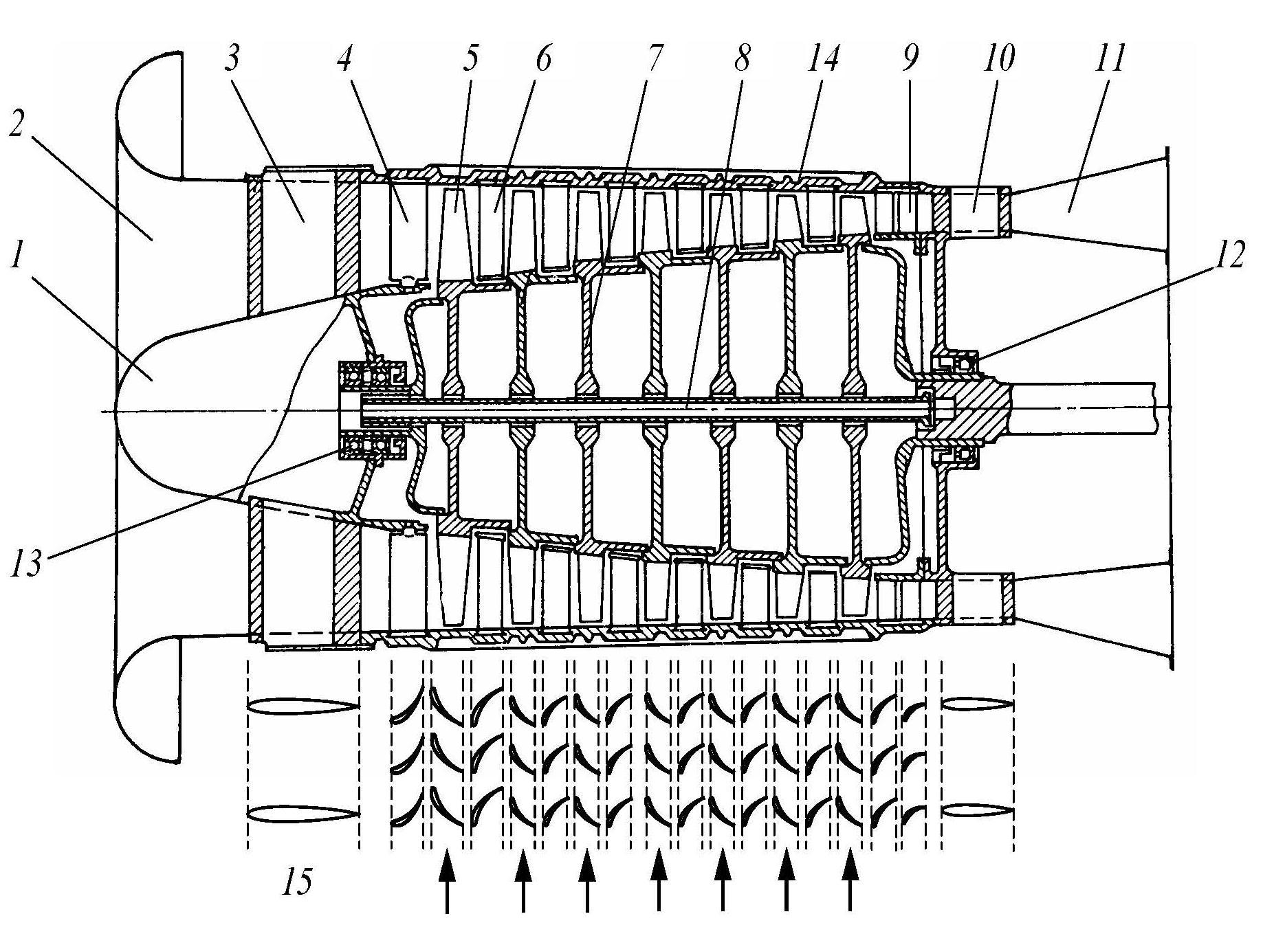
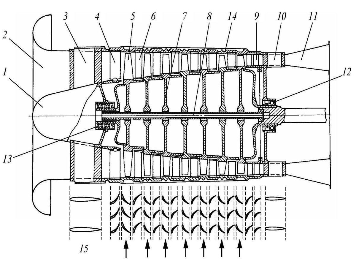
Компрессор низкого давления ТРДД
Компрессор низкого давления ТРДД

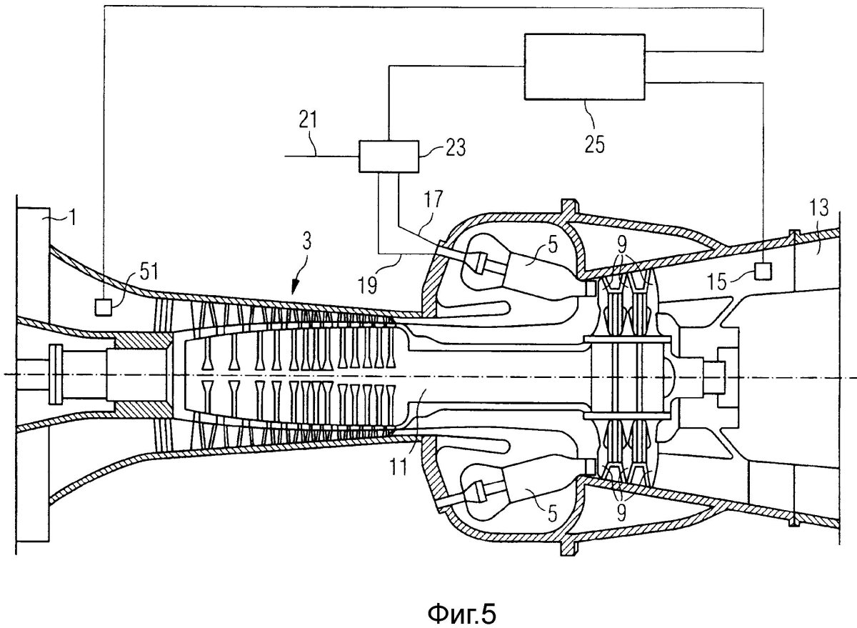
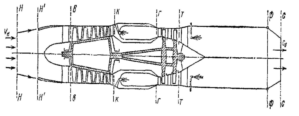
Турбореактивный двухконтурный двигатель с форсажной камерой схема
Турбореактивный двухконтурный двигатель с форсажной камерой схема

Трёхконтурный турбореактивный двигатель
Трёхконтурный турбореактивный двигатель

Схема газовой турбины двигателя ГТД
Схема газовой турбины двигателя ГТД

Турбореактивный двухконтурный двигатель hf118
Турбореактивный двухконтурный двигатель hf118

«Реактивного двигателя специального1 "1940
«Реактивного двигателя специального1 "1940

Компрессор ал-31ф
Компрессор ал-31ф



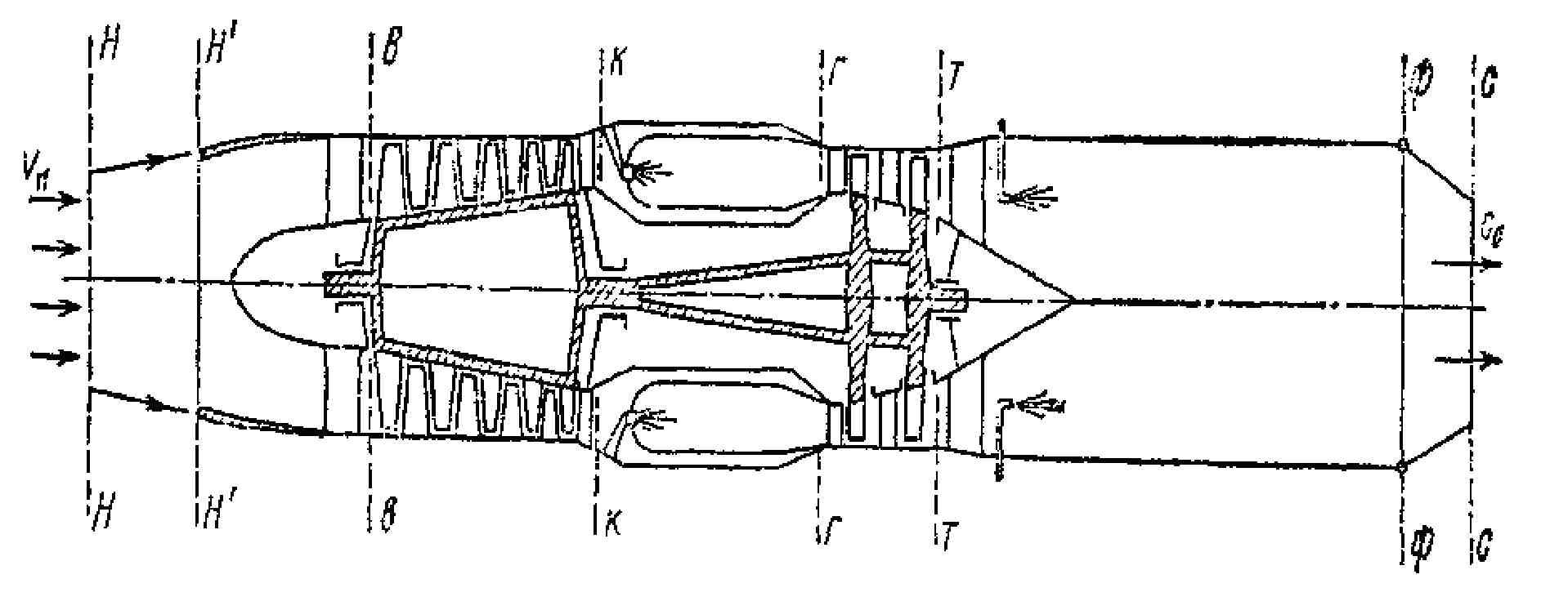
Принципиальная схема турбореактивного двигателя

Фото: Принципиальная схема турбореактивного двигателя


Двухконтурный турбовентиляторный двигатель
Двухконтурный турбовентиляторный двигатель

Мотокомпрессорный воздушно-реактивный двигатель
Мотокомпрессорный воздушно-реактивный двигатель

ТРД + прямоточный воздушно-реактивный двигатель
ТРД + прямоточный воздушно-реактивный двигатель

Двигатель ТРДД-50
Двигатель ТРДД-50

ТРДД АИ - 222 - 25
ТРДД АИ - 222 - 25

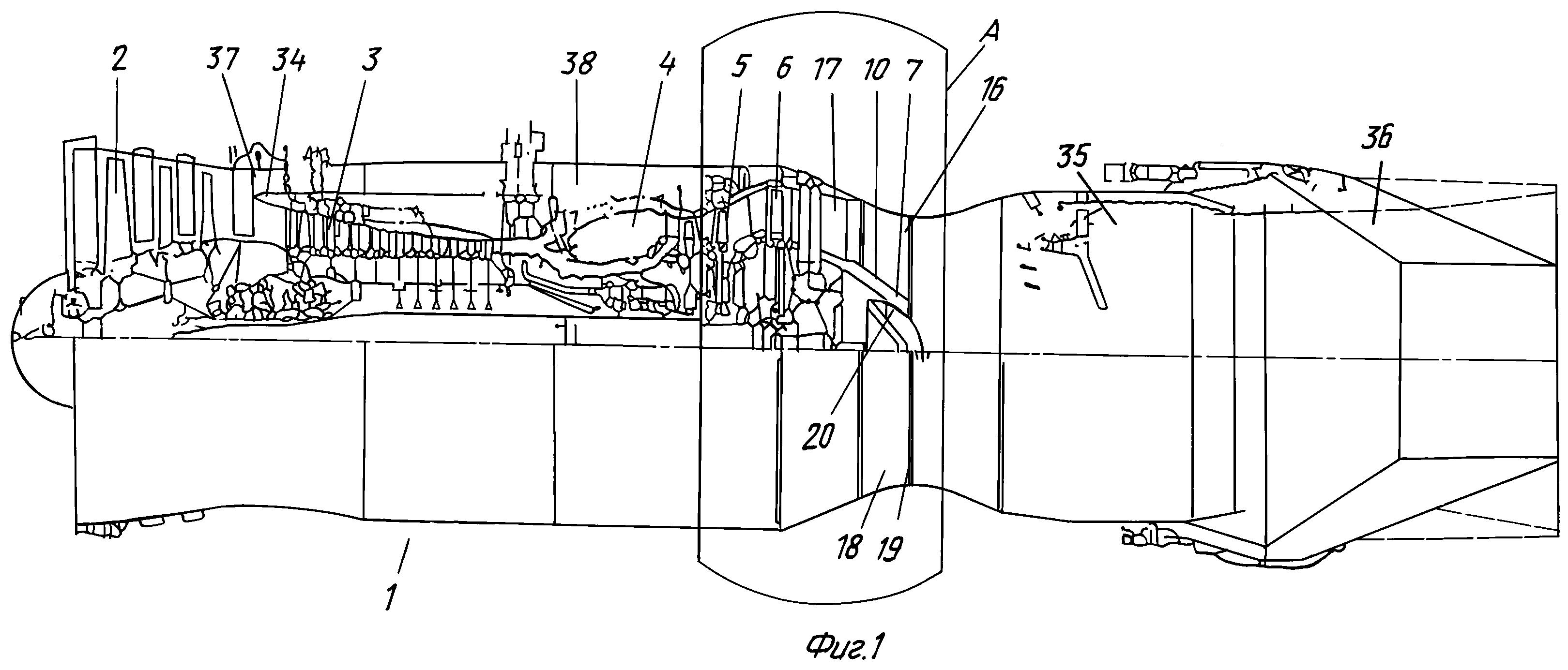
Схема двухконтурного турбореактивного двигателя
Схема двухконтурного турбореактивного двигателя

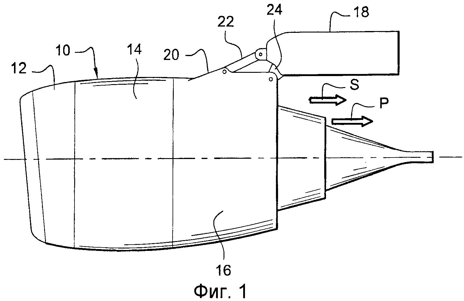
Входное устройство турбореактивного двигателя
Входное устройство турбореактивного двигателя

Rolls Royce rb211 схема двигателя
Rolls Royce rb211 схема двигателя



Трубчато Кольцевая камера сгорания ГТД
Трубчато Кольцевая камера сгорания ГТД

Двухконтурный турбовентиляторный двигатель схема
Двухконтурный турбовентиляторный двигатель схема

Двигатель ПС-90a2
Двигатель ПС-90a2

Воздушно-реактивный двигатель схема
Воздушно-реактивный двигатель схема

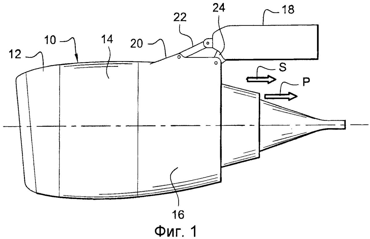
Сопло турбореактивного двигателя
Сопло турбореактивного двигателя

Rolls Royce Derwent
Rolls Royce Derwent

ТРДД-50мт двигатель
ТРДД-50мт двигатель

Турбореактивный двигатель для авиамоделей чертежи
Турбореактивный двигатель для авиамоделей чертежи

ТРДД Пд-14
ТРДД Пд-14

Вентилятор турбовентиляторного двигателя
Вентилятор турбовентиляторного двигателя





Турбовинтовой двигатель tp100
Турбовинтовой двигатель tp100

Двигатель ПС-90a2
Двигатель ПС-90a2

Д-36 двигатель схема
Д-36 двигатель схема

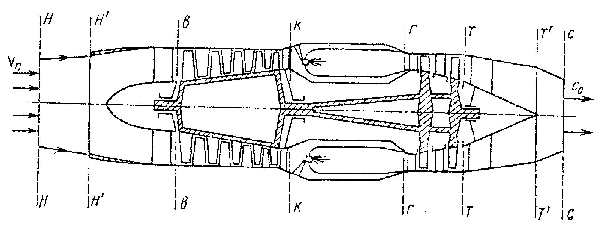
Принципиальная схема турбовинтового двигателя
Принципиальная схема турбовинтового двигателя

Схема работы реактивного двигателя самолета
Схема работы реактивного двигателя самолета

РД-500 двигатель турбореактивный
РД-500 двигатель турбореактивный

ТРДД ge Honda hf120
ТРДД ge Honda hf120

Двигатель 36мт (ТРДД-50ат).

Фото: Двигатель 36мт (ТРДД-50ат).


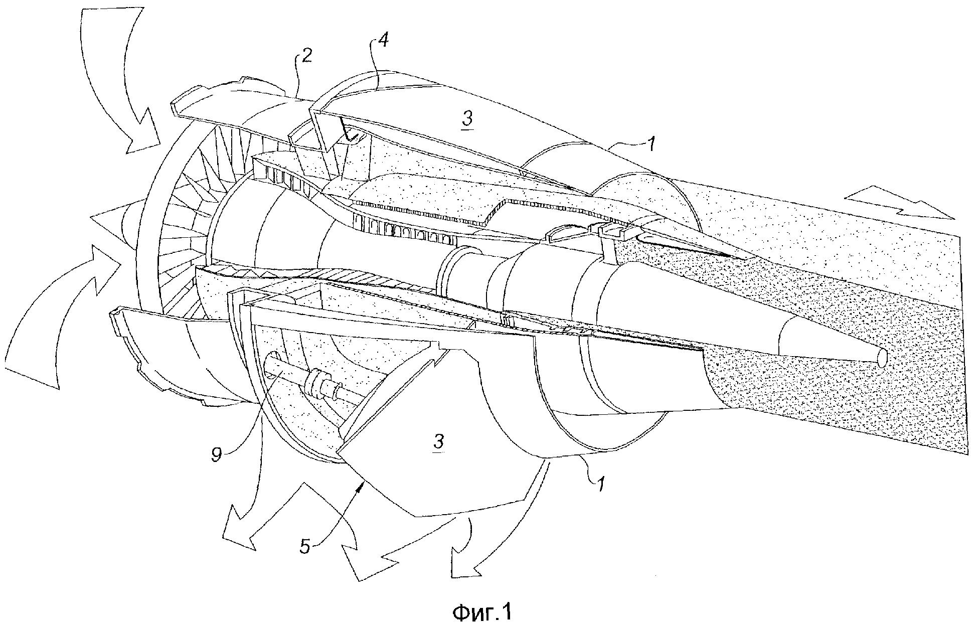
Турбореактивный двигатель (ТРД)
Турбореактивный двигатель (ТРД)

Турбовентиляторный реактивный двигатель
Турбовентиляторный реактивный двигатель

Д-36 двигатель схема
Д-36 двигатель схема



Мини турбореактивный двигатель
Мини турбореактивный двигатель

ТРДД АИ-25 схема
ТРДД АИ-25 схема

Ал-31ф двигатель
Ал-31ф двигатель

Турбореактивный двигатель KJ-66
Турбореактивный двигатель KJ-66

Схема двигателя д 30 КП
Схема двигателя д 30 КП



Cfm56 двигатель чертеж
Cfm56 двигатель чертеж

Турбовальные двигатели
Турбовальные двигатели

Двухвальный турбовинтовой двигатель
Двухвальный турбовинтовой двигатель

Р-195 турбореактивный двигатель
Р-195 турбореактивный двигатель

ТВД М 601 чертеж
ТВД М 601 чертеж



Схема двухконтурного турбореактивного авиационного двигателя
Схема двухконтурного турбореактивного авиационного двигателя

Турбореактивный двухконтурный двигатель hf118
Турбореактивный двухконтурный двигатель hf118

Схема авиационного двигателя
Схема авиационного двигателя

Двигатели Rolls-Royce Trent XWB

Фото: Двигатели Rolls-Royce Trent XWB


Westinghouse j34
Westinghouse j34

Газогенератор турбовентиляторного двигателя
Газогенератор турбовентиляторного двигателя

ТРД РД 45
ТРД РД 45

Схема газовой турбины двигателя ГТД
Схема газовой турбины двигателя ГТД

Воздушно-реактивный двигатель [ВРД
Воздушно-реактивный двигатель [ВРД

Многоступенчатый осевой компрессор
Многоступенчатый осевой компрессор

Схема авиадвигателя Пд-14
Схема авиадвигателя Пд-14

ПС-90а двигатель
ПС-90а двигатель

ГТД 350 чертеж
ГТД 350 чертеж

Д-36 двигатель схема
Д-36 двигатель схема

Eurojet ej200
Eurojet ej200

ТРДД pw1215g
ТРДД pw1215g

ТРДД АИ-25 схема
ТРДД АИ-25 схема

Пд-14 чертеж
Пд-14 чертеж

Газотурбинный двигатель Пд-14
Газотурбинный двигатель Пд-14

Р-195 турбореактивный двигатель
Р-195 турбореактивный двигатель



Принципиальная схема турбореактивного двигателя
Принципиальная схема турбореактивного двигателя

Устройство осевого компрессора с ротором смешанного типа
Устройство осевого компрессора с ротором смешанного типа

Турбореактивный двухконтурный двигатель с форсажной камерой схема
Турбореактивный двухконтурный двигатель с форсажной камерой схема

Микро турбореактивный двигатель Джет
Микро турбореактивный двигатель Джет

Pratt & Whitney j58
Pratt & Whitney j58

Конструктивная схема авиадвигателя д-30
Конструктивная схема авиадвигателя д-30

Степень двухконтурности ТРДД
Степень двухконтурности ТРДД

Ал-31 форсажная камера сопло
Ал-31 форсажная камера сопло

Двигатель ТРД схема воздухозаборник
Двигатель ТРД схема воздухозаборник

Двигатель д-18т тяга
Двигатель д-18т тяга

Изменение параметров по тракту двигателя
Изменение параметров по тракту двигателя

Похожие фото:

Комментарии
Минимальная длина комментария - 50 знаков. комментарии модерируются
Кликните на изображение чтобы обновить код, если он неразборчив