Машинатор » Части фюзеляжа самолета

Части фюзеляжа самолета

14 ноя
---
2
0

Конструкция фюзеляжа АН-148
Конструкция фюзеляжа АН-148

Шпангоуты фюзеляжа Суперджет-100
Шпангоуты фюзеляжа Суперджет-100

Шпангоуты фюзеляжа Суперджет-100
Шпангоуты фюзеляжа Суперджет-100

Конструкционно силовая схема фюзеляжа
Конструкционно силовая схема фюзеляжа

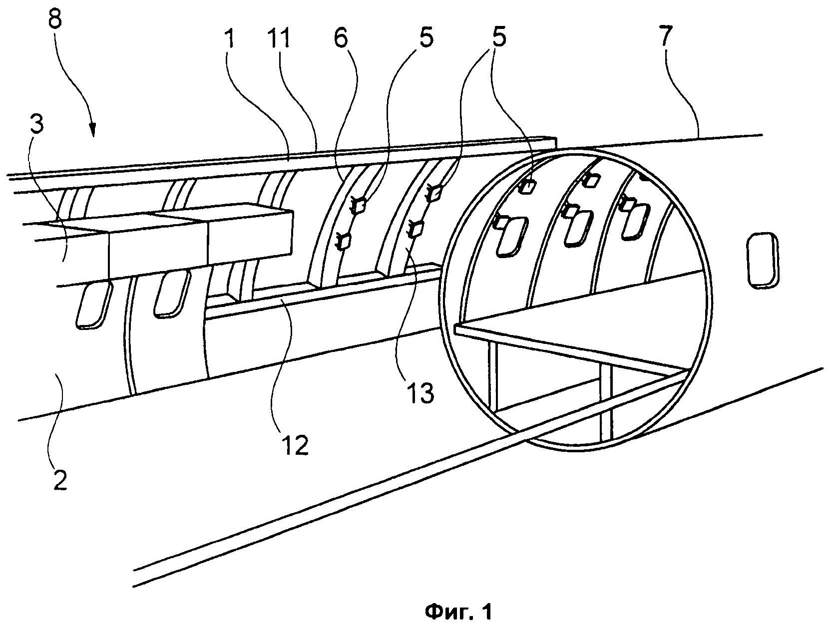
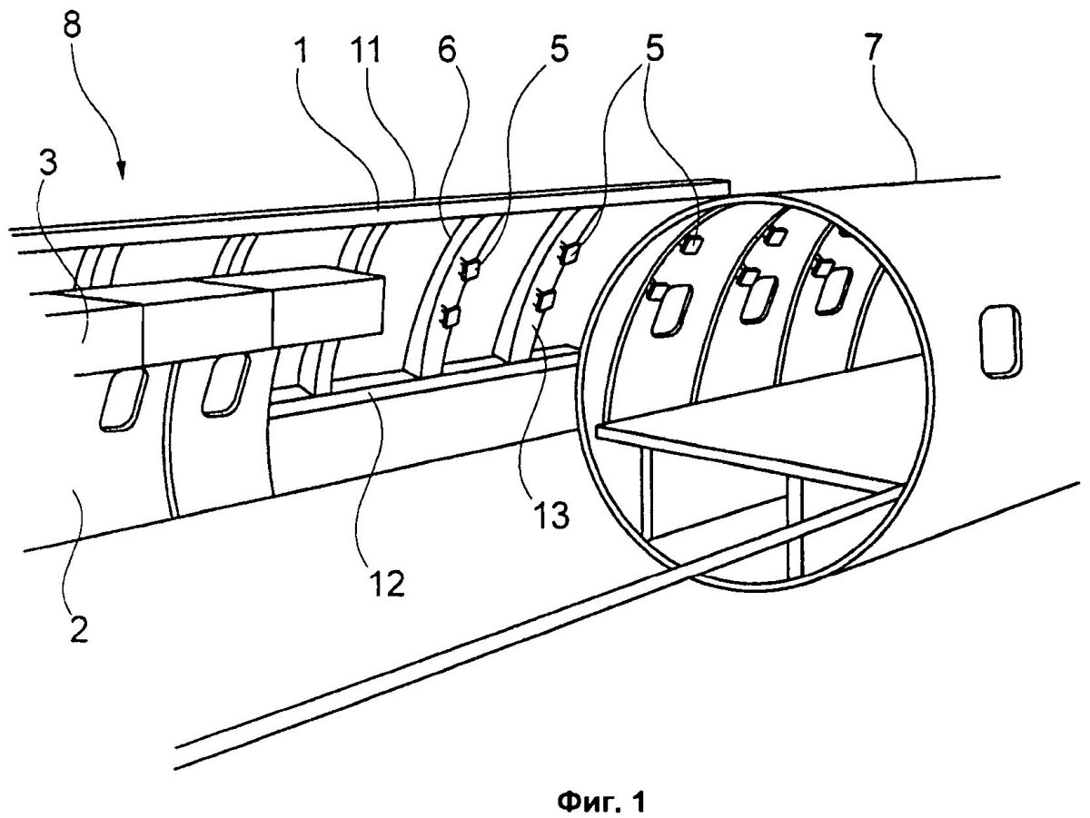
Шпангоут фюзеляжа самолета
Шпангоут фюзеляжа самолета

Фюзеляж Боинга 747
Фюзеляж Боинга 747

Фюзеляж Боинг 777
Фюзеляж Боинг 777

Конструкция самолета Боинг 777
Конструкция самолета Боинг 777

Геодезическая конструкция фюзеляжа
Геодезическая конструкция фюзеляжа

Форма фюзеляжа самолета
Форма фюзеляжа самолета

15 Шпангоут на АН-2

Фото: 15 Шпангоут на АН-2


Строение самолёта ил86
Строение самолёта ил86

Фюзеляж полумонококовой конструкции
Фюзеляж полумонококовой конструкции

Схема самолета Airbus a380
Схема самолета Airbus a380

Лонжеронный фюзеляж
Лонжеронный фюзеляж

Миделево сечение фюзеляжа самолета
Миделево сечение фюзеляжа самолета

Планер Антонова а-9
Планер Антонова а-9

Стрингер шпангоут нервюра
Стрингер шпангоут нервюра

Строение самолета
Строение самолета

Конструктивно силовая схема фюзеляжа

Фото: Конструктивно силовая схема фюзеляжа


Ферменная конструкция фюзеляжа
Ферменная конструкция фюзеляжа

Носовой обтекатель l410
Носовой обтекатель l410

Шпангоут фюзеляжа самолета чертеж
Шпангоут фюзеляжа самолета чертеж

Шпангоуты а320
Шпангоуты а320

Схема самолета як 40
Схема самолета як 40

Схема монокок фюзеляж самолета
Схема монокок фюзеляж самолета

Компоновочная схема самолета ту-160
Компоновочная схема самолета ту-160

Ил-76 схема самолета
Ил-76 схема самолета

Шпангоут фюзеляжа самолета чертеж
Шпангоут фюзеляжа самолета чертеж

Схема членения фюзеляжа самолета
Схема членения фюзеляжа самолета



SSJ-100 чертеж
SSJ-100 чертеж

Противообледенительная система самолета ил-76 схема
Противообледенительная система самолета ил-76 схема



Нервюра самолета фюзеляжа
Нервюра самолета фюзеляжа

Силовой набор фюзеляжа Боинг 777
Силовой набор фюзеляжа Боинг 777

Фюзеляж вертолета ми-8
Фюзеляж вертолета ми-8

Аэробус а320 в разрезе
Аэробус а320 в разрезе

Шпангоут фюзеляжа самолета
Шпангоут фюзеляжа самолета

Части самолета

Фото: Части самолета


Fuselage самолет
Fuselage самолет

Фюзеляж истребителя
Фюзеляж истребителя

Обшивка фюзеляжа самолёта
Обшивка фюзеляжа самолёта

Компоновочная схема Боинг 707
Компоновочная схема Боинг 707

Ферменный фюзеляж самолета
Ферменный фюзеляж самолета

Отсеки фюзеляжа самолета
Отсеки фюзеляжа самолета

Компоновочная схема Airbus 320
Компоновочная схема Airbus 320

Схема самолета ла 5 ФН
Схема самолета ла 5 ФН

Фюзеляж 737
Фюзеляж 737

Ферменная конструкция фюзеляжа
Ферменная конструкция фюзеляжа



Схема самолёта Суперджет 100
Схема самолёта Суперджет 100

Топливные баки SSJ 100
Топливные баки SSJ 100

Конструкция самолета АН-24
Конструкция самолета АН-24

Компоновочная схема самолета ил 76
Компоновочная схема самолета ил 76

Фюзеляж аэробуса 380
Фюзеляж аэробуса 380

Фюзеляж монокок и полумонокок
Фюзеляж монокок и полумонокок

Фюзеляж a350
Фюзеляж a350





Boeing c-17 Globemaster III чертежи
Boeing c-17 Globemaster III чертежи

Фюзеляж Боинг 777
Фюзеляж Боинг 777

Чертеж самолета Airbus a320
Чертеж самолета Airbus a320

Строение самолета Боинг 747
Строение самолета Боинг 747

Фюзеляж Sukhoi Superjet 100
Фюзеляж Sukhoi Superjet 100

Вертолет ка-32а11вс чертеж
Вертолет ка-32а11вс чертеж

Шпангоут ракеты
Шпангоут ракеты

Схема крыла самолёта ил 62
Схема крыла самолёта ил 62

Фюзеляж Боинг 737
Фюзеляж Боинг 737

Фюзеляжи Chrysler
Фюзеляжи Chrysler

Обледенение самолета s7
Обледенение самолета s7

Фюзеляж самолета МС 21
Фюзеляж самолета МС 21

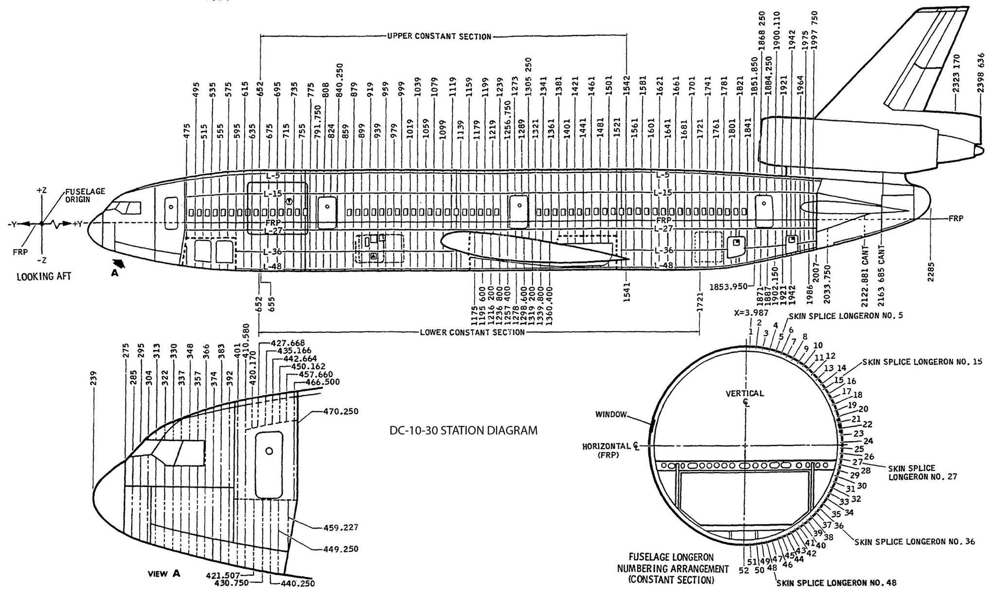
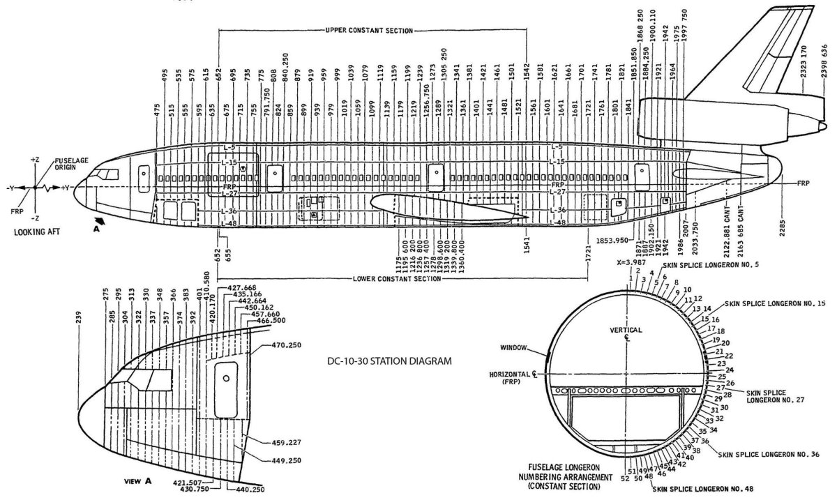
DC 10 чертеж
DC 10 чертеж

Узел крепления лонжерона крыла к фюзеляжу
Узел крепления лонжерона крыла к фюзеляжу

Шасси с хвостовой опорой
Шасси с хвостовой опорой

Похожие фото:

Комментарии
Минимальная длина комментария - 50 знаков. комментарии модерируются
Кликните на изображение чтобы обновить код, если он неразборчив