Машинатор » Полностью отклоняемая поверхность горизонтального оперения летательного аппарата

Полностью отклоняемая поверхность горизонтального оперения летательного аппарата

18 янв
---
0
0

Передняя кромка крыла
Передняя кромка крыла



Крыло летательного аппарата
Крыло летательного аппарата

Аэродинамическая схема летающее крыло
Аэродинамическая схема летающее крыло

Системы координат летательного аппарата
Системы координат летательного аппарата

Идеальная форма летательного аппарата
Идеальная форма летательного аппарата

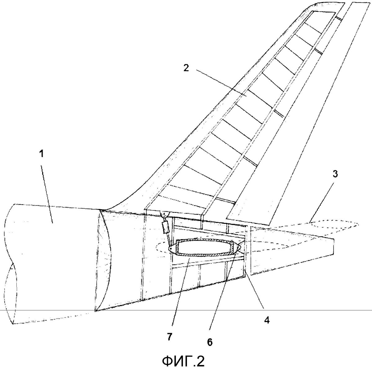
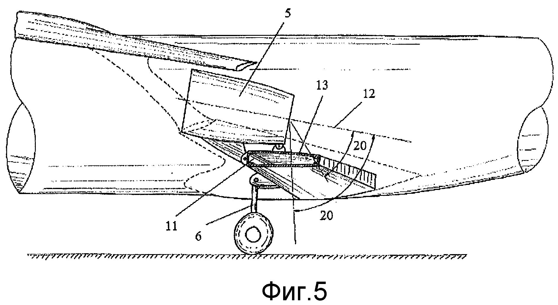
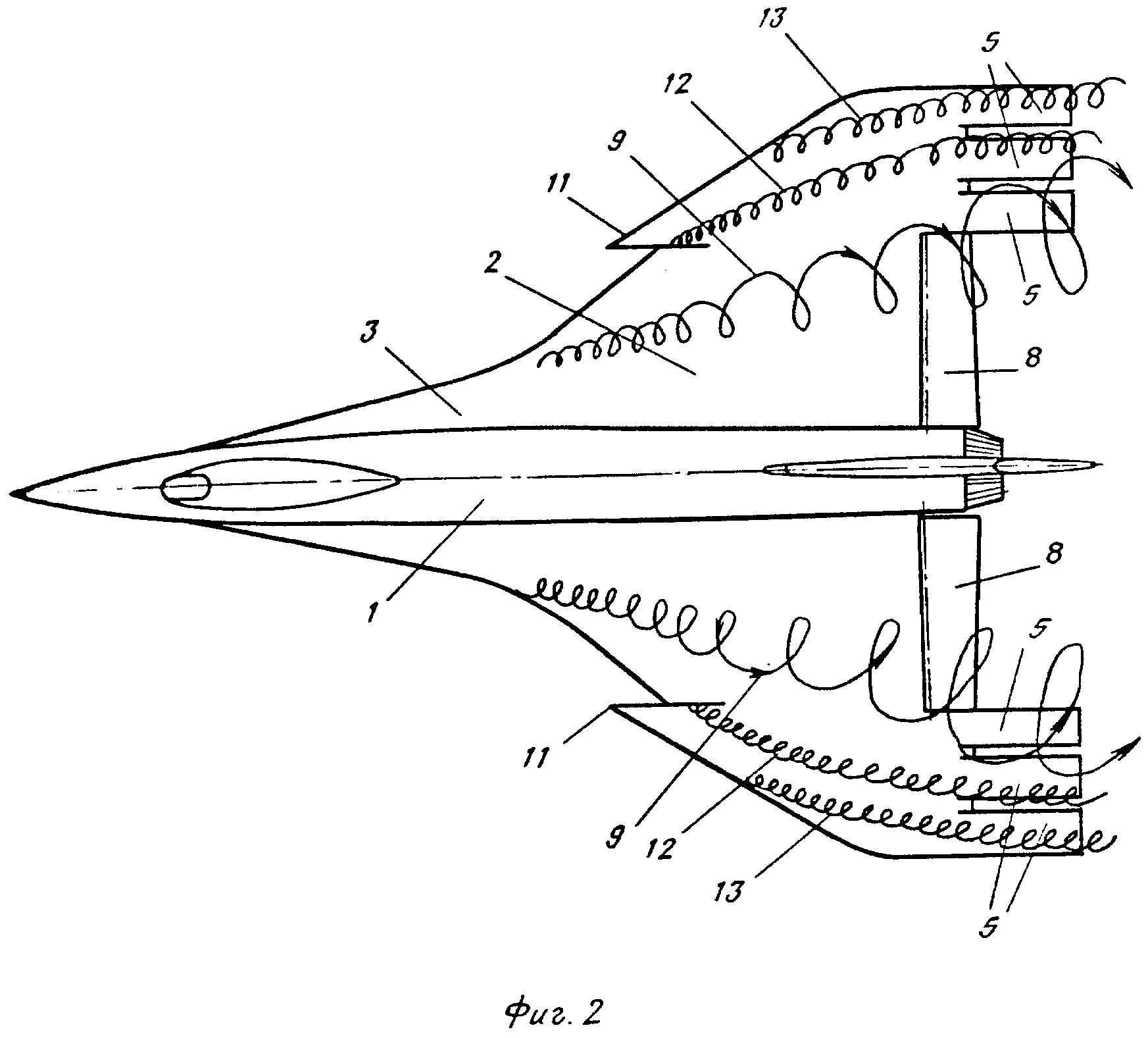
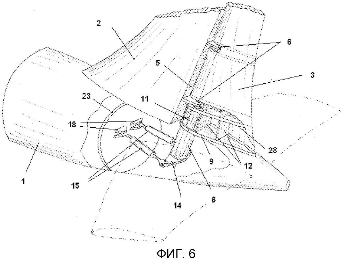
Цельноповоротное горизонтальное оперение
Цельноповоротное горизонтальное оперение

Типы летательных аппаратов
Типы летательных аппаратов

Летательная поверхность
Летательная поверхность



Макет летательного аппарата

Фото: Макет летательного аппарата




Пирамида испытаний летательных аппаратов
Пирамида испытаний летательных аппаратов

Коробчатое оперение самолета
Коробчатое оперение самолета

Стабилизатор горизонтального оперения
Стабилизатор горизонтального оперения

Датчики для измерения в аэродинамической трубе
Датчики для измерения в аэродинамической трубе

Силовые установки летательных аппаратов
Силовые установки летательных аппаратов

Летательные аппараты
Летательные аппараты

Летательный аппарат с пропеллером
Летательный аппарат с пропеллером

Катапульта для БПЛА чертежи

Фото: Катапульта для БПЛА чертежи


Схема летательного аппарата
Схема летательного аппарата

Традиционная схема летательного аппарата
Традиционная схема летательного аппарата

Экранолет Эска-1 чертежи
Экранолет Эска-1 чертежи

Аэродинамические схемы летательных аппаратов
Аэродинамические схемы летательных аппаратов



Несущая поверхность это
Несущая поверхность это







Базовая плоскость самолета
Базовая плоскость самолета

Хвостовое оперение
Хвостовое оперение



Нервюра крыла чертеж
Нервюра крыла чертеж

Чертежи БПЛА самолетного типа
Чертежи БПЛА самолетного типа



Схема бесхвостка аэродинамика
Схема бесхвостка аэродинамика

Средняя аэродинамическая хорда крыла
Средняя аэродинамическая хорда крыла

Аэродинамические схемы БПЛА
Аэродинамические схемы БПЛА





Несущая поверхность это
Несущая поверхность это



Несущие поверхности летательного аппарата
Несущие поверхности летательного аппарата

Оперение авиамодели
Оперение авиамодели

Профиль крыла сверхзвукового самолета
Профиль крыла сверхзвукового самолета



Чертеж растяжки наружной обшивки судна
Чертеж растяжки наружной обшивки судна

Схемы оперения самолета
Схемы оперения самолета



Несущие поверхности летательного аппарата
Несущие поверхности летательного аппарата

Флюгерное переднее горизонтальное оперение
Флюгерное переднее горизонтальное оперение




Похожие фото:

Комментарии
Минимальная длина комментария - 50 знаков. комментарии модерируются
Кликните на изображение чтобы обновить код, если он неразборчив