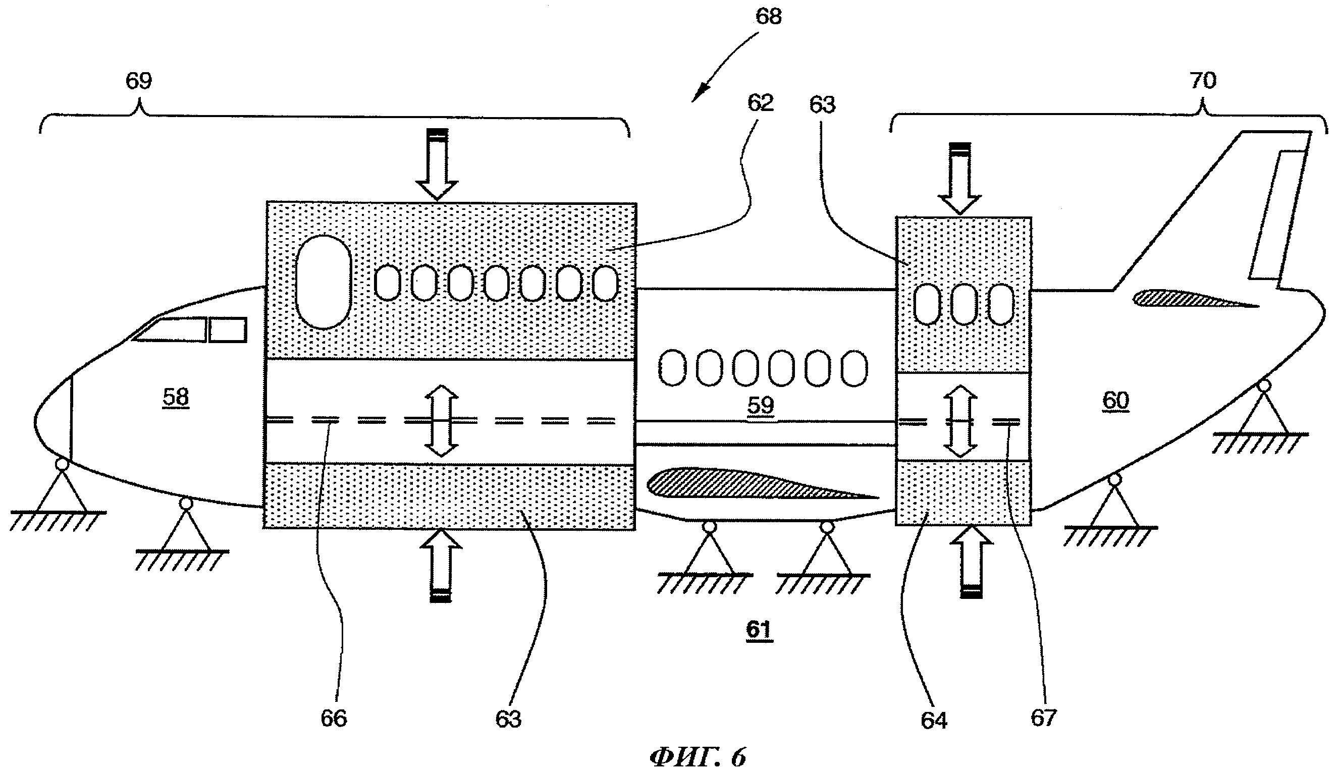
Машинатор » Удлинение фюзеляжа

Удлинение фюзеляжа

23 янв
---
1
0

Моделирование крыла самолета
Моделирование крыла самолета



Фюзеляж ил 76
Фюзеляж ил 76





Аэрокобра р-39 чертёж
Аэрокобра р-39 чертёж

Ту-160 сверхзвуковой самолёт чертежи
Ту-160 сверхзвуковой самолёт чертежи





Носовая часть фюзеляжа ми-8
Носовая часть фюзеляжа ми-8

Изогридный фюзеляж

Фото: Изогридный фюзеляж


Миделево сечение фюзеляжа
Миделево сечение фюзеляжа



Фюзеляж истребителя
Фюзеляж истребителя

Шланг от фюзеляжа
Шланг от фюзеляжа

Чертеж авиамодели и-16 Поликарпов
Чертеж авиамодели и-16 Поликарпов

Bristol Britannia самолет
Bristol Britannia самолет







Каркас самолета
Каркас самолета

Фюзеляж Боинг 737
Фюзеляж Боинг 737





Шпангоуты и стрингеры
Шпангоуты и стрингеры



Mirage III чертежи
Mirage III чертежи

Стапель сборки центроплана NX
Стапель сборки центроплана NX

D1000 aircraft installation
D1000 aircraft installation

Чертеж самолета Гольфстрим 650
Чертеж самолета Гольфстрим 650

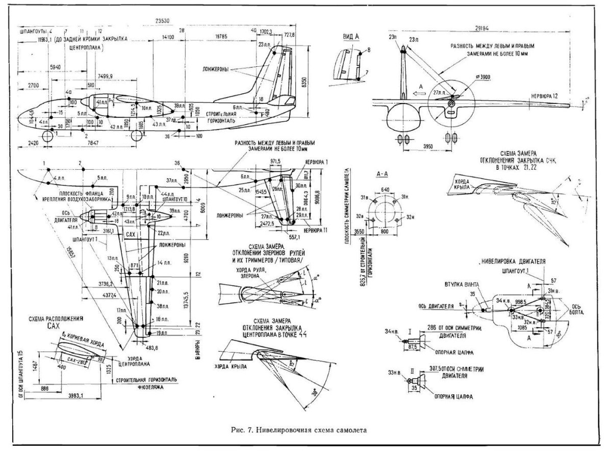
Чертеж самолета АН 24
Чертеж самолета АН 24

Техника молодежи 1977
Техника молодежи 1977

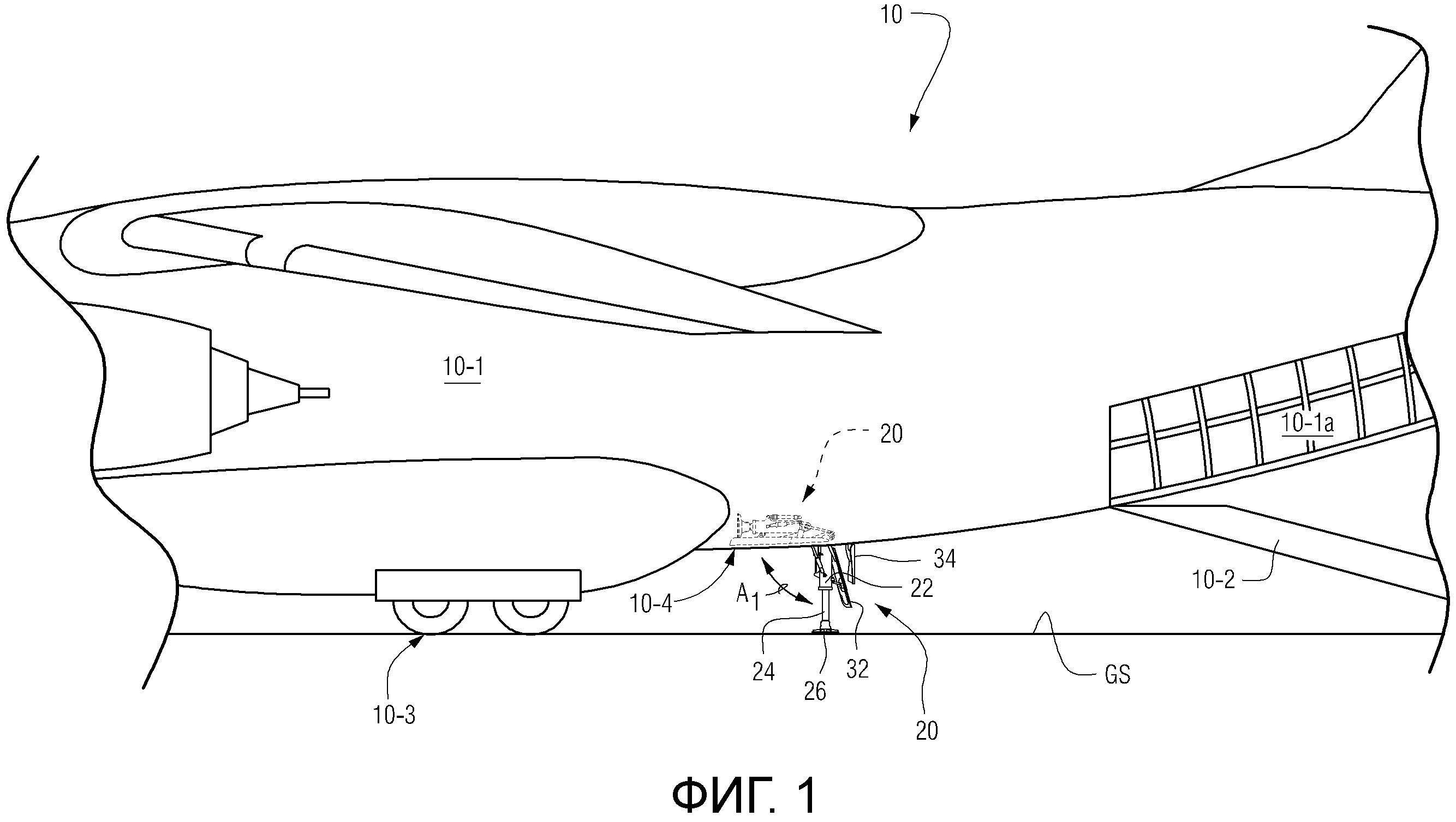
Места вскрытия фюзеляжа
Места вскрытия фюзеляжа

Китфокс самолет
Китфокс самолет





Балочно стрингерный фюзеляж
Балочно стрингерный фюзеляж





Компоновочная схема ту 334

Фото: Компоновочная схема ту 334




АН 26 чертеж шасси
АН 26 чертеж шасси

Самолёт Trislander BN-2a
Самолёт Trislander BN-2a

Полумонокок фюзеляж это
Полумонокок фюзеляж это

Виккерс Веллингтон бомбардировщик
Виккерс Веллингтон бомбардировщик



АН 26 технический отсек, находящийся за дверью на гермошпангоут.
АН 26 технический отсек, находящийся за дверью на гермошпангоут.



EMB-110 Bandeirante
EMB-110 Bandeirante

Штрих код авиационного фюзеляжа
Штрих код авиационного фюзеляжа

Ил-18 схема салона
Ил-18 схема салона

Самолет ил-18 чертежи
Самолет ил-18 чертежи





Оптимальные места вскрытия фюзеляжа на воздушном судне обозначены
Оптимальные места вскрытия фюзеляжа на воздушном судне обозначены








Похожие фото:

Комментарии
Минимальная длина комментария - 50 знаков. комментарии модерируются
Кликните на изображение чтобы обновить код, если он неразборчив