Машинатор » Щитки на крыле самолета

Щитки на крыле самолета

15 ноя
---
2
0

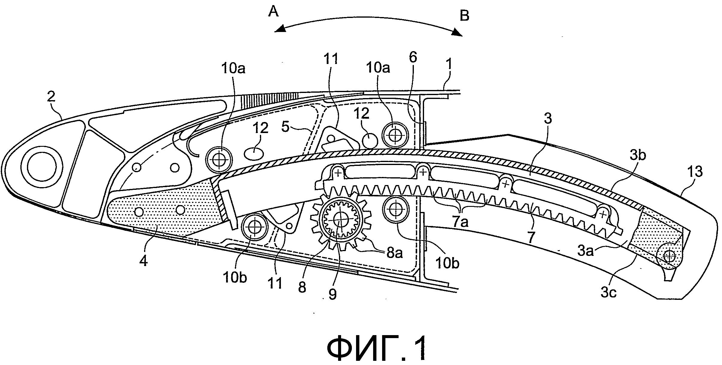
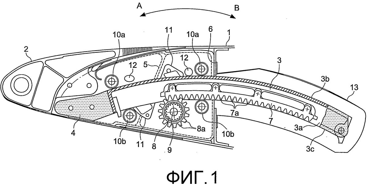
Щиток Крюгера 737
Щиток Крюгера 737

Механизация крыла Boeing 737
Механизация крыла Boeing 737

Спойлеры самолета
Спойлеры самолета

Закрылки Боинг 737
Закрылки Боинг 737

Боинг 737 предкрылки
Боинг 737 предкрылки

Механизация крыла предкрылок
Механизация крыла предкрылок

Закрылки Боинг 737
Закрылки Боинг 737

Боинг 737 интерцепторы
Боинг 737 интерцепторы

Миг 21 тормозные щитки
Миг 21 тормозные щитки

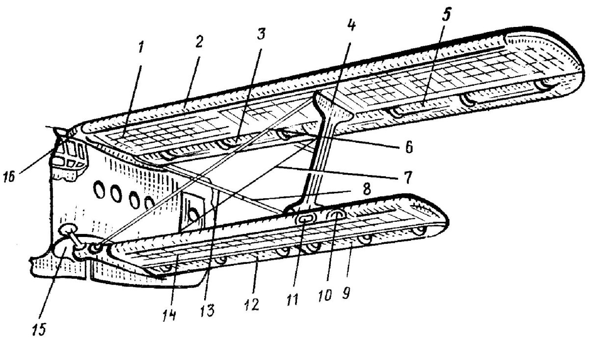
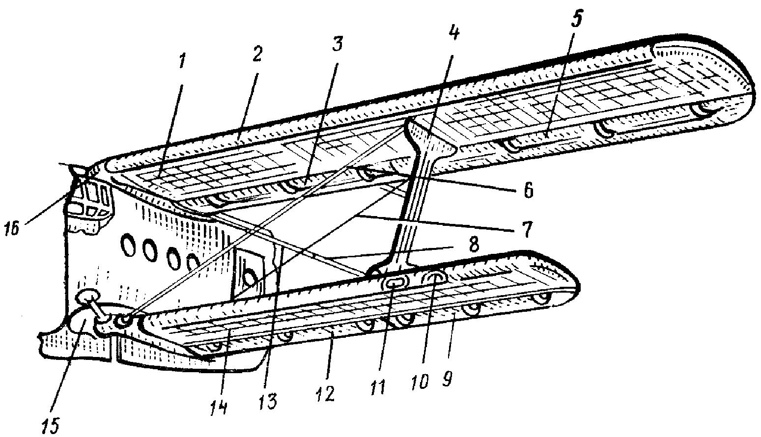
Предкрылки АН-2 чертеж
Предкрылки АН-2 чертеж



Механизация крыла Boeing 737
Механизация крыла Boeing 737

Механизация крыла Airbus a380
Механизация крыла Airbus a380

Спойлеры в авиации
Спойлеры в авиации

Закрылки и предкрылки
Закрылки и предкрылки

Крыло АН-2 ленты расчалки
Крыло АН-2 ленты расчалки

Двухщелевой закрылок схема
Двухщелевой закрылок схема

Крыло Суперджет 100
Крыло Суперджет 100

Нервюры лонжероны стрингеры
Нервюры лонжероны стрингеры



3д принтеры в аэрокосмической промышленности
3д принтеры в аэрокосмической промышленности

Стабилизатор вертолета ми-8
Стабилизатор вертолета ми-8

Лонжерон Стрингер нервюра шпангоут
Лонжерон Стрингер нервюра шпангоут

Фюзеляж Боинг 737
Фюзеляж Боинг 737

Закрылок ил 76
Закрылок ил 76

Закрылки Боинг 727
Закрылки Боинг 727

Лонжерон Стрингер нервюра шпангоут
Лонжерон Стрингер нервюра шпангоут

Боинг 777 предкрылок Крюгера
Боинг 777 предкрылок Крюгера

Нервюра крыла ил 76
Нервюра крыла ил 76

Авиационное крыло
Авиационное крыло

Боинг 777 закрылок
Боинг 777 закрылок

Ту 154 интерцепторы
Ту 154 интерцепторы

Механизация крыла Boeing 787 схема
Механизация крыла Boeing 787 схема

Закрылок ил 76
Закрылок ил 76

Топливные баки SSJ 100
Топливные баки SSJ 100

Стрингер крыла самолета
Стрингер крыла самолета

Airbus a320 закрылки
Airbus a320 закрылки

Тормозной щиток самолета чертеж
Тормозной щиток самолета чертеж

Закрылки и предкрылки
Закрылки и предкрылки

Нервюра самолета фюзеляжа

Фото: Нервюра самолета фюзеляжа


Клепка фюзеляжа
Клепка фюзеляжа

Крыло самолета Боинг 737
Крыло самолета Боинг 737

Зализа крыла самолета
Зализа крыла самолета



Стрингер шпангоут нервюра
Стрингер шпангоут нервюра

Чертеж нервюры крыла самолета
Чертеж нервюры крыла самолета

Чертеж нервюры крыла самолета
Чертеж нервюры крыла самолета

Закрылок ил 76
Закрылок ил 76

Airbus a320 закрылки
Airbus a320 закрылки

Механизация крыла двухщелевой закрылок
Механизация крыла двухщелевой закрылок


Похожие фото:

Комментарии
Минимальная длина комментария - 50 знаков. комментарии модерируются
Кликните на изображение чтобы обновить код, если он неразборчив