Машинатор » Система кондиционирования в вагоне

Система кондиционирования в вагоне

01 фев
---
1
0



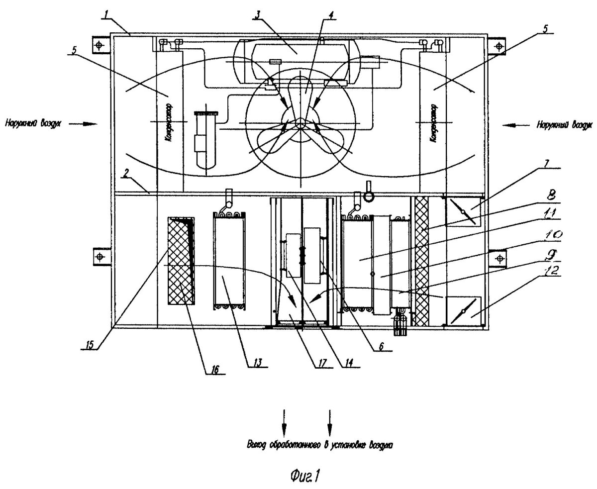
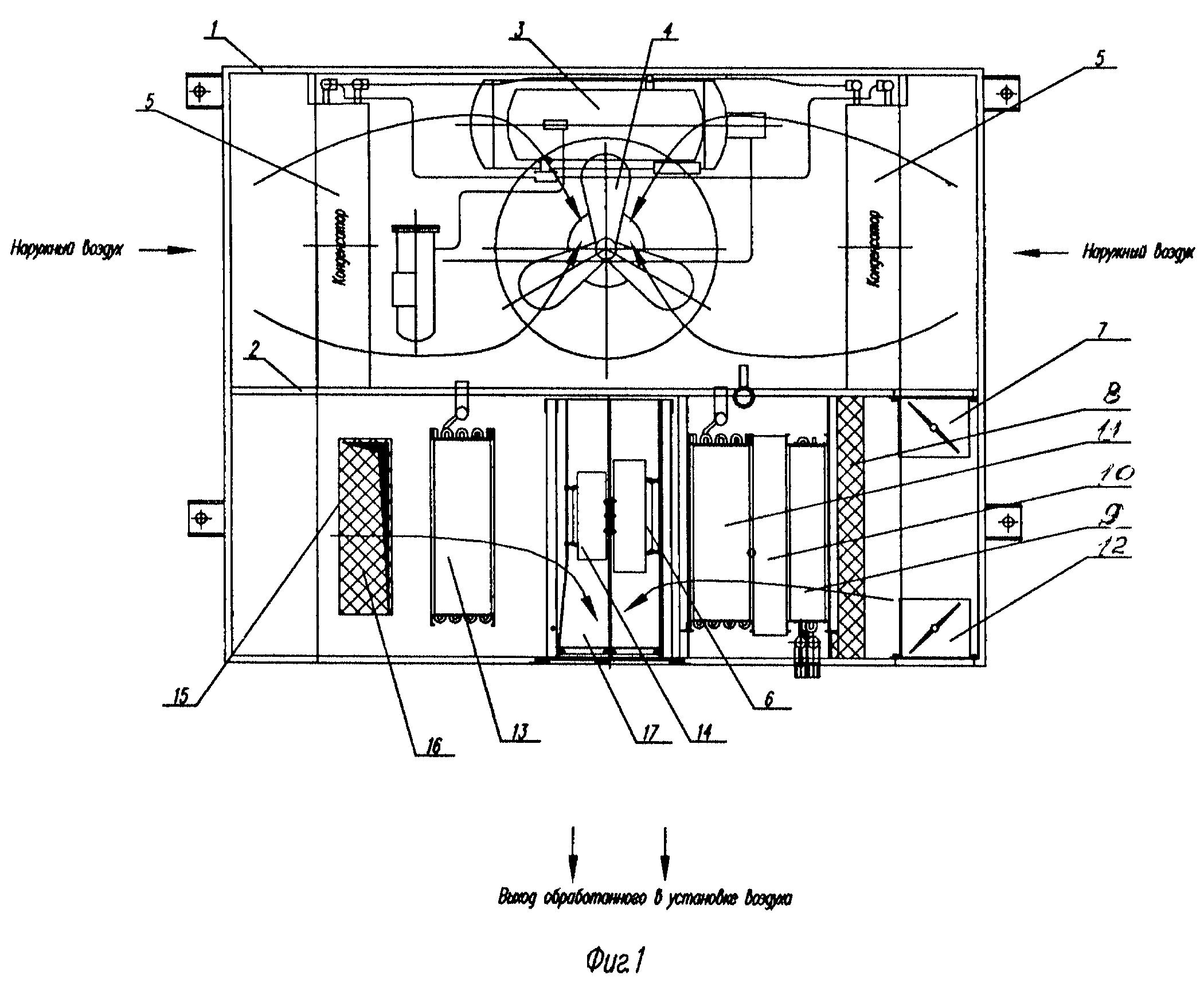
Система кондиционирования пассажирского вагона
Система кондиционирования пассажирского вагона

Система кондиционирования пассажирского вагона
Система кондиционирования пассажирского вагона

Кондиционирование воздуха в вагоне
Кондиционирование воздуха в вагоне





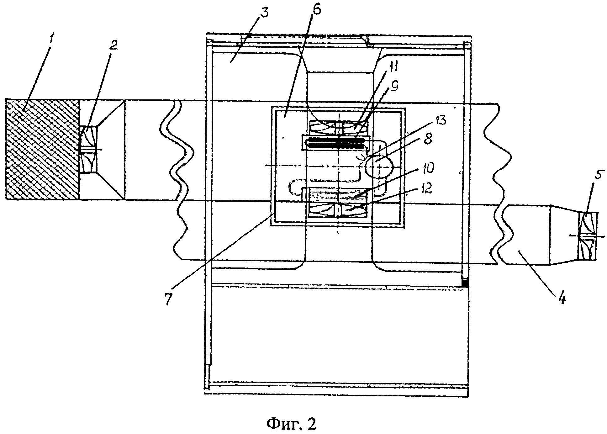
Схема соединения элементов установки охлаждения МАБ 2
Схема соединения элементов установки охлаждения МАБ 2

Кондиционер в поезде
Кондиционер в поезде

Кондиционер в поезде
Кондиционер в поезде

Электрокалорифер пассажирского вагона
Электрокалорифер пассажирского вагона







Кондиционер в вагоне
Кондиционер в вагоне

Вагон метро Москва 2019
Вагон метро Москва 2019

Вентиляторы для вагонов
Вентиляторы для вагонов

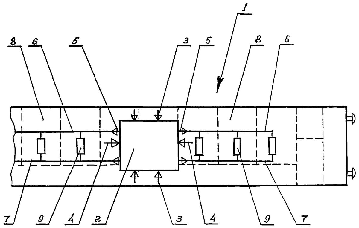
Подвагонное оборудование пассажирского вагона схема
Подвагонное оборудование пассажирского вагона схема

Кондиционер в поезде
Кондиционер в поезде

Уборщик вагонов
Уборщик вагонов

Кондиционер в вагоне метро

Фото: Кондиционер в вагоне метро


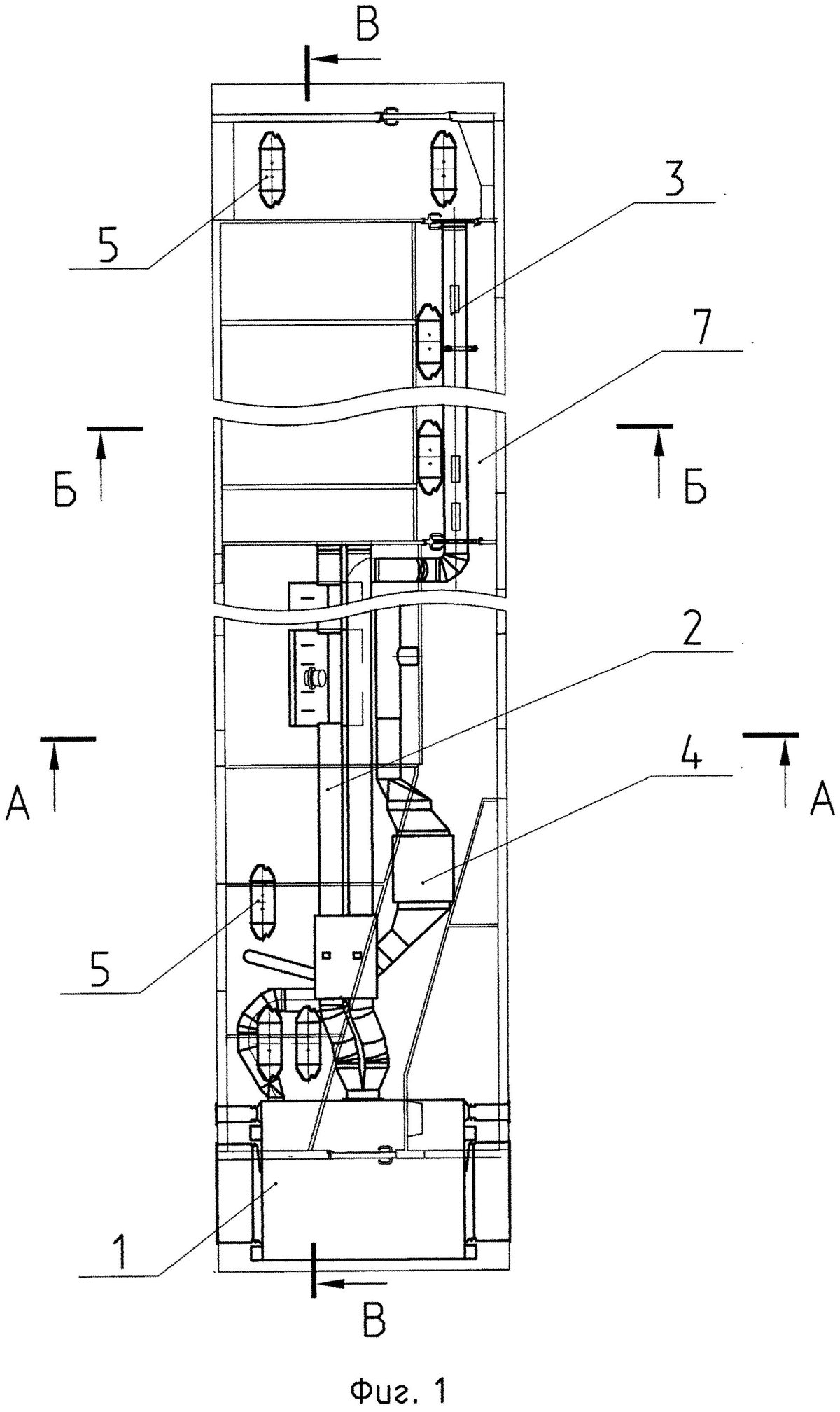
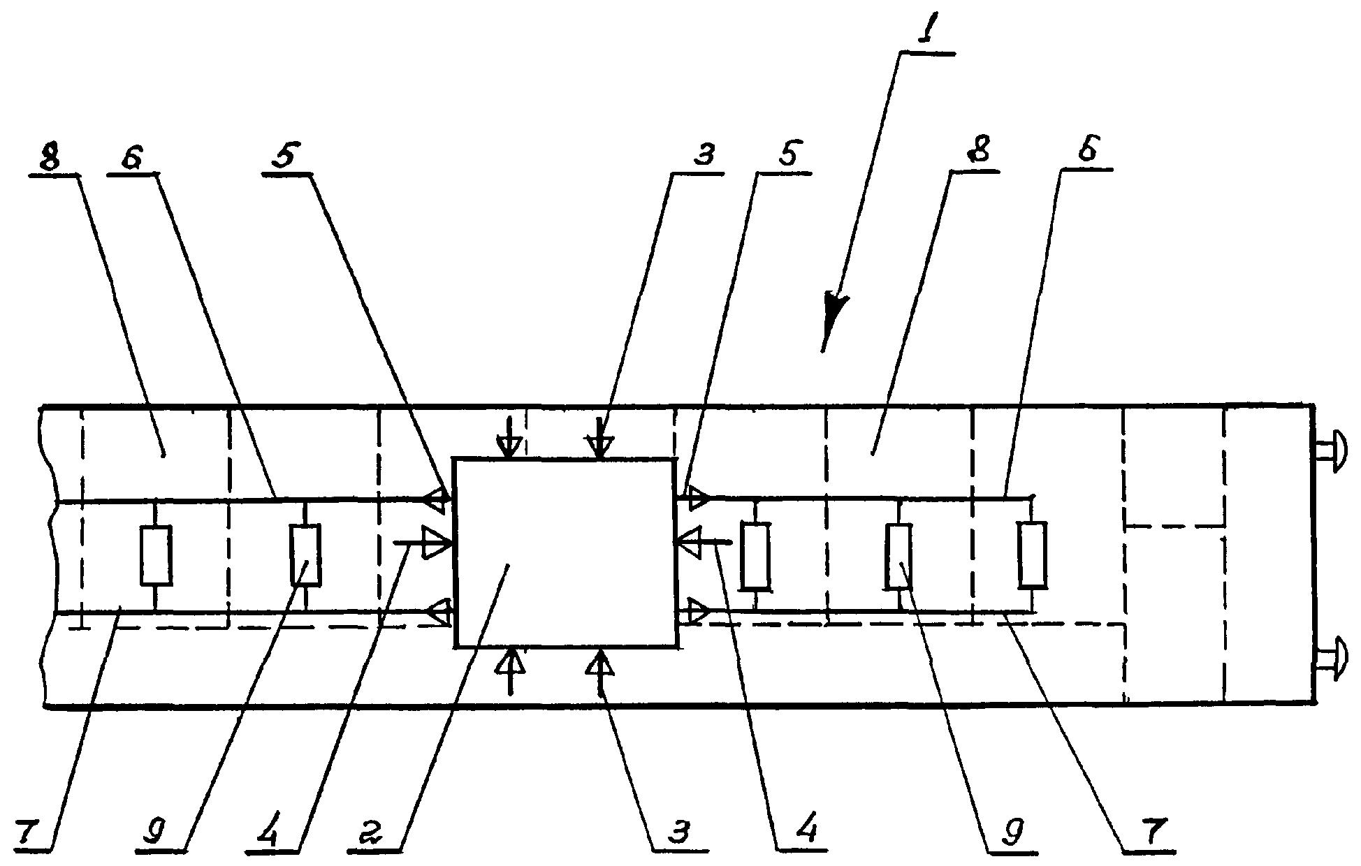
Схема системы вентиляции пассажирского вагона
Схема системы вентиляции пассажирского вагона



Вентиляционный агрегат пассажирского вагона
Вентиляционный агрегат пассажирского вагона

Система кондиционирования воздуха СКВ-4,5-БТ-25
Система кондиционирования воздуха СКВ-4,5-БТ-25

Схема вагона ресторана
Схема вагона ресторана



Регулировка температуры в купе
Регулировка температуры в купе

Светильники в купе поезда
Светильники в купе поезда



Аварийные окна в вагоне плацкарт
Аварийные окна в вагоне плацкарт



Система кондиционирования АН 24
Система кондиционирования АН 24

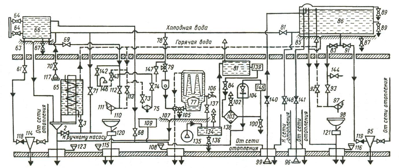
Схема системы водоснабжения купейного вагона постройки Германии
Схема системы водоснабжения купейного вагона постройки Германии

Купе в поезде
Купе в поезде

Установка кондиционирования воздуха УКВ-31
Установка кондиционирования воздуха УКВ-31

Система водоснабжения пассажирских вагонов постройки ТВЗ
Система водоснабжения пассажирских вагонов постройки ТВЗ

Система кондиционирования воздуха пассажирского вагона
Система кондиционирования воздуха пассажирского вагона

Реверсивно тормозной переключатель 1п-004у2
Реверсивно тормозной переключатель 1п-004у2

Кондиционер Konvekta
Кондиционер Konvekta

Вагон сопровождения ТВЗ

Фото: Вагон сопровождения ТВЗ


Подвагонное оборудование пассажирского вагона
Подвагонное оборудование пассажирского вагона

Автоматические двери эд4м
Автоматические двери эд4м

Вагон ТВЗ 61-4529
Вагон ТВЗ 61-4529

81-765 Кабина
81-765 Кабина



Схема системы водоснабжения некупейного вагона постройки ТВЗ
Схема системы водоснабжения некупейного вагона постройки ТВЗ



Вагон метро Москва 2020
Вагон метро Москва 2020

Система кондиционирования воздуха пассажирского вагона
Система кондиционирования воздуха пассажирского вагона

Кабина 81-740/741
Кабина 81-740/741

Подвагонное оборудование 81-717
Подвагонное оборудование 81-717

Система вентиляции электровоза эп1м
Система вентиляции электровоза эп1м

Вагон Аммендорф 47 к
Вагон Аммендорф 47 к

Тамбур вагона ТВЗ
Тамбур вагона ТВЗ

Щит управления пассажирского вагона ТВЗ
Щит управления пассажирского вагона ТВЗ



МАЗ 103 автобус тормозная система с пневматическим приводом
МАЗ 103 автобус тормозная система с пневматическим приводом



Отопительный котёл вагона постройки ТВЗ
Отопительный котёл вагона постройки ТВЗ

Схема оборудования электровоза вл80с

Фото: Схема оборудования электровоза вл80с


Подвагонное оборудование эд4м
Подвагонное оборудование эд4м



Аварийное освещение вагонов
Аварийное освещение вагонов

УКВ ПВ кондиционер
УКВ ПВ кондиционер

Аккумуляторные батареи вагонов 110в
Аккумуляторные батареи вагонов 110в

Схема системы отопления пассажирского вагона постройки ТВЗ
Схема системы отопления пассажирского вагона постройки ТВЗ

Система кондиционирования воздуха кабины трактора в
Система кондиционирования воздуха кабины трактора в









Кипятильник Титан вагонный
Кипятильник Титан вагонный

Кондиционер в поезде
Кондиционер в поезде





Титан пассажирского вагона
Титан пассажирского вагона

Похожие фото:

Комментарии
Минимальная длина комментария - 50 знаков. комментарии модерируются
Кликните на изображение чтобы обновить код, если он неразборчив