Машинатор » Обечайка камеры сгорания турбомашины

Обечайка камеры сгорания турбомашины

19 фев
---
1
0

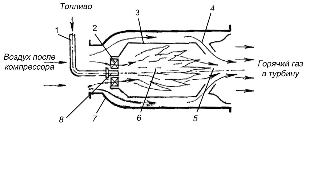
Камера сгорания газовой турбины
Камера сгорания газовой турбины

Сопло газовой турбины
Сопло газовой турбины

Камера сгорания тв3-117
Камера сгорания тв3-117





Газотурбинный компрессор ГТК-10
Газотурбинный компрессор ГТК-10

Камера сгорания РД 33
Камера сгорания РД 33



Газовые турбина двумя камера горание
Газовые турбина двумя камера горание

Камера сгорания реактивного двигателя
Камера сгорания реактивного двигателя

Engine Alliance gp7200

Фото: Engine Alliance gp7200




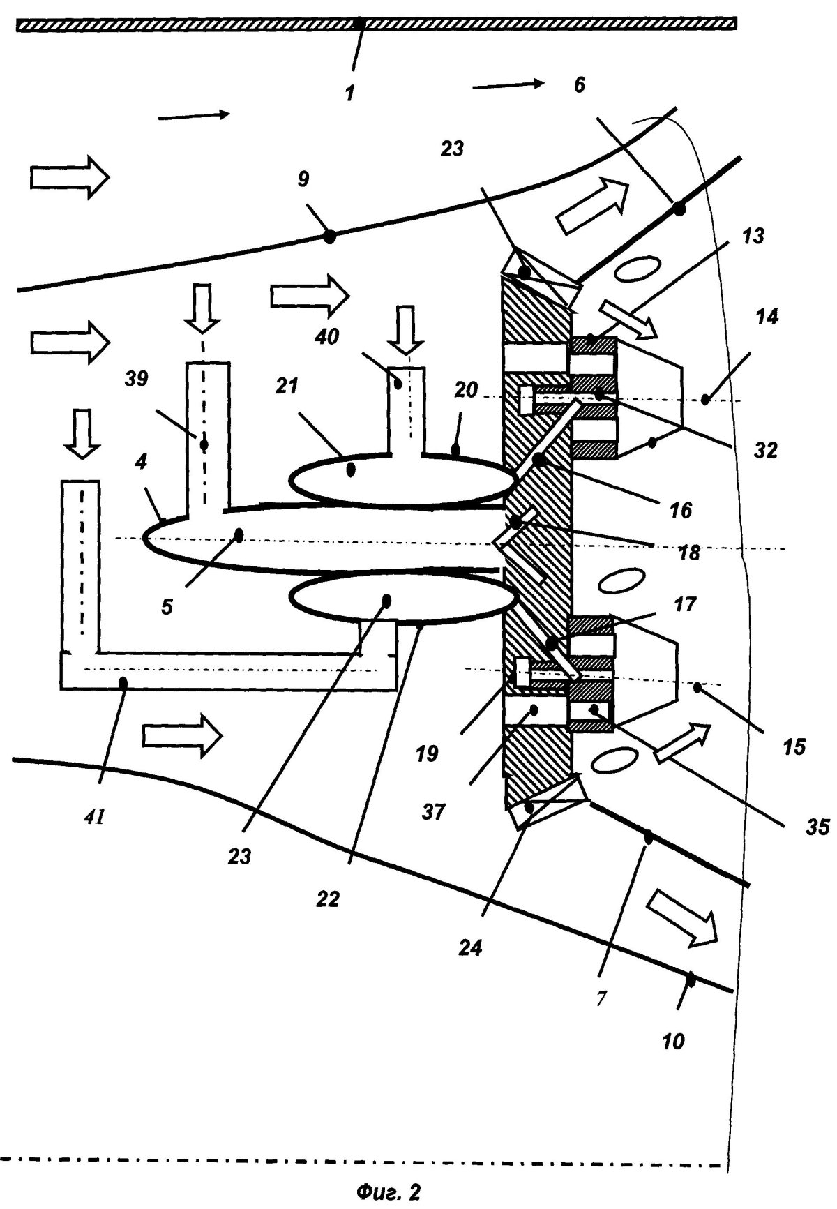
Схема камеры сгорания ГТУ
Схема камеры сгорания ГТУ

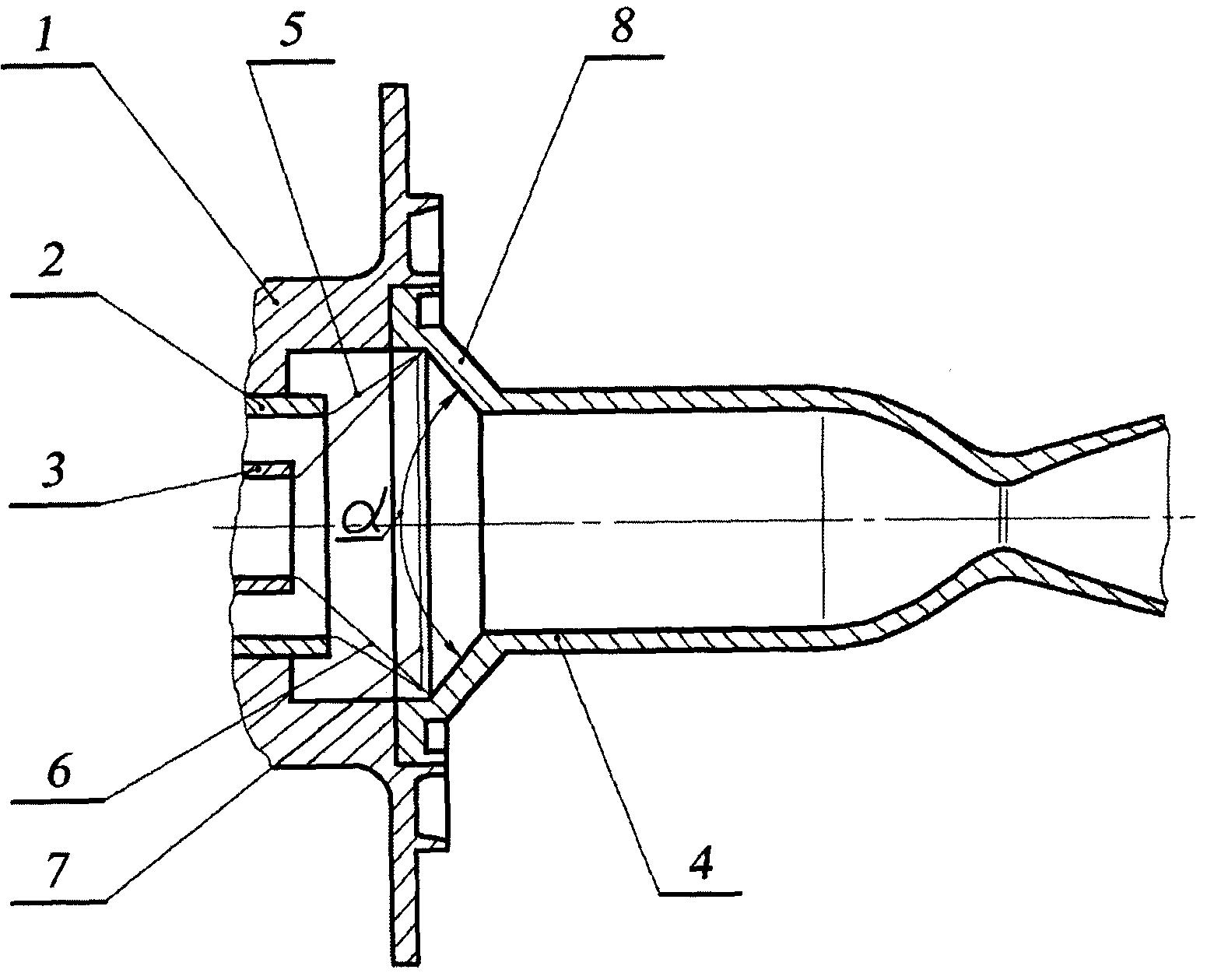
Сопловой аппарат ГТД
Сопловой аппарат ГТД



Жаровая труба камеры сгорания ГТД
Жаровая труба камеры сгорания ГТД

Сб.238 камера сгорания
Сб.238 камера сгорания

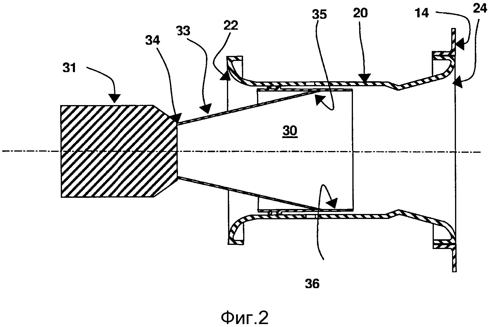
Кольцевая камера сгорания ГТД
Кольцевая камера сгорания ГТД



НК-12ст двигатель

Фото: НК-12ст двигатель




ГТЭ 160 чертеж
ГТЭ 160 чертеж

Турбореактивный двигатель самолета
Турбореактивный двигатель самолета



ГТК 10 4 камера сгорания
ГТК 10 4 камера сгорания

Sgt 700 Siemens
Sgt 700 Siemens

Жаровая труба ГТД
Жаровая труба ГТД



Камера сгорания ЖРД В разрезе
Камера сгорания ЖРД В разрезе

Паровая микротурбина 3 КВТ
Паровая микротурбина 3 КВТ

Свободная турбина ГТД
Свободная турбина ГТД

Чертеж камеры ЖРД
Чертеж камеры ЖРД



Турбомашины
Турбомашины

Двигатель ПС-90a2
Двигатель ПС-90a2

Сопло ракеты схема
Сопло ракеты схема

Камера сгорания ал 31ф
Камера сгорания ал 31ф



Устройство камеры сгорания газовой турбины
Устройство камеры сгорания газовой турбины

Кольцевая камера сгорания ГТУ

Фото: Кольцевая камера сгорания ГТУ


Малоэмиссионные камеры сгорания
Малоэмиссионные камеры сгорания

ГТД 350 чертеж
ГТД 350 чертеж





Пластинчатый регенератор ГТК-10-4
Пластинчатый регенератор ГТК-10-4

Жаровая труба для горелки Бабингтона
Жаровая труба для горелки Бабингтона



Трубчато Кольцевая камера сгорания ГТД
Трубчато Кольцевая камера сгорания ГТД



Трубчато Кольцевая камера сгорания ГТД
Трубчато Кольцевая камера сгорания ГТД

Камера сгорания газовой турбины
Камера сгорания газовой турбины

Камера сгорания газовой турбины
Камера сгорания газовой турбины



Завихритель камеры сгорания ГТД
Завихритель камеры сгорания ГТД







Типы камер сгорания ДВС
Типы камер сгорания ДВС

Жаровая труба ГТД
Жаровая труба ГТД





Трубчато Кольцевая камера сгорания ГТД
Трубчато Кольцевая камера сгорания ГТД

Диффузор камеры сгорания ГТД
Диффузор камеры сгорания ГТД

Камера сгорания газовой турбины
Камера сгорания газовой турбины

Тангенциальная головка
Тангенциальная головка









Форсуночная камера ЯМЗ
Форсуночная камера ЯМЗ



Камера сгорания ГТД
Камера сгорания ГТД

Микро турбореактивный двигатель Джет
Микро турбореактивный двигатель Джет

Чертеж газовой турбины
Чертеж газовой турбины

Камеры сгорания General Electric
Камеры сгорания General Electric

Похожие фото:

Комментарии
Минимальная длина комментария - 50 знаков. комментарии модерируются
Кликните на изображение чтобы обновить код, если он неразборчив