Машинатор » Оборачиватель лент льна олл

Оборачиватель лент льна олл

20 фев
---
2
0

Оборачиватель лент льна самоходный Череповец
Оборачиватель лент льна самоходный Череповец





Самоходная льнотеребилка
Самоходная льнотеребилка

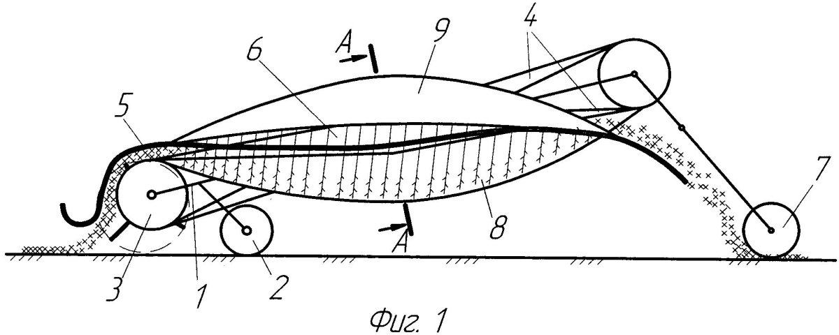
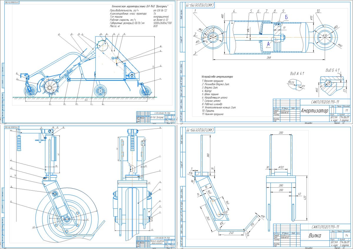
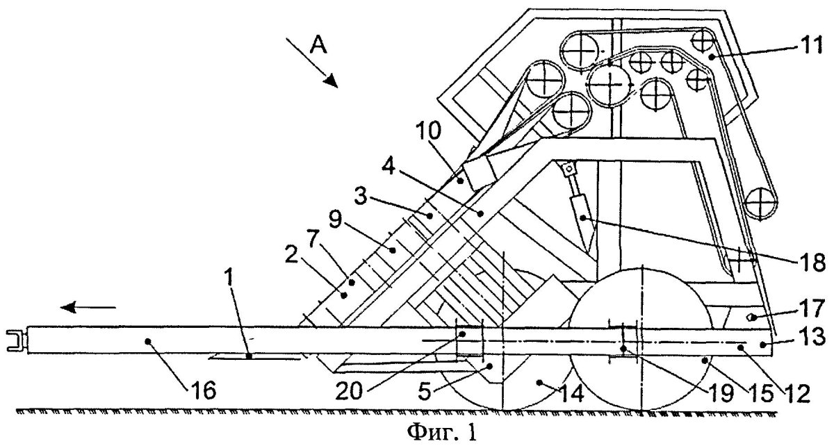
Оборачиватель лент льна ол-140 долгунец
Оборачиватель лент льна ол-140 долгунец

Ворошилка - вспушиватель лент льна ВВЛ-3
Ворошилка - вспушиватель лент льна ВВЛ-3



Уборка льна долгунца
Уборка льна долгунца

Льнотеребилка ТЛН-1.5А
Льнотеребилка ТЛН-1.5А

Пресс подборщик Агромаш
Пресс подборщик Агромаш



Оборачиватель лент льна
Оборачиватель лент льна

Вспушиватель льна ВЛН-4.5
Вспушиватель льна ВЛН-4.5

Техника для уборки льна долгунца
Техника для уборки льна долгунца

Ворошилка - вспушиватель лент льна ВВЛ-3
Ворошилка - вспушиватель лент льна ВВЛ-3

Техника для уборки льна
Техника для уборки льна



Редуктор CLAAS Rollant 66
Редуктор CLAAS Rollant 66

Льнотеребилка ТЛН-1.5А
Льнотеребилка ТЛН-1.5А

Косилка самоходная cs200

Фото: Косилка самоходная cs200


Е303 ворошилка
Е303 ворошилка



Уборка льна
Уборка льна

Уборка льна очёсывающей жаткой
Уборка льна очёсывающей жаткой







Технологическая схема льнотеребилки ТЛН 1,5а
Технологическая схема льнотеребилки ТЛН 1,5а

Льняная лента
Льняная лента

Льняная лента
Льняная лента

Пресс подборщик прл-150
Пресс подборщик прл-150







Пресс подборщик прл-150
Пресс подборщик прл-150

Вспушиватель льна
Вспушиватель льна



Льняная лента
Льняная лента

Самоходный пресс подборщик
Самоходный пресс подборщик

Сельское хозяйство Белоруссии льноводство

Фото: Сельское хозяйство Белоруссии льноводство




Fortschritt e512
Fortschritt e512

Мяльно-трепальный агрегат
Мяльно-трепальный агрегат

Ягодоуборочный комбайн Oskar 4wd
Ягодоуборочный комбайн Oskar 4wd

Тесьма льняная
Тесьма льняная

Прл 150
Прл 150

Теребилка льна
Теребилка льна







Комбайн льноуборочный Двина-4м
Комбайн льноуборочный Двина-4м

Уборка льна долгунца
Уборка льна долгунца

ППЛ 1,6
ППЛ 1,6

Krone Swadro TC 880
Krone Swadro TC 880



Борона дисковая Мелиоративная
Борона дисковая Мелиоративная

Вальцы иб2222
Вальцы иб2222

Свеклоуборочный комбайн Гомсельмаш
Свеклоуборочный комбайн Гомсельмаш

Уборка льна долгунца
Уборка льна долгунца

Похожие фото:

Комментарии
Минимальная длина комментария - 50 знаков. комментарии модерируются
Кликните на изображение чтобы обновить код, если он неразборчив