Машинатор » Простейший поршневой двигатель внутреннего сгорания

Простейший поршневой двигатель внутреннего сгорания

16 ноя
---
4
0

Такты 6 цилиндрового двигателя
Такты 6 цилиндрового двигателя



Модель электродвигателя разборная лабораторная Edustrong
Модель электродвигателя разборная лабораторная Edustrong

Тепловые двигатели физика 8 класс
Тепловые двигатели физика 8 класс

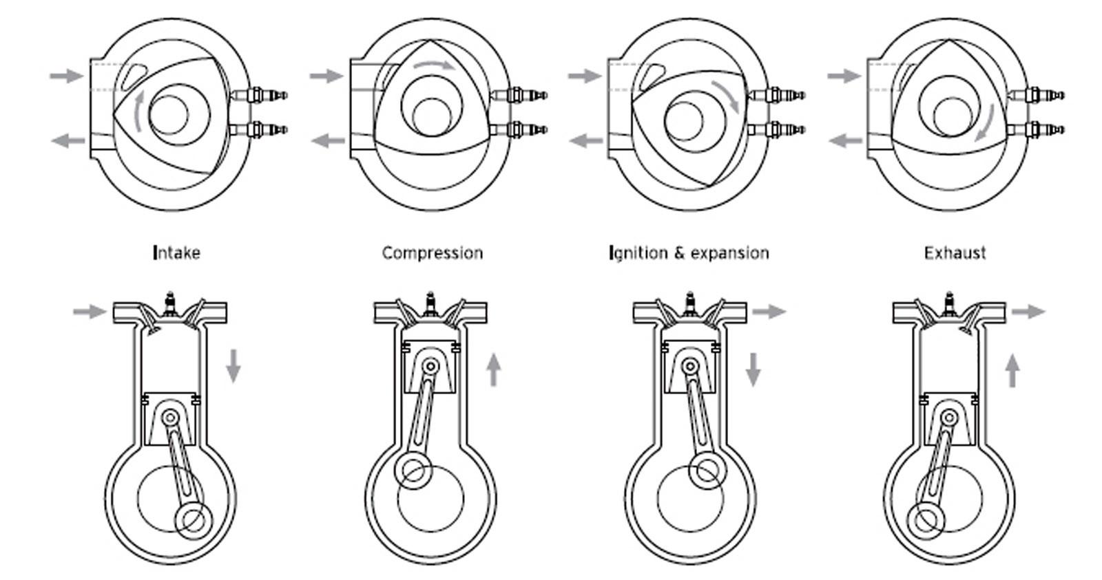
Схема работы 4 тактного двигателя ДВС
Схема работы 4 тактного двигателя ДВС

Рис 27 циклы работы двигателя внутреннего сгорания
Рис 27 циклы работы двигателя внутреннего сгорания

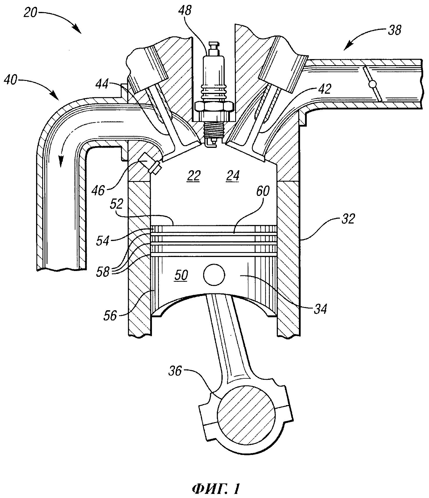
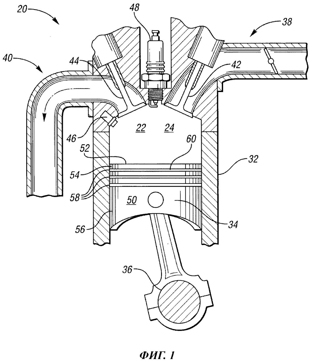
Строение поршня ДВС
Строение поршня ДВС





Четырехтактный дизельный двигатель чертеж
Четырехтактный дизельный двигатель чертеж

Схема двигателя внутреннего сгорания физика

Фото: Схема двигателя внутреннего сгорания физика


Поршень двигателя внутреннего сгорания схема
Поршень двигателя внутреннего сгорания схема

4 Тактный двигатель внутреннего сгорания
4 Тактный двигатель внутреннего сгорания

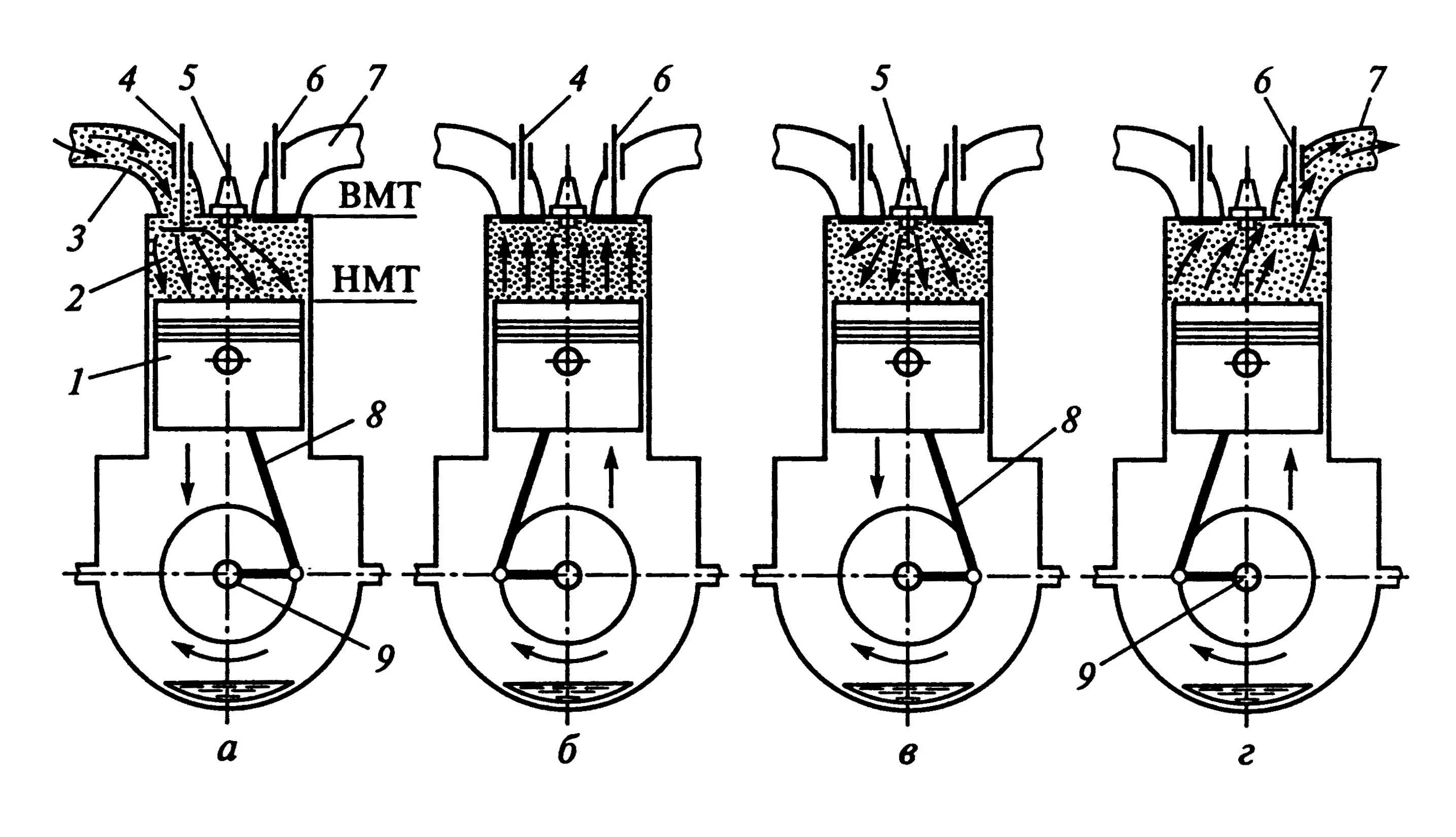
Такты двигателя внутреннего сгорания
Такты двигателя внутреннего сгорания

4 Тактный двигатель принцип работы схема
4 Тактный двигатель принцип работы схема



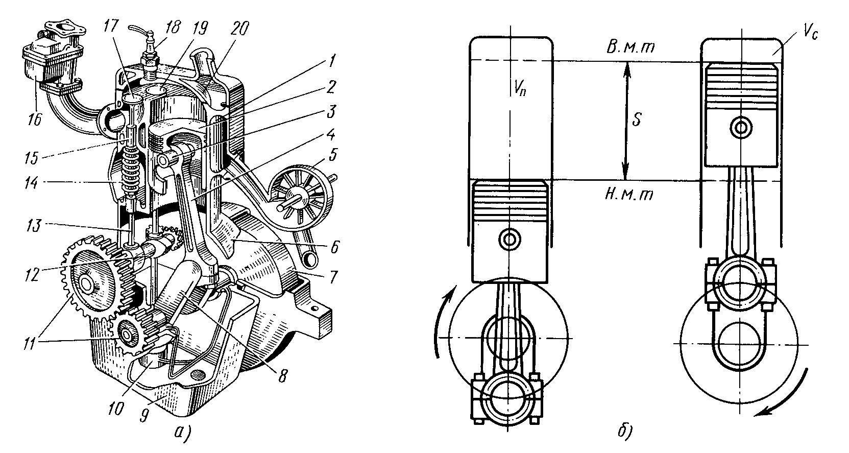
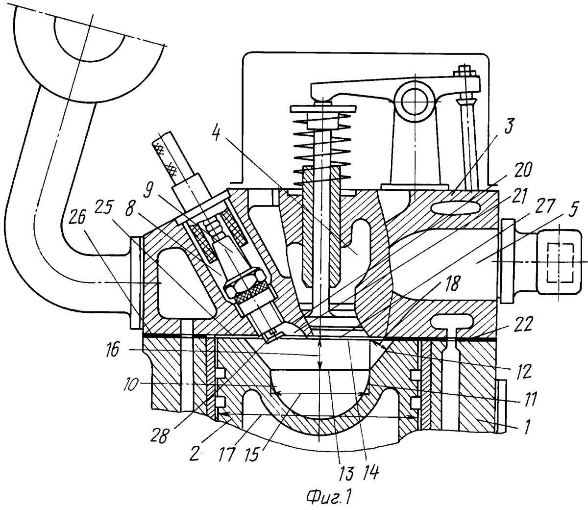
Схема одноцилиндрового четырехтактного дизельного двигателя
Схема одноцилиндрового четырехтактного дизельного двигателя

Паровой двигатель Стирлинга
Паровой двигатель Стирлинга

ДВС двигатель устройство и принцип работы
ДВС двигатель устройство и принцип работы

4-Х цилиндровый оппозитный двигатель

Фото: 4-Х цилиндровый оппозитный двигатель


Схема четырехтактного карбюраторного двигателя
Схема четырехтактного карбюраторного двигателя

4 Тактный дизельный двигатель
4 Тактный дизельный двигатель

Поршневой компрессор принцип действия
Поршневой компрессор принцип действия

Принцип работы ДВС 2 тактного
Принцип работы ДВС 2 тактного

Принцип работы 4 тактного бензинового двигателя
Принцип работы 4 тактного бензинового двигателя

Двигатель ЗМЗ 410 чертеж
Двигатель ЗМЗ 410 чертеж

Физика 8 класс перышкин двигатель внутреннего сгорания
Физика 8 класс перышкин двигатель внутреннего сгорания

Принцип работы четырёхтактного двигателя gif
Принцип работы четырёхтактного двигателя gif



Первый четырехтактный двигатель внутреннего сгорания
Первый четырехтактный двигатель внутреннего сгорания

Поршневой радиальный мотор м11
Поршневой радиальный мотор м11



Опишите принцип работы ДВС
Опишите принцип работы ДВС

4 Тактный двигатель 4 цилиндра
4 Тактный двигатель 4 цилиндра

Двигатель внутреннего сгорания
Двигатель внутреннего сгорания

Самодельная паровая машина
Самодельная паровая машина

Роторно-поршневой двигатель строение
Роторно-поршневой двигатель строение

Схема двигателя с искровым зажиганием
Схема двигателя с искровым зажиганием

ВМТ НМТ ход поршня
ВМТ НМТ ход поршня

Двигатель внутреннего сгорания анимация

Фото: Двигатель внутреннего сгорания анимация




Принцип работы ДВС 2 тактного
Принцип работы ДВС 2 тактного

Аксиальный ДВС Duke engine
Аксиальный ДВС Duke engine

Двигатель внутреннего сгорания
Двигатель внутреннего сгорания

Поршневые двигатели
Поршневые двигатели

Такты двигателя внутреннего сгорания физика 8 класс
Такты двигателя внутреннего сгорания физика 8 класс



4 Такта четырехтактного двигателя
4 Такта четырехтактного двигателя

Прошневые двигатели скрепмеханик
Прошневые двигатели скрепмеханик





Поршневые насосы gif
Поршневые насосы gif

Поршневые двигатели скрап механик
Поршневые двигатели скрап механик

Похожие фото:

Комментарии
Минимальная длина комментария - 50 знаков. комментарии модерируются
Кликните на изображение чтобы обновить код, если он неразборчив