Машинатор » Пассажирский самолет с герметичным фюзеляжем

Пассажирский самолет с герметичным фюзеляжем

06 мар
---
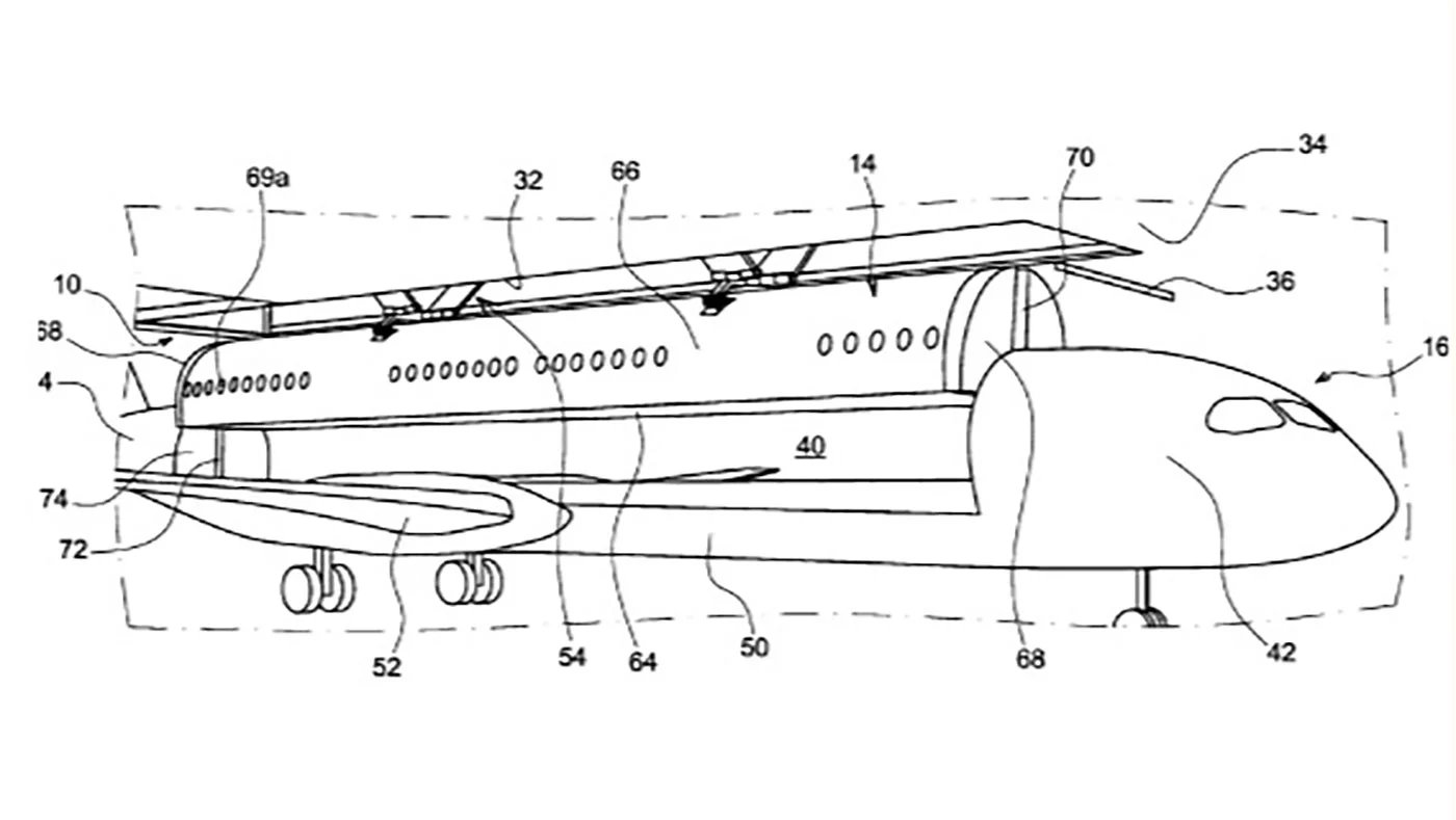
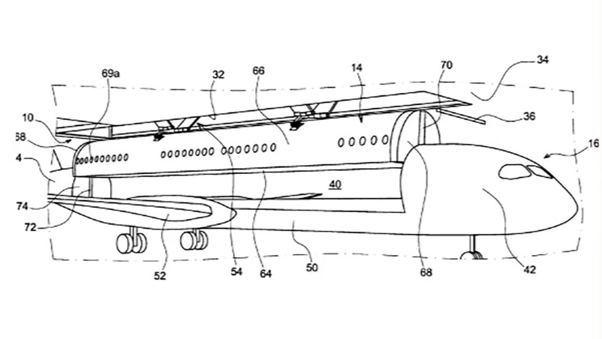
1
0



Як 40 фюзеляж
Як 40 фюзеляж



Ил-62 хвост
Ил-62 хвост



Boeing b-377 Stratocruiser
Boeing b-377 Stratocruiser





Хвостовая опора ил-62
Хвостовая опора ил-62





Junkers ef100
Junkers ef100



Российский дальнемагистральный самолет
Российский дальнемагистральный самолет



KLM V образный самолет
KLM V образный самолет







Boeing 737, 28 апреля 1988 года

Фото: Boeing 737, 28 апреля 1988 года






Shabtai Hirshberg Eco friendly aircraft Design for 2030
Shabtai Hirshberg Eco friendly aircraft Design for 2030



Аэробус 330 Нео салон
Аэробус 330 Нео салон



Ту-154 гермошпангоут
Ту-154 гермошпангоут

Celera 500 l самолет
Celera 500 l самолет

MCDONNELL Douglas MD-80
MCDONNELL Douglas MD-80



Модуль самолета
Модуль самолета

Tupolev tu-154m
Tupolev tu-154m

Четырехмоторный самолет
Четырехмоторный самолет



Салон Фрегат Экоджет
Салон Фрегат Экоджет

Ил-18 пассажирский самолёт
Ил-18 пассажирский самолёт

Ил-18 поршневой
Ил-18 поршневой

Самый большой Аэробус а380
Самый большой Аэробус а380



Фюзеляж фото

Фото: Фюзеляж фото


Самолёт Боинг 747
Самолёт Боинг 747







S7 737-800 салон
S7 737-800 салон

Схема самолета Airbus a380
Схема самолета Airbus a380





Де Хэвилленд самолет Комета
Де Хэвилленд самолет Комета

Экоджет самолет
Экоджет самолет

Самолет Hy
Самолет Hy

Самолет с турбинами на хвосте
Самолет с турбинами на хвосте

Пассажирский самолет Боинг 747
Пассажирский самолет Боинг 747

Похожие фото:

Комментарии
Минимальная длина комментария - 50 знаков. комментарии модерируются
Кликните на изображение чтобы обновить код, если он неразборчив