Машинатор » Прицепное орудие для сельскохозяйственных работ

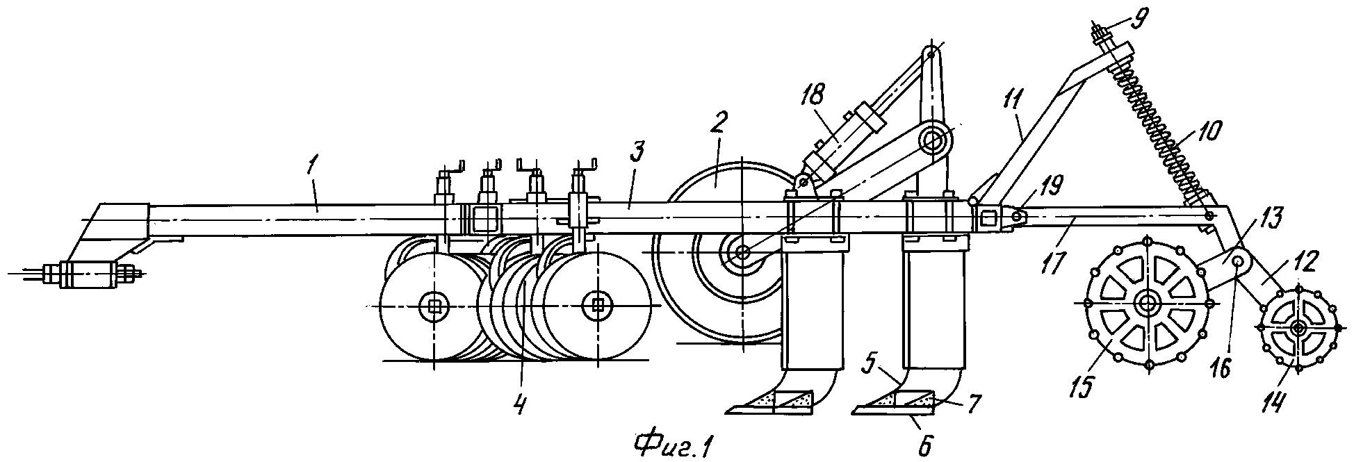
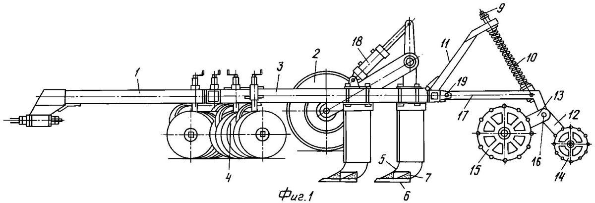
Прицепное орудие для сельскохозяйственных работ

08 мар
---
1
0









Чизельный плуг для МТЗ 82
Чизельный плуг для МТЗ 82





Дисковый плуг
Дисковый плуг

Культиватор Amazone Cenius 5003-2 TX super
Культиватор Amazone Cenius 5003-2 TX super



Плуг чизельный ПЧП-6.0

Фото: Плуг чизельный ПЧП-6.0


Глубокорыхлитель Quivogne
Глубокорыхлитель Quivogne





Кама ТПУ 6000
Кама ТПУ 6000





Жатка валковая прицепная "Дон мар" ЖВП-2009шг
Жатка валковая прицепная "Дон мар" ЖВП-2009шг



Сцепка СНК-10

Фото: Сцепка СНК-10


V-sub глубокорыхлитель
V-sub глубокорыхлитель

Дисковый плуг для трактора т 25
Дисковый плуг для трактора т 25









БРК борона
БРК борона

Сцепка СП-11
Сцепка СП-11

Gaspardo MTR 8 прицепное
Gaspardo MTR 8 прицепное



Плуг ПБС 10 П
Плуг ПБС 10 П





Глубокорыхлитель ГКР-4/700
Глубокорыхлитель ГКР-4/700



Глубокорыхлитель Джон Дир 915
Глубокорыхлитель Джон Дир 915









Косилка Пароконная КП-1110
Косилка Пароконная КП-1110

Ленточный валкообразователь Kuhn
Ленточный валкообразователь Kuhn





Дисковая борона БДМ Агро
Дисковая борона БДМ Агро





Глубокорыхлитель Кама Tiger g4
Глубокорыхлитель Кама Tiger g4

Косилка-плющилка прицепная КПП-4,2 «Палессе ст42»
Косилка-плющилка прицепная КПП-4,2 «Палессе ст42»

Морковоуборочный комбайн Alina
Морковоуборочный комбайн Alina

Прицепная сеялка Гаспардо
Прицепная сеялка Гаспардо

Сельхоз орудия крестьян 19 века
Сельхоз орудия крестьян 19 века

Грабли ke 330
Грабли ke 330





Плуг для мотолебедки бычок мл-1м
Плуг для мотолебедки бычок мл-1м

Чизельные плуги
Чизельные плуги



Патент комбинированный почвообрабатывающий агрегат
Патент комбинированный почвообрабатывающий агрегат

Сцепка борон СП 16

Фото: Сцепка борон СП 16


Борона зубовая гидрофицированная БЗГ-24 мечта
Борона зубовая гидрофицированная БЗГ-24 мечта

Дискатор БДМ 9х2пт
Дискатор БДМ 9х2пт

Мотолебедка Бурлак
Мотолебедка Бурлак

Лущильник дисковый
Лущильник дисковый



Плуг чизельный полуприцепной Svarog ПЧП-4,5
Плуг чизельный полуприцепной Svarog ПЧП-4,5



Культиватор прицепной универсальный КПУ-10
Культиватор прицепной универсальный КПУ-10

Бороны зубовые гидрофицированные прицепные
Бороны зубовые гидрофицированные прицепные

Ворошилка SAMASZ p6-651
Ворошилка SAMASZ p6-651

Похожие фото:

Комментарии
Минимальная длина комментария - 50 знаков. комментарии модерируются
Кликните на изображение чтобы обновить код, если он неразборчив