Машинатор » Радиально поршневый двигатель

Радиально поршневый двигатель

16 мар
---
1
0



Радиальный двигатель
Радиальный двигатель

Авиационный двигатель звездообразный
Авиационный двигатель звездообразный

Радиально-поршневой гидромотор gm2
Радиально-поршневой гидромотор gm2

Radial 12 engine
Radial 12 engine

Двигатель Gnome ротативный
Двигатель Gnome ротативный

BMW 132 двигатель
BMW 132 двигатель

Сальмсон двигатель авиационный
Сальмсон двигатель авиационный

Радиально-поршневой гидромотор hcr5a047
Радиально-поршневой гидромотор hcr5a047

Радиальный поршневой двигатель ан2
Радиальный поршневой двигатель ан2

Двухтактный авиадизель м-305

Фото: Двухтактный авиадизель м-305


Поршневой радиальный мотор м11
Поршневой радиальный мотор м11

BMW 801
BMW 801

Engine XR 600
Engine XR 600

7 Цилиндровый звездообразный двигатель
7 Цилиндровый звездообразный двигатель

Бристоль Геркулес двигатель авиационный
Бристоль Геркулес двигатель авиационный



Коленвал аш 62 Ир
Коленвал аш 62 Ир



Поршневые авиационные двигатели

Фото: Поршневые авиационные двигатели


Двигатель турбореактивный РД-45 авиационный
Двигатель турбореактивный РД-45 авиационный









Ротативный двигатель Гном чертежи
Ротативный двигатель Гном чертежи

Двигатель м-11
Двигатель м-11

Роторно поршневой ДВС
Роторно поршневой ДВС

Схема мотора АН 2
Схема мотора АН 2

Двигатель циклон Марк 5
Двигатель циклон Марк 5

Аш-62 двигатель схема
Аш-62 двигатель схема



Pratt & Whitney r-985 Wasp Junior
Pratt & Whitney r-985 Wasp Junior

Радиально-поршневые гидромоторы схема
Радиально-поршневые гидромоторы схема

Гидромотор хода эо4321
Гидромотор хода эо4321

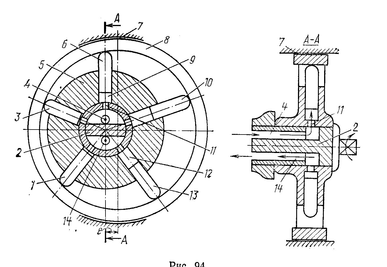
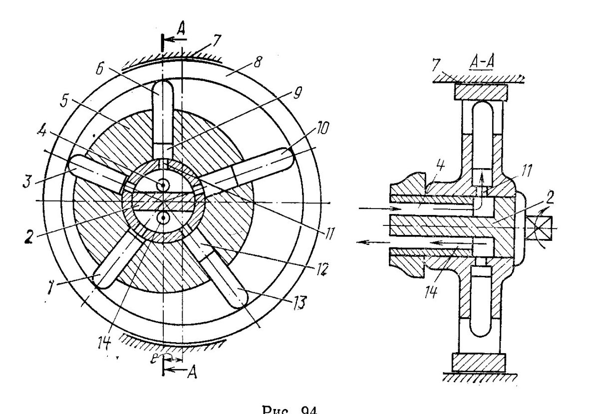
Радиально-поршневой гидромотор устройство
Радиально-поршневой гидромотор устройство

Continental r-670
Continental r-670





Авиадвигатель Гном Рон

Фото: Авиадвигатель Гном Рон


Роторно поршневой насос схема
Роторно поршневой насос схема



Радиально поршневой гидромотор схема
Радиально поршневой гидромотор схема

Авиадвигатель м-11 чертеж
Авиадвигатель м-11 чертеж

Поршневой авиадвигатель аш82т
Поршневой авиадвигатель аш82т

Wright r-3350 Duplex-Cyclone
Wright r-3350 Duplex-Cyclone

Двигатель звезда м503
Двигатель звезда м503

Гидромотор высокомоментный радиально-поршневой чертеж
Гидромотор высокомоментный радиально-поршневой чертеж



Авиационный двигатель аш-82 т
Авиационный двигатель аш-82 т

Двигатель гидравлический Drive Motor f4m0003
Двигатель гидравлический Drive Motor f4m0003







Clerget 9b
Clerget 9b

Авиадвигатель звездообразный
Авиадвигатель звездообразный

Роторный радиально поршневой насос схема
Роторный радиально поршневой насос схема

М-11 двигатель авиационный
М-11 двигатель авиационный

Поршневой двигатель аш-62ир
Поршневой двигатель аш-62ир


Похожие фото:

Комментарии
Минимальная длина комментария - 50 знаков. комментарии модерируются
Кликните на изображение чтобы обновить код, если он неразборчив