Машинатор » Машина для послеуборочной обработки

Машина для послеуборочной обработки

17 мар
---
1
0



ОВС-25 Воронежсельмаш
ОВС-25 Воронежсельмаш

Зерноочистительный самопередвижной комплекс
Зерноочистительный самопередвижной комплекс

Очиститель вороха ОВС-25
Очиститель вороха ОВС-25

Очиститель зерна ОВС-25
Очиститель зерна ОВС-25

МЗК-70 мобильный зерноочистительный комплекс
МЗК-70 мобильный зерноочистительный комплекс

ОВС 25 стационарный
ОВС 25 стационарный



Машина первичной очистки ЗВС-20 А
Машина первичной очистки ЗВС-20 А

Зерноочистительная машина ОВС 25
Зерноочистительная машина ОВС 25



Очиститель вороха самопередвижной ОВС-25
Очиститель вороха самопередвижной ОВС-25

Очиститель зерна фракционный ОЗФ-80
Очиститель зерна фракционный ОЗФ-80

Зерносушильный комплекс КЗС-40
Зерносушильный комплекс КЗС-40

Поз 50 зерноочистительная машина
Поз 50 зерноочистительная машина



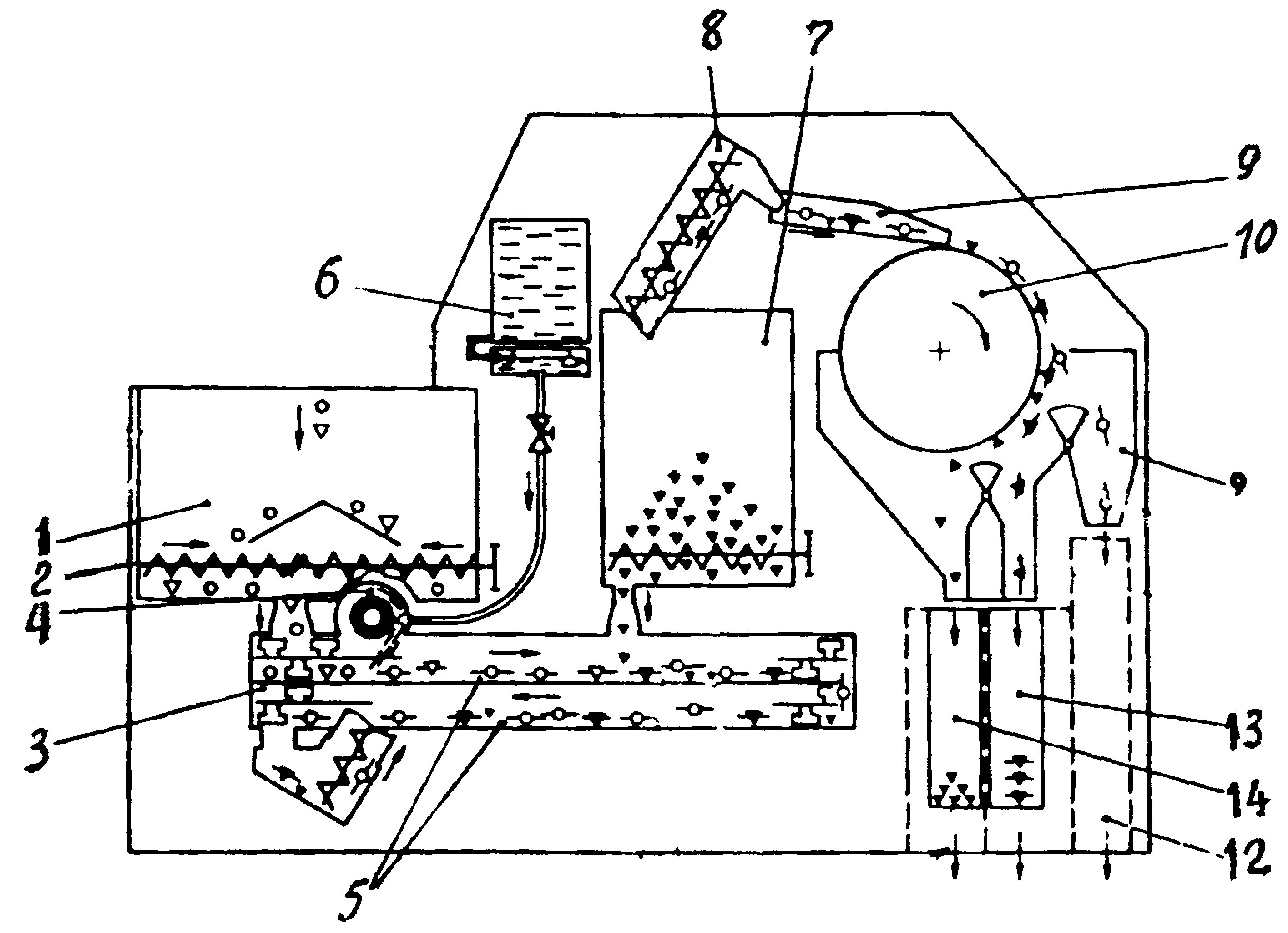
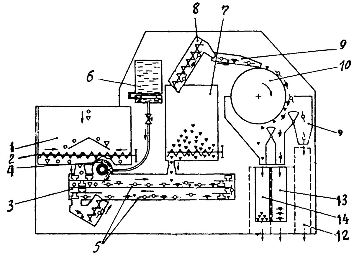
Зерноочистительная машина ОВС 25 схема
Зерноочистительная машина ОВС 25 схема

МЗС-25 машина зерноочистительная
МЗС-25 машина зерноочистительная

Сепаратор аэродинамический сад-30 с циклоном
Сепаратор аэродинамический сад-30 с циклоном

Машина первичной очистки зерна ЗВС-20а

Фото: Машина первичной очистки зерна ЗВС-20а




Сепаратор зерна гравитационный СЗГ-25
Сепаратор зерна гравитационный СЗГ-25



Очиститель вороха зерна ОВС-25с схема
Очиститель вороха зерна ОВС-25с схема









Схема зерноочистительного комплекса
Схема зерноочистительного комплекса

Технологическая линий измельчения зерна
Технологическая линий измельчения зерна



Схема семяочистительной машины МС -4.5
Схема семяочистительной машины МС -4.5

МС 4.5 зерноочистительная машина
МС 4.5 зерноочистительная машина



Послеуборочная обработка зерна
Послеуборочная обработка зерна

Зав-50 зерноочистительный комплекс
Зав-50 зерноочистительный комплекс

Устройства для сортировки зерен
Устройства для сортировки зерен



Технологическая схема производства гречневой крупы
Технологическая схема производства гречневой крупы



Машина вторичной очистки семян самопередвижная МС-4,5м
Машина вторичной очистки семян самопередвижная МС-4,5м

Просушка зерна
Просушка зерна







Самоходные очистительные машины зерна
Самоходные очистительные машины зерна





EUROSNAB
EUROSNAB

Технологическая схема очистки зерна
Технологическая схема очистки зерна





Трактор в поле
Трактор в поле

ОВС- 25. Очиститель вороха самопередвижной Агрострой
ОВС- 25. Очиститель вороха самопередвижной Агрострой

Альфа 100 зерноочистительная машина
Альфа 100 зерноочистительная машина



Клеверотерка-скарификатор КС-0.2
Клеверотерка-скарификатор КС-0.2

Линия подготовки семян
Линия подготовки семян



Комплекс зерноперерабатывающий ЗМП-ПСМ-06

Фото: Комплекс зерноперерабатывающий ЗМП-ПСМ-06






Агрегат предварительной очистки АПО-50ф
Агрегат предварительной очистки АПО-50ф





Зерносушильный комплекс КЗС-20
Зерносушильный комплекс КЗС-20





Лущение стерни
Лущение стерни



Самоходный сепаратор Алмаз МС-20/10
Самоходный сепаратор Алмаз МС-20/10

Шредер промышленный WXS-500
Шредер промышленный WXS-500





Зерноочистительная машина Альфа 100 Ромакс
Зерноочистительная машина Альфа 100 Ромакс










Похожие фото:

Комментарии
Минимальная длина комментария - 50 знаков. комментарии модерируются
Кликните на изображение чтобы обновить код, если он неразборчив