Машинатор » Гибрид элеронов и рулей высоты

Гибрид элеронов и рулей высоты

24 ноя
---
3
0

Схема самолета механизация крыла Элерон
Схема самолета механизация крыла Элерон

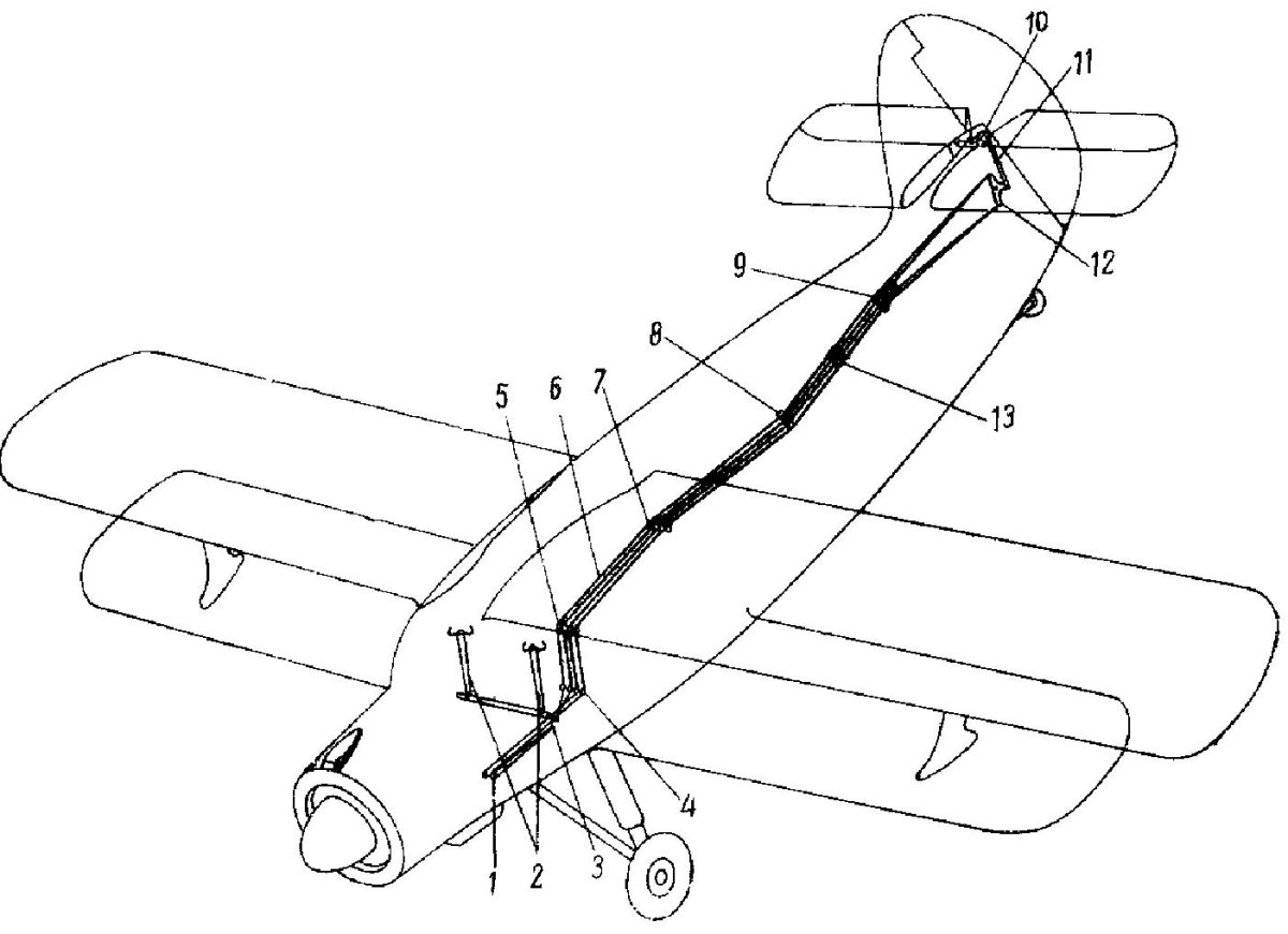
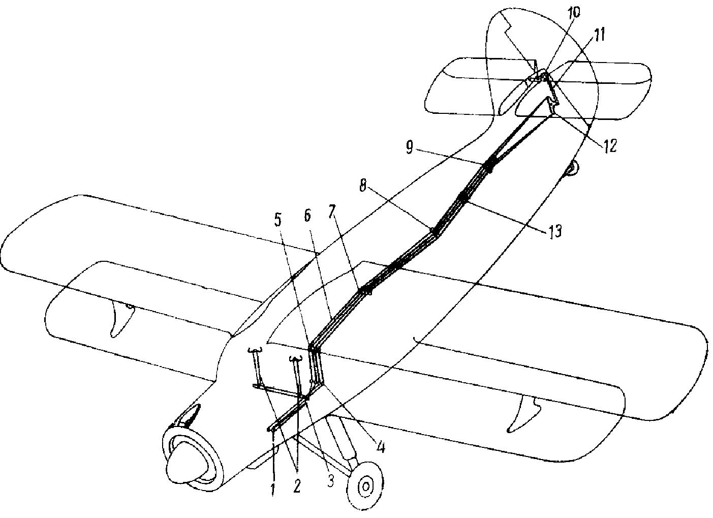
Тяги элеронов
Тяги элеронов

БПЛА гранат-1
БПЛА гранат-1

F5j Glider
F5j Glider

Носовой обтекатель самолета
Носовой обтекатель самолета

Флаперон самолета
Флаперон самолета





Руль высоты
Руль высоты

Как устроен Элерон
Как устроен Элерон

Схемы хвостового оперения самолета

Фото: Схемы хвостового оперения самолета


Триммер руля высоты Даймонд 42
Триммер руля высоты Даймонд 42

Руль высоты
Руль высоты

Рули высоты истребителя
Рули высоты истребителя

Руль высоты
Руль высоты

Узел навески триммера чертеж
Узел навески триммера чертеж

Сколько крыльев у моноплана
Сколько крыльев у моноплана

Элерон а320 схема
Элерон а320 схема

Ту 154 кронштейн навески элеронов
Ту 154 кронштейн навески элеронов

Четырех винтовые самолеты двухкилевое оперение

Фото: Четырех винтовые самолеты двухкилевое оперение


Самолет с раздвигающимися крыльями
Самолет с раздвигающимися крыльями

Руль крена
Руль крена

Ту 154 двигатели сзади
Ту 154 двигатели сзади

Летающая лодка в разрезе
Летающая лодка в разрезе



Хвостовое оперение а320
Хвостовое оперение а320

Ан2 , Элероны, руль высоты
Ан2 , Элероны, руль высоты

Авиамодели f3a чертежи
Авиамодели f3a чертежи



Тросовая проводка управления триммерами АН 24
Тросовая проводка управления триммерами АН 24

Руль направления конструкция
Руль направления конструкция

Схема управления элеронами самолета
Схема управления элеронами самолета

Элерон крыла самолета
Элерон крыла самолета

И-185 М-71 чертежи
И-185 М-71 чертежи

Транспортный самолет Gotha go-244
Транспортный самолет Gotha go-244



Шарнирный момент аэродинамических рулей
Шарнирный момент аэродинамических рулей



Руль высоты самолета
Руль высоты самолета

Триммер руля высоты Cessna 172

Фото: Триммер руля высоты Cessna 172


Кронштейн для закрылок беспилотника
Кронштейн для закрылок беспилотника

Руль управления электромобиля вид снизу
Руль управления электромобиля вид снизу

Конструкция самолёта Аэропракт а22
Конструкция самолёта Аэропракт а22

Лонжеронная схема крыла
Лонжеронная схема крыла

Rudder aircraft
Rudder aircraft



Сплиттер Accord 8
Сплиттер Accord 8

Boeing 737 стабилизатор
Boeing 737 стабилизатор

Узел навески закрылка
Узел навески закрылка

Цессна 150 крепление сервопривода
Цессна 150 крепление сервопривода

AGUSTAWESTLAND Project Zero БПЛА
AGUSTAWESTLAND Project Zero БПЛА

Руль высоты самолета на радиоуправлении
Руль высоты самолета на радиоуправлении

Топливная система АН-24
Топливная система АН-24

Отклонение руля высоты
Отклонение руля высоты

Руль высоты самолета
Руль высоты самолета

Механизация крыла Боинг 737
Механизация крыла Боинг 737

Нормальная аэродинамическая схема самолета
Нормальная аэродинамическая схема самолета

Чертежи БПЛА самолетного типа
Чертежи БПЛА самолетного типа

Что такое Trim в самолете
Что такое Trim в самолете

Skywalker x8 чертеж

Фото: Skywalker x8 чертеж


Ан2 , Элероны, руль высоты
Ан2 , Элероны, руль высоты

Держатель киля купить
Держатель киля купить

Чертеж элерона самолета
Чертеж элерона самолета

Похожие фото:

Комментарии
Минимальная длина комментария - 50 знаков. комментарии модерируются
Кликните на изображение чтобы обновить код, если он неразборчив