Машинатор » Центральное расположение двигателя

Центральное расположение двигателя

24 ноя
---
2
0

Порше 911 gt3
Порше 911 gt3

Porsche 911 мотор
Porsche 911 мотор

Порше Бокстер мотор
Порше Бокстер мотор

Рендж Ровер в разрезе
Рендж Ровер в разрезе

Opel Vectra
Opel Vectra

Porsche 911 gt3 RS двигатель
Porsche 911 gt3 RS двигатель

Porsche Carrera 911 двигатель
Porsche Carrera 911 двигатель

Porsche Boxster мотор
Porsche Boxster мотор

Мотор Порше 911
Мотор Порше 911

Audi a4 компоновка мотора
Audi a4 компоновка мотора

Porsche Cayman 718 двигатель

Фото: Porsche Cayman 718 двигатель


Ford rs200 Cutaway
Ford rs200 Cutaway

Lamborghini Diablo
Lamborghini Diablo

Трабант мотор
Трабант мотор

Подвеска Ситроен DS
Подвеска Ситроен DS

Lamborghini Murcielago lp640
Lamborghini Murcielago lp640

Багги полный привод ВАЗ 2108
Багги полный привод ВАЗ 2108

Renault Sport Spider
Renault Sport Spider

V8 поперек
V8 поперек

Triumph tr4 двигатель

Фото: Triumph tr4 двигатель


Двигатель автобуса ЛИАЗ 5256
Двигатель автобуса ЛИАЗ 5256



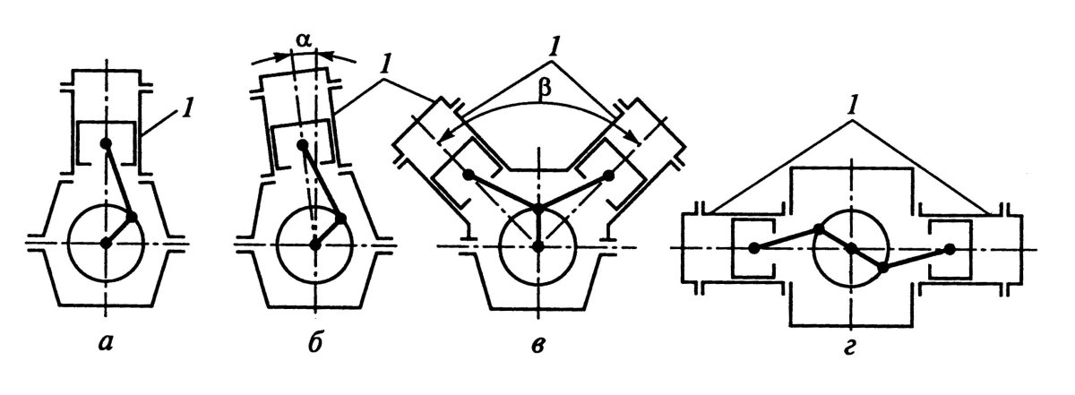
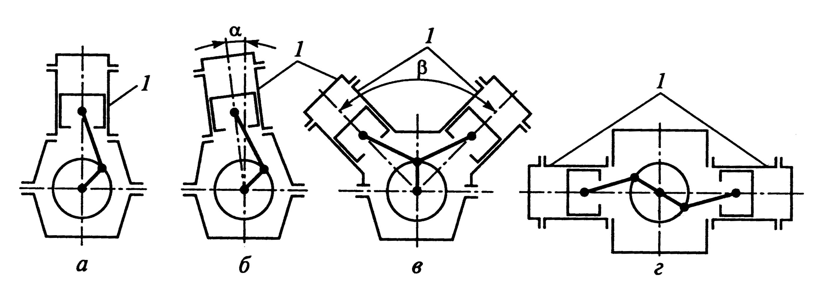
Схемы компоновок Кривошипно-шатунных механизмов
Схемы компоновок Кривошипно-шатунных механизмов



Двигатель Chevrolet ls7
Двигатель Chevrolet ls7

Турбореактивный двухконтурный двигатель д-30
Турбореактивный двухконтурный двигатель д-30

Тяговый электродвигатель электромобиля Тесла
Тяговый электродвигатель электромобиля Тесла

Судовой двигатель man b&w s50mc-c
Судовой двигатель man b&w s50mc-c



Смарт родстер 2003
Смарт родстер 2003



Мотор Порше 911
Мотор Порше 911

Строение двигателя
Строение двигателя

Порше Бокстер мотор
Порше Бокстер мотор

Двигатель БМП 3
Двигатель БМП 3

Двигатель Дайхатсу Атрай 1.3
Двигатель Дайхатсу Атрай 1.3

Порше Каррера двигатель
Порше Каррера двигатель

Porsche Cayman расположение двигателя
Porsche Cayman расположение двигателя

Топливные баки в самолете Суперджет 100
Топливные баки в самолете Суперджет 100

Ferrari f40 мотор

Фото: Ferrari f40 мотор


Порше Бокстер мотор
Порше Бокстер мотор

Audi s1 2.5 TFSI
Audi s1 2.5 TFSI

Lt 4 мотор
Lt 4 мотор

ГАЗ-21 Волга
ГАЗ-21 Волга

BRM v16
BRM v16

Мерседес w220 полный привод
Мерседес w220 полный привод

Мотор Porsche 718
Мотор Porsche 718

Оппозитный двигатель Субару 2.5
Оппозитный двигатель Субару 2.5

Двигатель автомобиля схема ДВС
Двигатель автомобиля схема ДВС

Мотор Порше 911
Мотор Порше 911

Порше 911 gt3 RS двигатель
Порше 911 gt3 RS двигатель

Феррари ЛАФЕРРАРИ двигатель
Феррари ЛАФЕРРАРИ двигатель

Двигатель авто
Двигатель авто

Honda NSX мотор
Honda NSX мотор


Похожие фото:

Комментарии
Минимальная длина комментария - 50 знаков. комментарии модерируются
Кликните на изображение чтобы обновить код, если он неразборчив