Машинатор » Ахтерштевень

Ахтерштевень

27 ноя
---
0
0

Киль форштевень ахтерштевень
Киль форштевень ахтерштевень

Верфь исторического судостроения Полтава
Верфь исторического судостроения Полтава

Поморский Коч чертежи судна
Поморский Коч чертежи судна

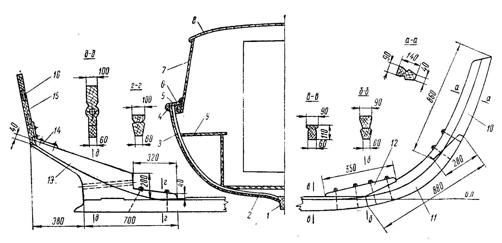
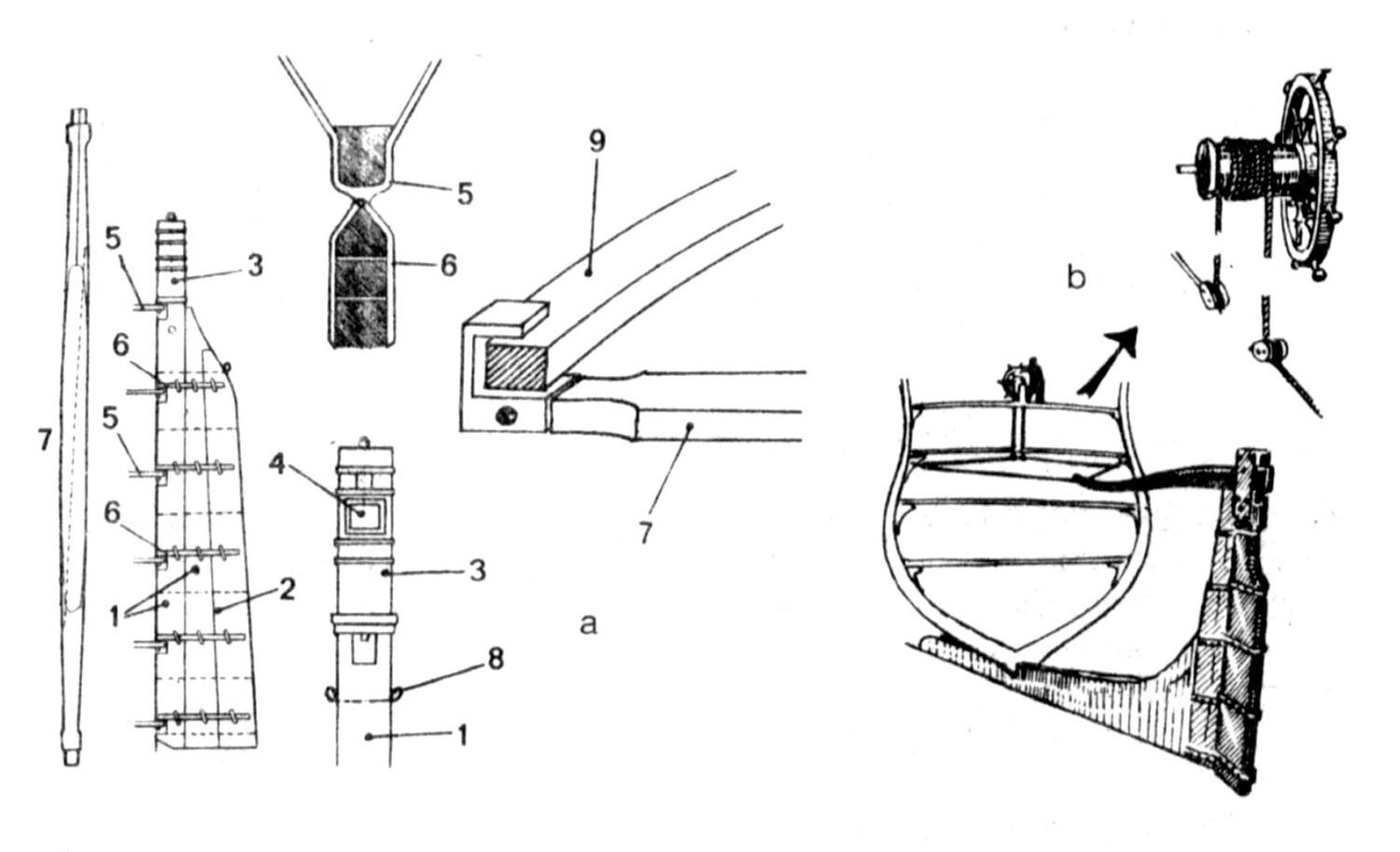
Форштевень и ахтерштевень
Форштевень и ахтерштевень



Чертеж форштевня
Чертеж форштевня

Киль деревянного корабля
Киль деревянного корабля





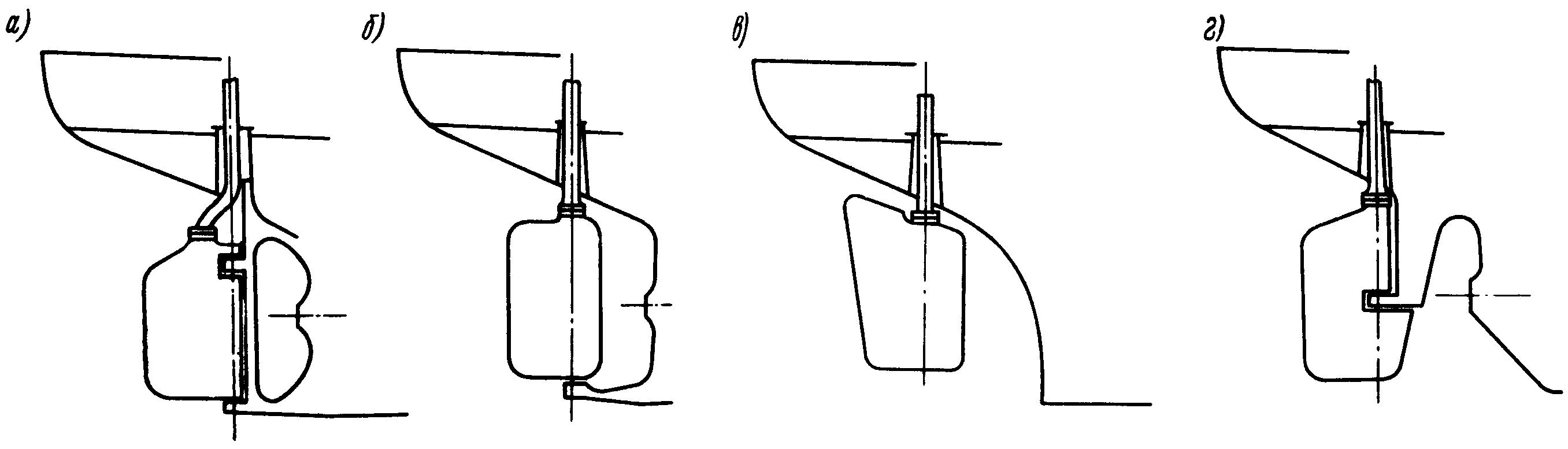
Рулевое устройство судна баллер
Рулевое устройство судна баллер

Обшивка корпуса судомодели

Фото: Обшивка корпуса судомодели


Киль и фальшкиль
Киль и фальшкиль





Каркас байдарки Таймень 3 чертеж
Каркас байдарки Таймень 3 чертеж

Галеон 17 века в разрезе
Галеон 17 века в разрезе

Кница металлическая
Кница металлическая

Баллер руля судна чертеж
Баллер руля судна чертеж

Бимс шпангоут
Бимс шпангоут

Форштевень подводной лодки

Фото: Форштевень подводной лодки


Рулевое устройство судна баллер
Рулевое устройство судна баллер



Строение парусно моторной яхты
Строение парусно моторной яхты

Княвдигед
Княвдигед



Корабль Нельсона Виктори
Корабль Нельсона Виктори

Катер Помор чертежи
Катер Помор чертежи

Киль корабля
Киль корабля

Ял 4
Ял 4

Форштевень Бульба
Форштевень Бульба

Чертеж корпуса мотолодки Прогресс 4
Чертеж корпуса мотолодки Прогресс 4

Чертежи галеры
Чертежи галеры

Форштевень ахтерштевень судна
Форштевень ахтерштевень судна

Master korabel" модель сборная "тендер Авось"
Master korabel" модель сборная "тендер Авось"

Строение морского судна
Строение морского судна

Крейсер Аврора чертежи
Крейсер Аврора чертежи

Мидель судна
Мидель судна

Балластный киль для яхты
Балластный киль для яхты



HMS Vanguard

Фото: HMS Vanguard


Реюшка Каспийская
Реюшка Каспийская



Морской музей Архангельск
Морской музей Архангельск



Якорь холла чертеж
Якорь холла чертеж

Лодка (шлюпка) ял-6
Лодка (шлюпка) ял-6

Сан Мартин корабль
Сан Мартин корабль

Шхуна Запад Архангельск
Шхуна Запад Архангельск

Форштевень ледокола
Форштевень ледокола

Кильсон на судне это
Кильсон на судне это

Устройство ял 6
Устройство ял 6

Настоящий остов крейсера Аврора
Настоящий остов крейсера Аврора

Судно Атения
Судно Атения

Лодка Мах 4 чертежи
Лодка Мах 4 чертежи

Sternpost
Sternpost

Похожие фото:

Комментарии
Минимальная длина комментария - 50 знаков. комментарии модерируются
Кликните на изображение чтобы обновить код, если он неразборчив