Машинатор » Аэросани своими руками

Аэросани своими руками

28 ноя
---
2
0

Аэросани-амфибия а-3
Аэросани-амфибия а-3

Самодельные аэросани с двигателем Лифан 6.5 л.с с винтом
Самодельные аэросани с двигателем Лифан 6.5 л.с с винтом

Аэросани Моделист конструктор
Аэросани Моделист конструктор

Аэросани аэроглиссер Аквамарин
Аэросани аэроглиссер Аквамарин

Аэросани Шмель
Аэросани Шмель

Аэросани с двигателем Лифан 15 л.с
Аэросани с двигателем Лифан 15 л.с

Аэросани Моделист конструктор
Аэросани Моделист конструктор



ЦКБ-50 аэросани
ЦКБ-50 аэросани

Аэросани пижма
Аэросани пижма

Самодельные аэросани с двигателем Лифан 6.5 л.с с винтом

Фото: Самодельные аэросани с двигателем Лифан 6.5 л.с с винтом


Однолопастной воздушный винт
Однолопастной воздушный винт

Север-2 аэросани
Север-2 аэросани

Аэросани-амфибия а-3
Аэросани-амфибия а-3

Сани для Бурана ПГД-2500
Сани для Бурана ПГД-2500

Аэросани Гравицапа конструкция винта
Аэросани Гравицапа конструкция винта

Аэросани Моделист
Аэросани Моделист

Аэросани аэроглиссер Аквамарин
Аэросани аэроглиссер Аквамарин





Аэросани Моделист
Аэросани Моделист

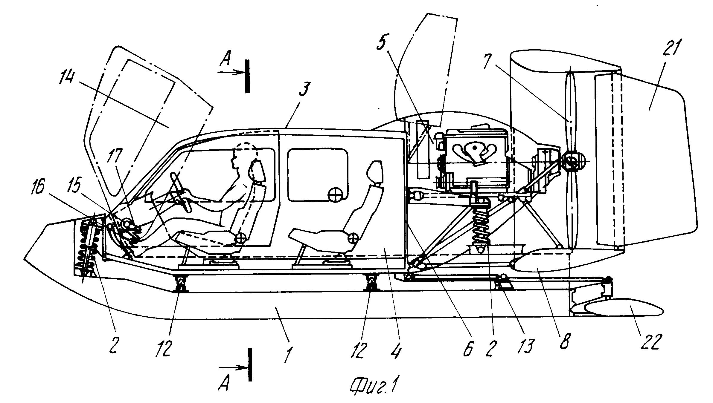
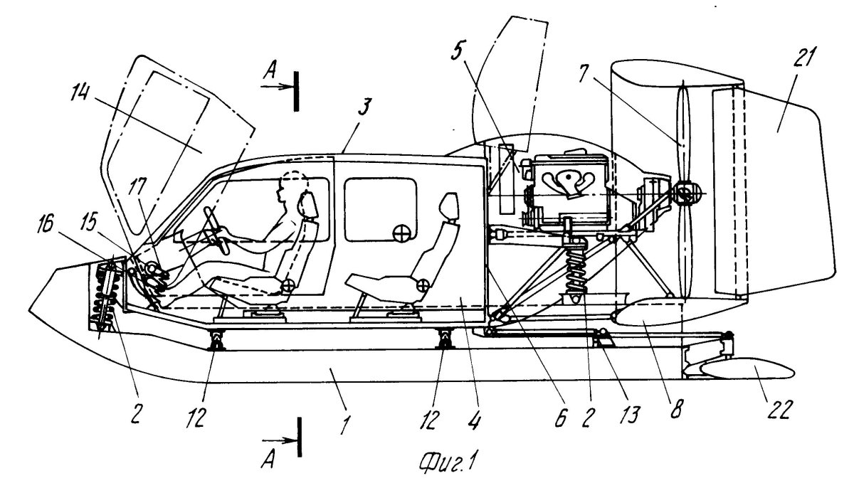
Аэросани амфибия а3 чертежи
Аэросани амфибия а3 чертежи

Аэросани самоделки
Аэросани самоделки



Аэросани Стриж
Аэросани Стриж

Снегоход из бензопилы штиль 180
Снегоход из бензопилы штиль 180

Снегоход для фс22
Снегоход для фс22



Чертежи аэросаней с двигателем Лифан
Чертежи аэросаней с двигателем Лифан



Аэролодка амфибия
Аэролодка амфибия



Аэросани Моделист
Аэросани Моделист

Мотоснегокат Васюган
Мотоснегокат Васюган

Буксировщик Мухтар 15
Буксировщик Мухтар 15





Казанка аэросани
Казанка аэросани





Склизы для снегохода Буран
Склизы для снегохода Буран



Аэросани Стриж
Аэросани Стриж

Самодельные аэросани
Самодельные аэросани

Аэросани Моделист конструктор
Аэросани Моделист конструктор







ЦКБ-50 аэросани
ЦКБ-50 аэросани

RC аэросани
RC аэросани

Аэросани Моделист
Аэросани Моделист

Аэросани с двигателем Лифан 15 л.с
Аэросани с двигателем Лифан 15 л.с

Аэросани с двигателем Лифан 15 л.с
Аэросани с двигателем Лифан 15 л.с

Аэросани Север-2 чертежи
Аэросани Север-2 чертежи

Арктика 1500 снегоход с кабиной
Арктика 1500 снегоход с кабиной



Аэросани и1
Аэросани и1

Винт пропеллер для аэросаней чертежи
Винт пропеллер для аэросаней чертежи

Дно аэролодки
Дно аэролодки



Миниснегоход Snow Fly
Миниснегоход Snow Fly



Аэросани Корсак
Аэросани Корсак

Снегоход Буран с гусеницей 600 мм
Снегоход Буран с гусеницей 600 мм

Аэролодка до 100 л.с
Аэролодка до 100 л.с

Мотоснегокат хаски
Мотоснегокат хаски

Рама снегохода Буран
Рама снегохода Буран

Аэролодка Моделист конструктор
Аэролодка Моделист конструктор

Похожие фото:

Комментарии
Минимальная длина комментария - 50 знаков. комментарии модерируются
Кликните на изображение чтобы обновить код, если он неразборчив