Машинатор » Конструкция судна поперечной системы

Конструкция судна поперечной системы

11 дек
---
2
0

Гофрировка корпуса судна это
Гофрировка корпуса судна это

Поперечная система набора корпуса судна без двойного дна
Поперечная система набора корпуса судна без двойного дна

Продольная система набора корпуса судна
Продольная система набора корпуса судна

Днищевое перекрытие с двойным дном при поперечной системе набора
Днищевое перекрытие с двойным дном при поперечной системе набора

Набор судна бимс шпангоут Стрингер
Набор судна бимс шпангоут Стрингер

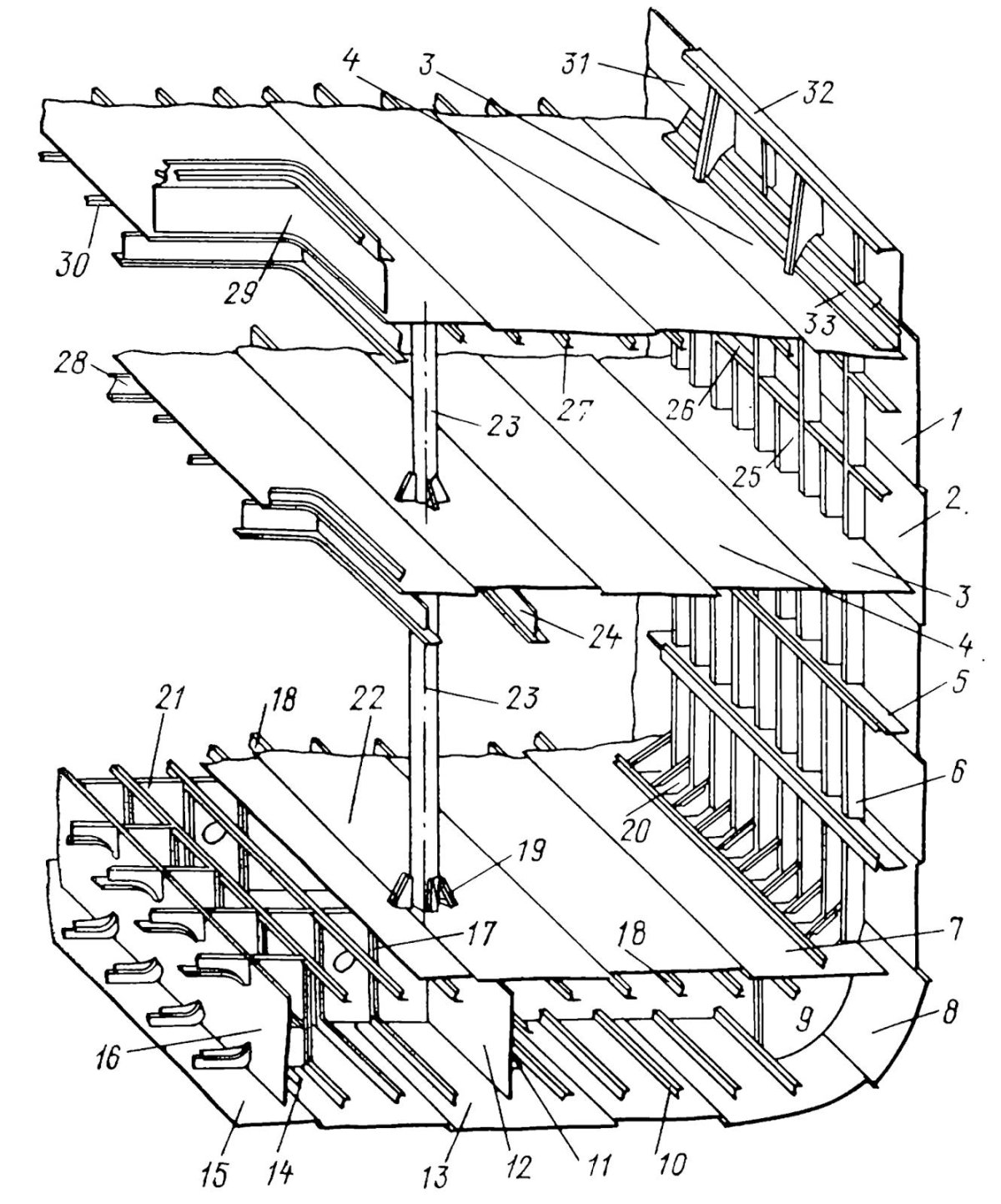
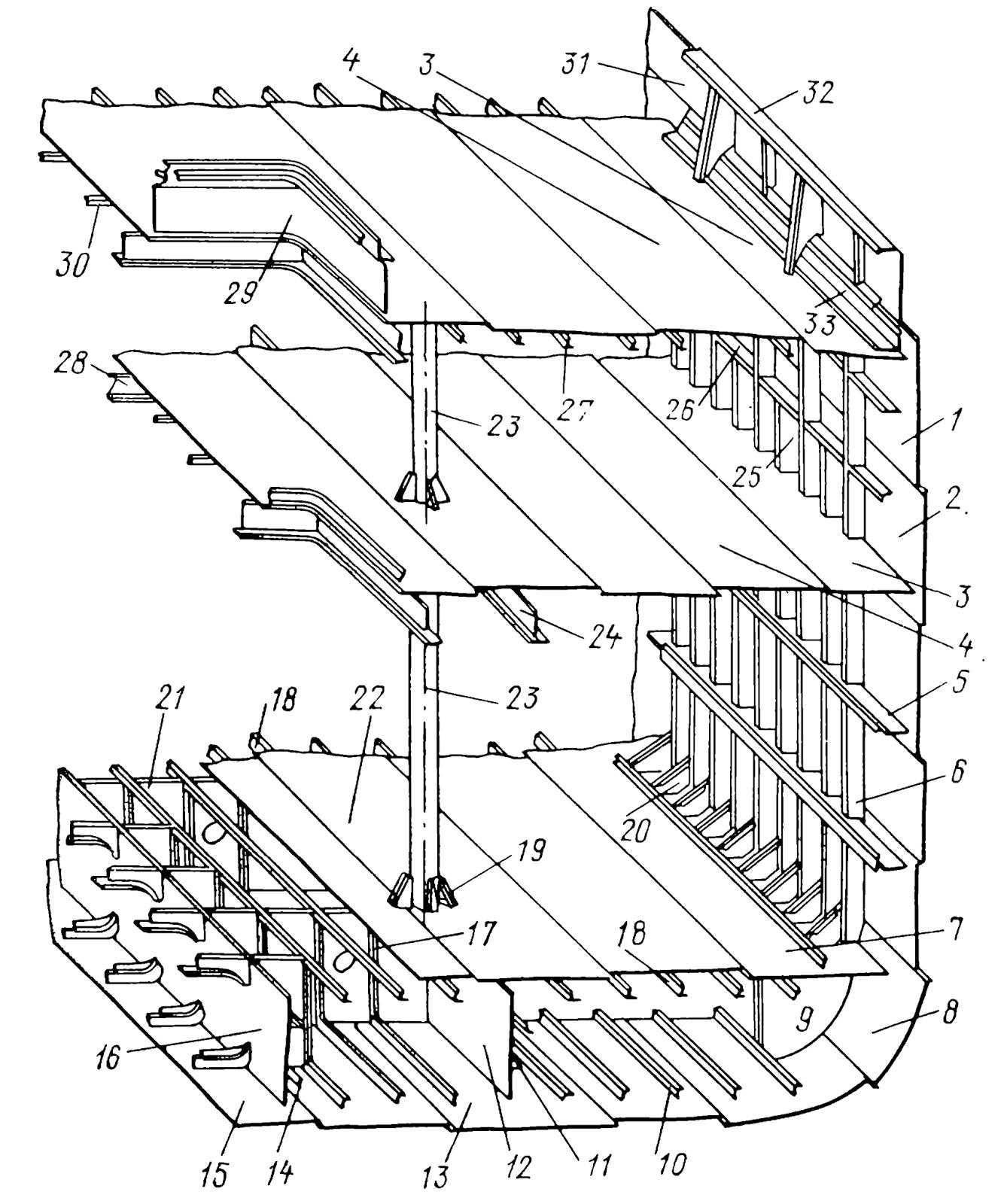
Поперечная система набора корпуса судна
Поперечная система набора корпуса судна

Грузовой план сухогрузного судна
Грузовой план сухогрузного судна

Продольная система набора корпуса танкера
Продольная система набора корпуса танкера

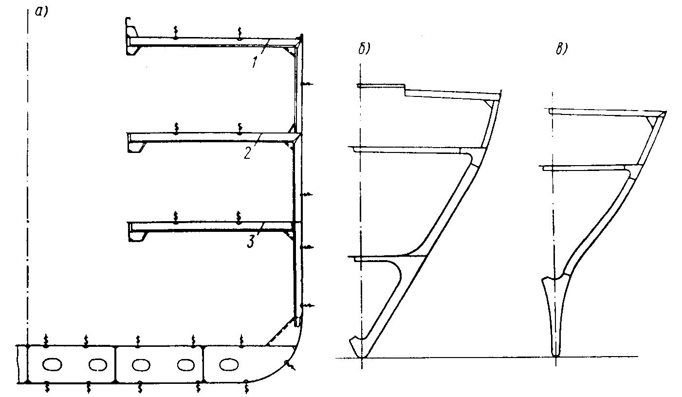
Конструкция поперечной переборки судна
Конструкция поперечной переборки судна

Поперечный набор корпуса судна
Поперечный набор корпуса судна

Мидель шпангоут корпуса судна

Фото: Мидель шпангоут корпуса судна






Продольный набор корпуса судна днищевой
Продольный набор корпуса судна днищевой

Поперечный разрез судна чертеж
Поперечный разрез судна чертеж

Моделирование корпуса судна в САПР компас 3d
Моделирование корпуса судна в САПР компас 3d

Система днищевой перекрытия корпуса судна
Система днищевой перекрытия корпуса судна

Днище судна
Днище судна

Строение сухогруза судна
Строение сухогруза судна

Конструктивные элементы палубного перекрытия

Фото: Конструктивные элементы палубного перекрытия


Комингс люка трюма
Комингс люка трюма

Системы набора днищевого перекрытия судна
Системы набора днищевого перекрытия судна



Эсминцы проекта 56 чертежи
Эсминцы проекта 56 чертежи

Корпус яхты
Корпус яхты

Набор судна бимс шпангоут Стрингер
Набор судна бимс шпангоут Стрингер

Лодка Нептун 3 м чертежи
Лодка Нептун 3 м чертежи

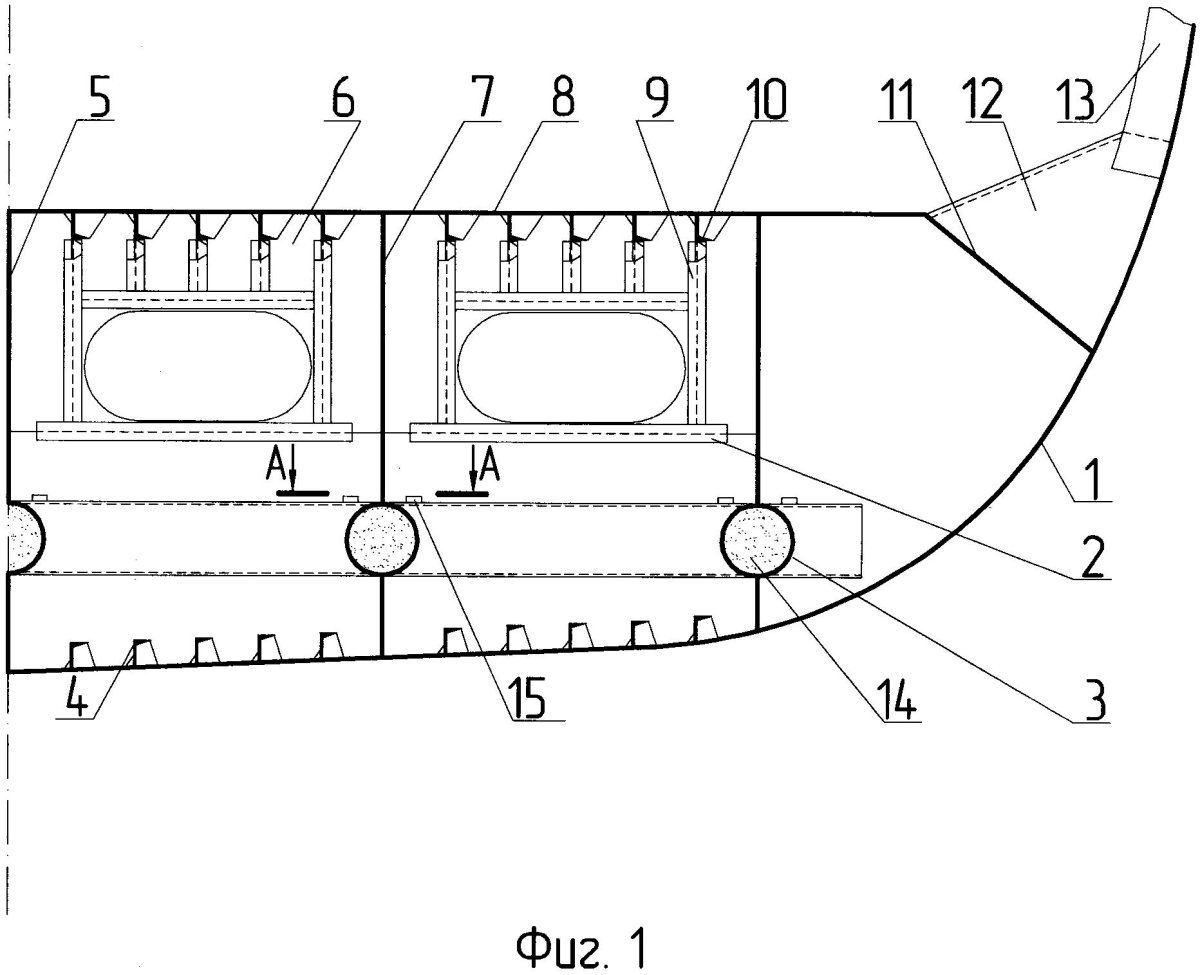
Элементы конструкции корпуса маломерного судна
Элементы конструкции корпуса маломерного судна

Конструктивный чертеж корпуса судна
Конструктивный чертеж корпуса судна

МКО судна чертеж
МКО судна чертеж

Гравитационная шлюпбалка схема
Гравитационная шлюпбалка схема

Элементы конструкции корпуса маломерного судна
Элементы конструкции корпуса маломерного судна

Растяжка наружной обшивки корпуса судна чертеж
Растяжка наружной обшивки корпуса судна чертеж

Поперечная переборка судна чертеж
Поперечная переборка судна чертеж

Янтарь верфь
Янтарь верфь

Лодка алюминиевая сварная 3м
Лодка алюминиевая сварная 3м

Силовой набор судна
Силовой набор судна



Бортовая и килевая качка
Бортовая и килевая качка

Конструкция днища судна

Фото: Конструкция днища судна


Чертеж корпуса сухогрузного судна
Чертеж корпуса сухогрузного судна



Водоизмещающий катер краб 800
Водоизмещающий катер краб 800

Теоретический чертеж корпуса ледокола
Теоретический чертеж корпуса ледокола

Поперечная система набора судна
Поперечная система набора судна

Корпус судна
Корпус судна

Технология судостроения
Технология судостроения

Схема танкера для перевозки нефтепродуктов
Схема танкера для перевозки нефтепродуктов

Схема сухогрузного судна
Схема сухогрузного судна



Грузовой план судна Сормовский 1557
Грузовой план судна Сормовский 1557

Проектирование судов
Проектирование судов

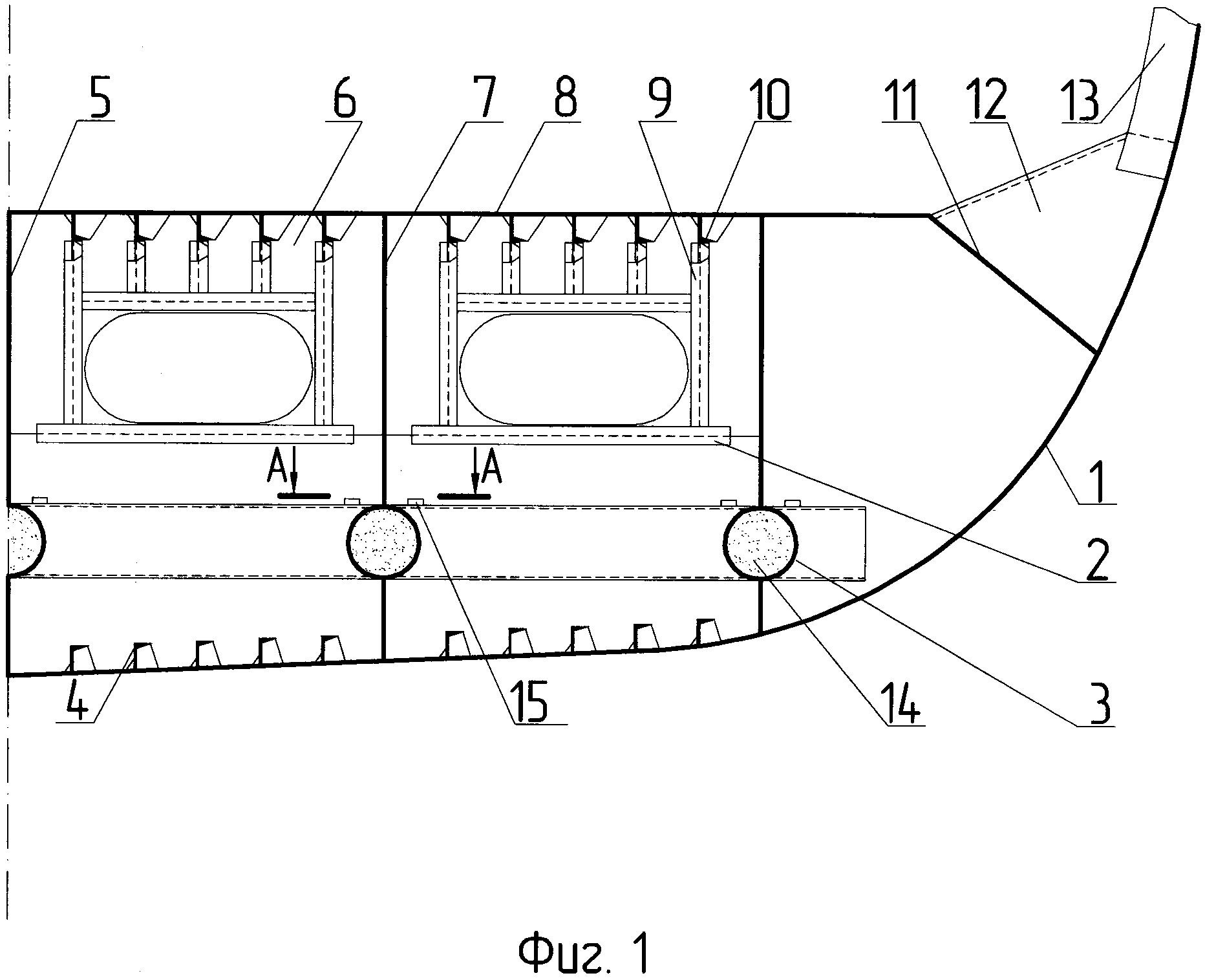
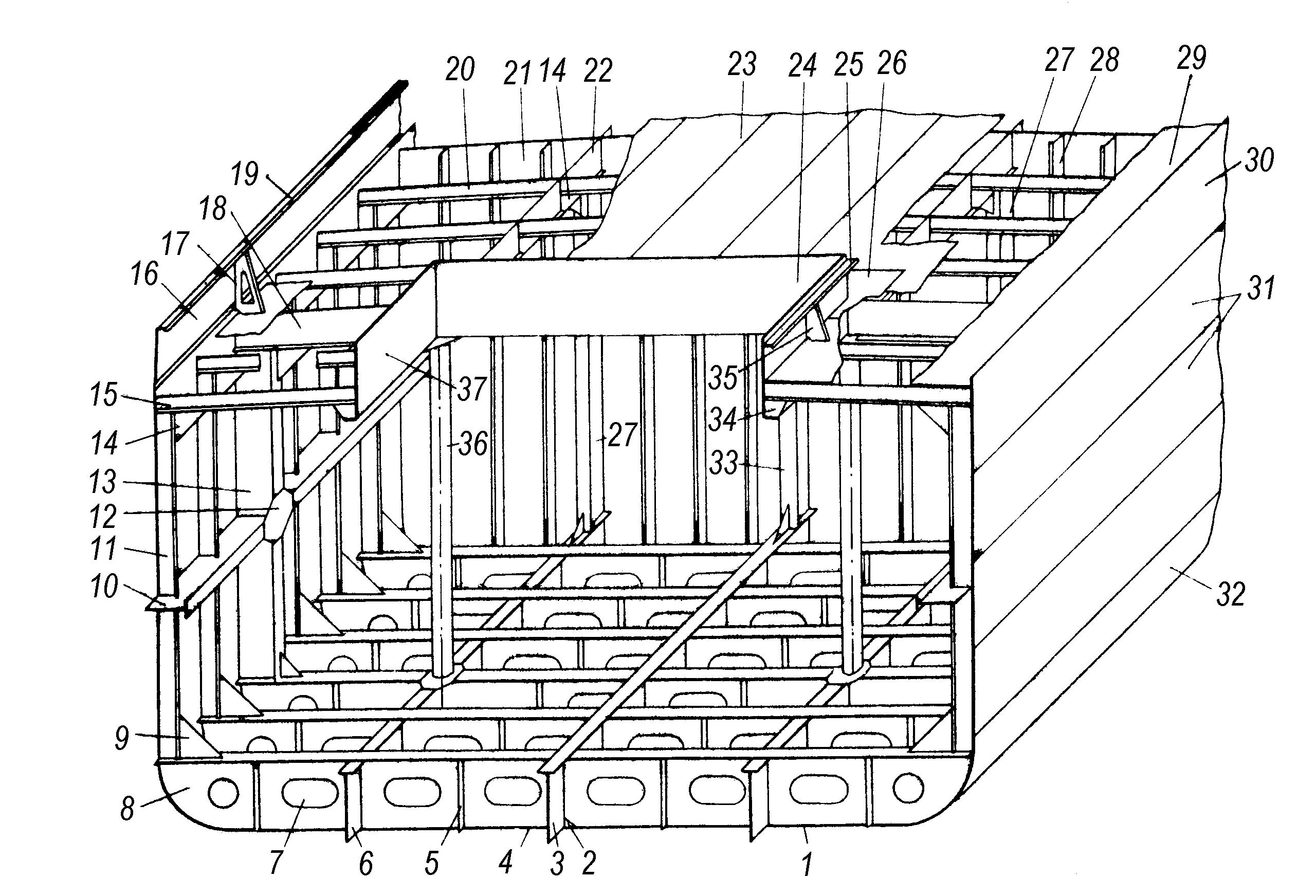
Конструкция носовой оконечности
Конструкция носовой оконечности

Танкеры типа т-2
Танкеры типа т-2

Виды испытаний судов
Виды испытаний судов

БАТМ типа "Пулковский Меридиан" (проект 1288)
БАТМ типа "Пулковский Меридиан" (проект 1288)

General Arrangement Plan судна
General Arrangement Plan судна

Похожие фото:

Комментарии
Минимальная длина комментария - 50 знаков. комментарии модерируются
Кликните на изображение чтобы обновить код, если он неразборчив