Машинатор » Орган управления тягой двигателя летательного аппарата

Орган управления тягой двигателя летательного аппарата

02 фев
---
1
0

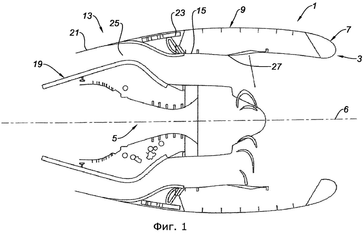
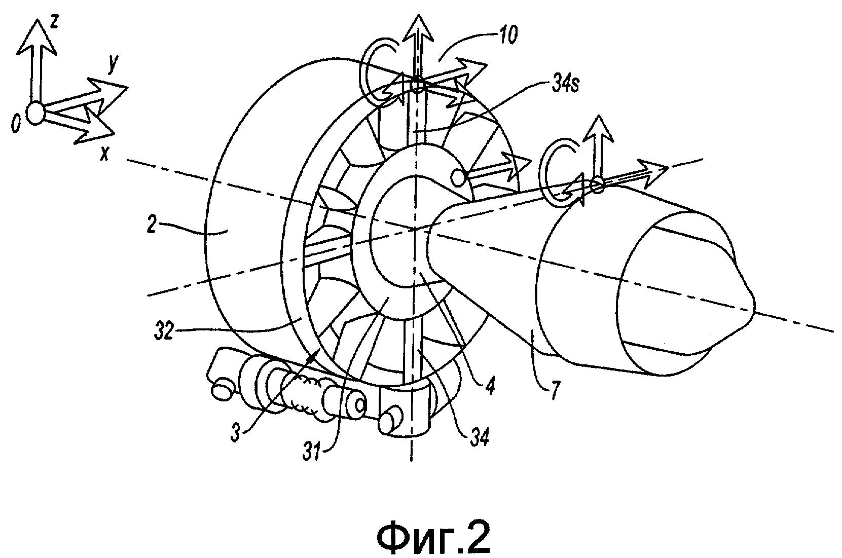
Ротор турбореактивного двигателя
Ротор турбореактивного двигателя



Блок формирования
Блок формирования



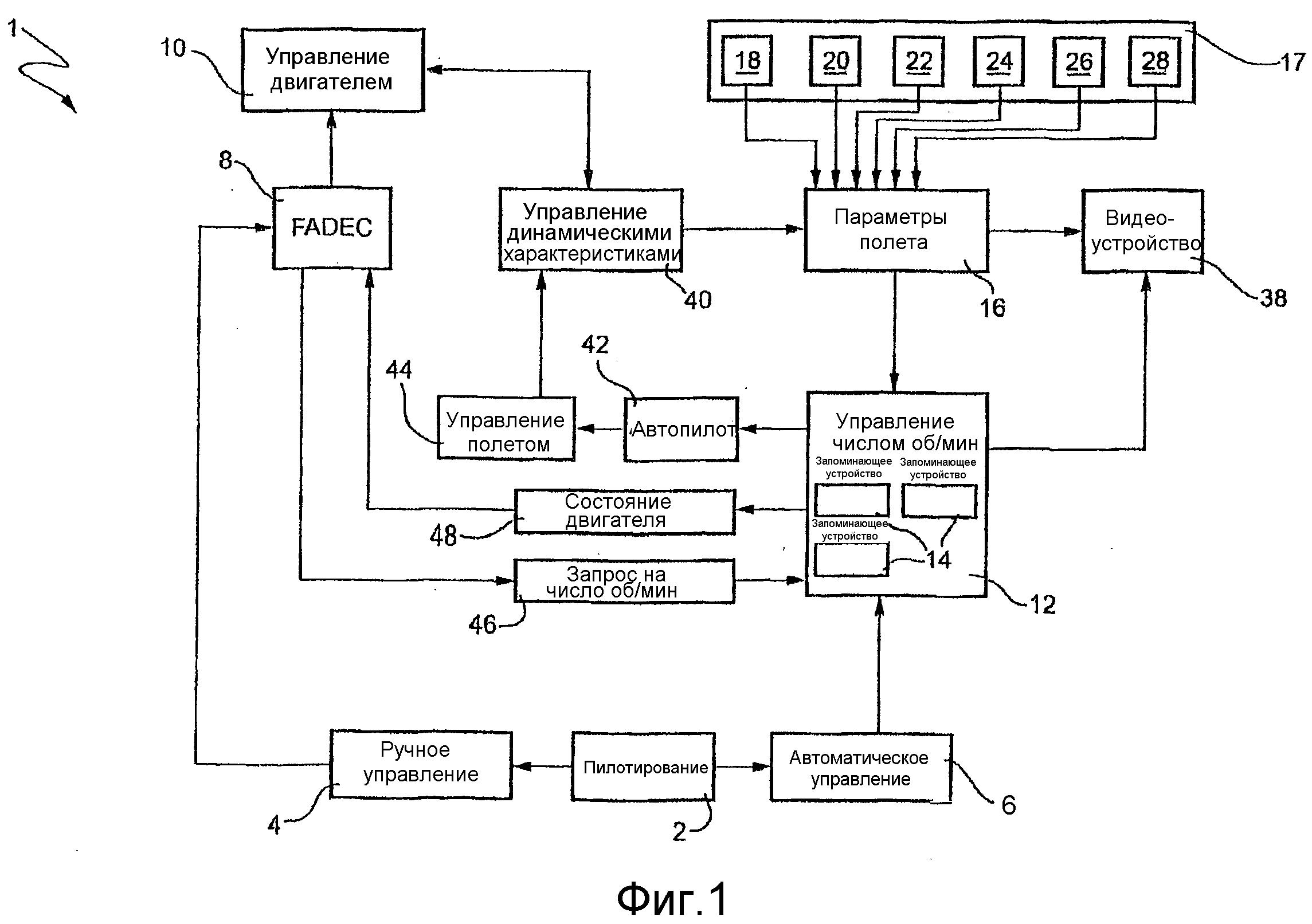
Структурная схема управления БПЛА
Структурная схема управления БПЛА



Аппарат вертикального взлета
Аппарат вертикального взлета

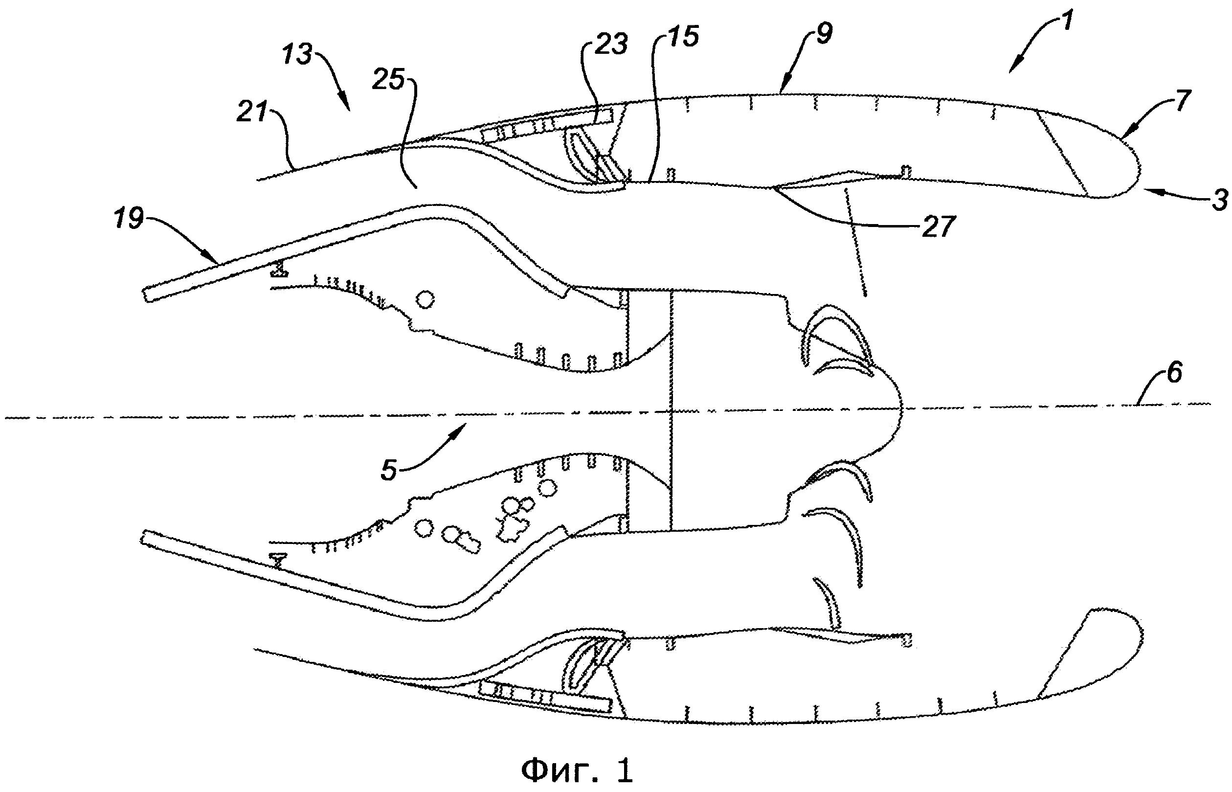
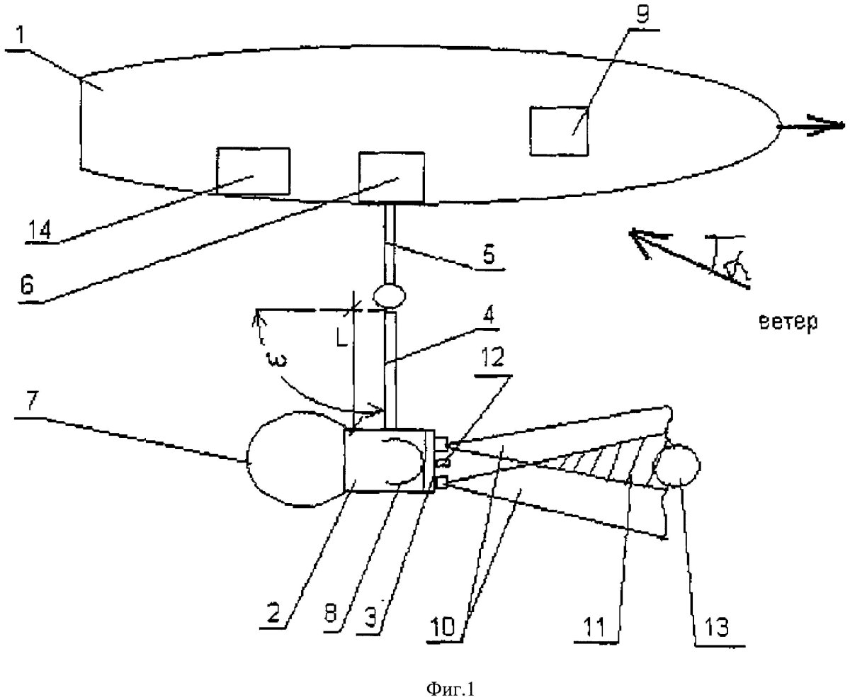
Схема летательного аппарата
Схема летательного аппарата

Скважинный трактор
Скважинный трактор

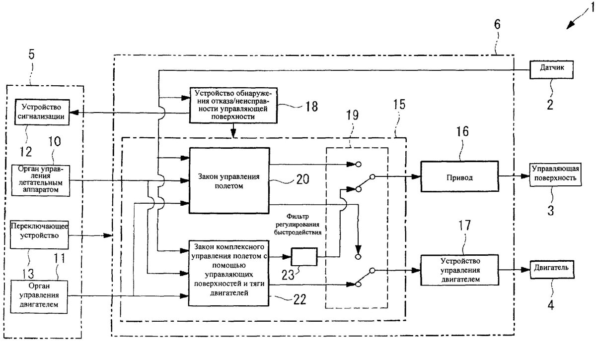
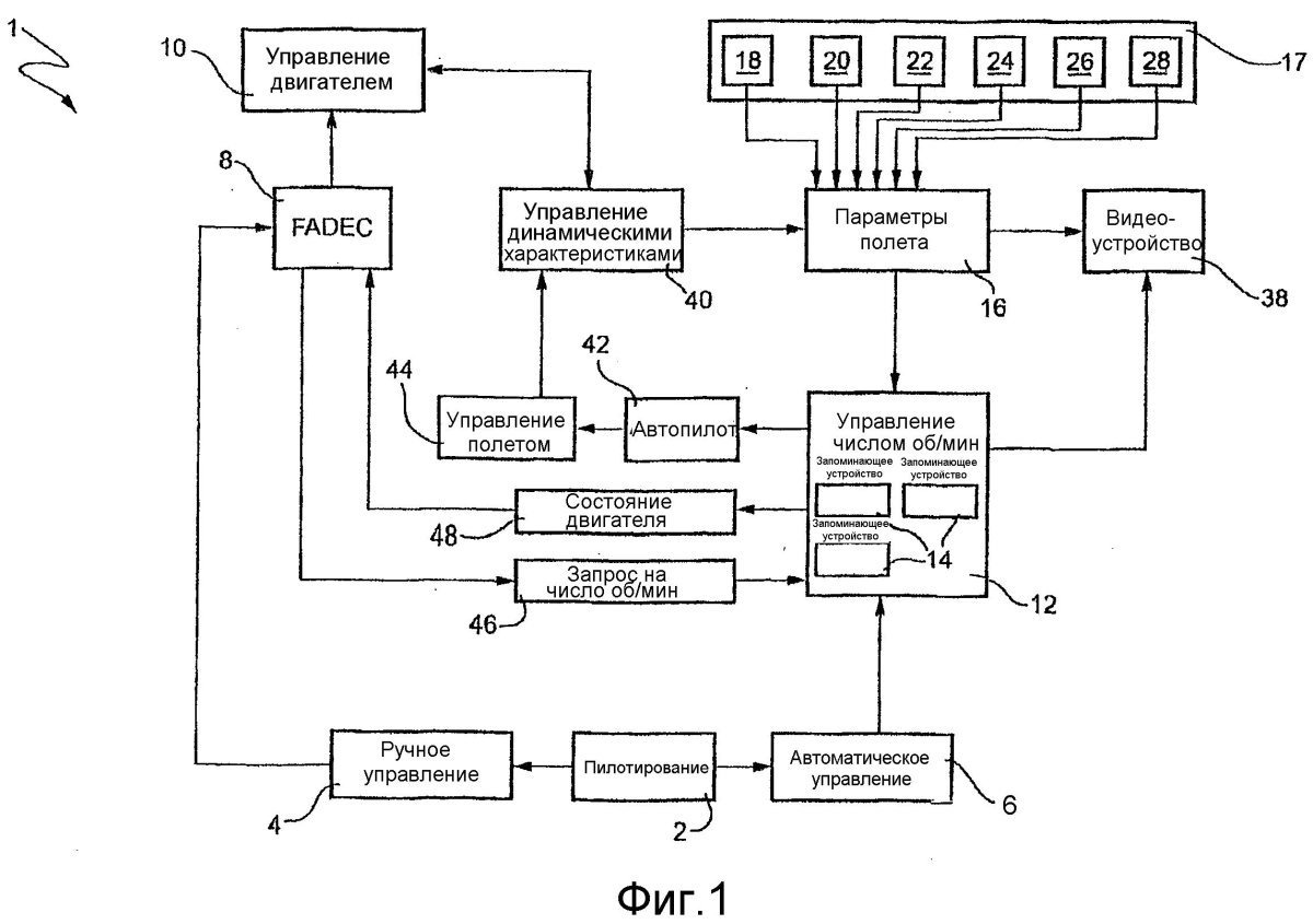
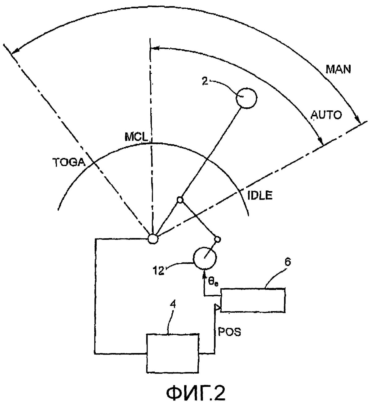
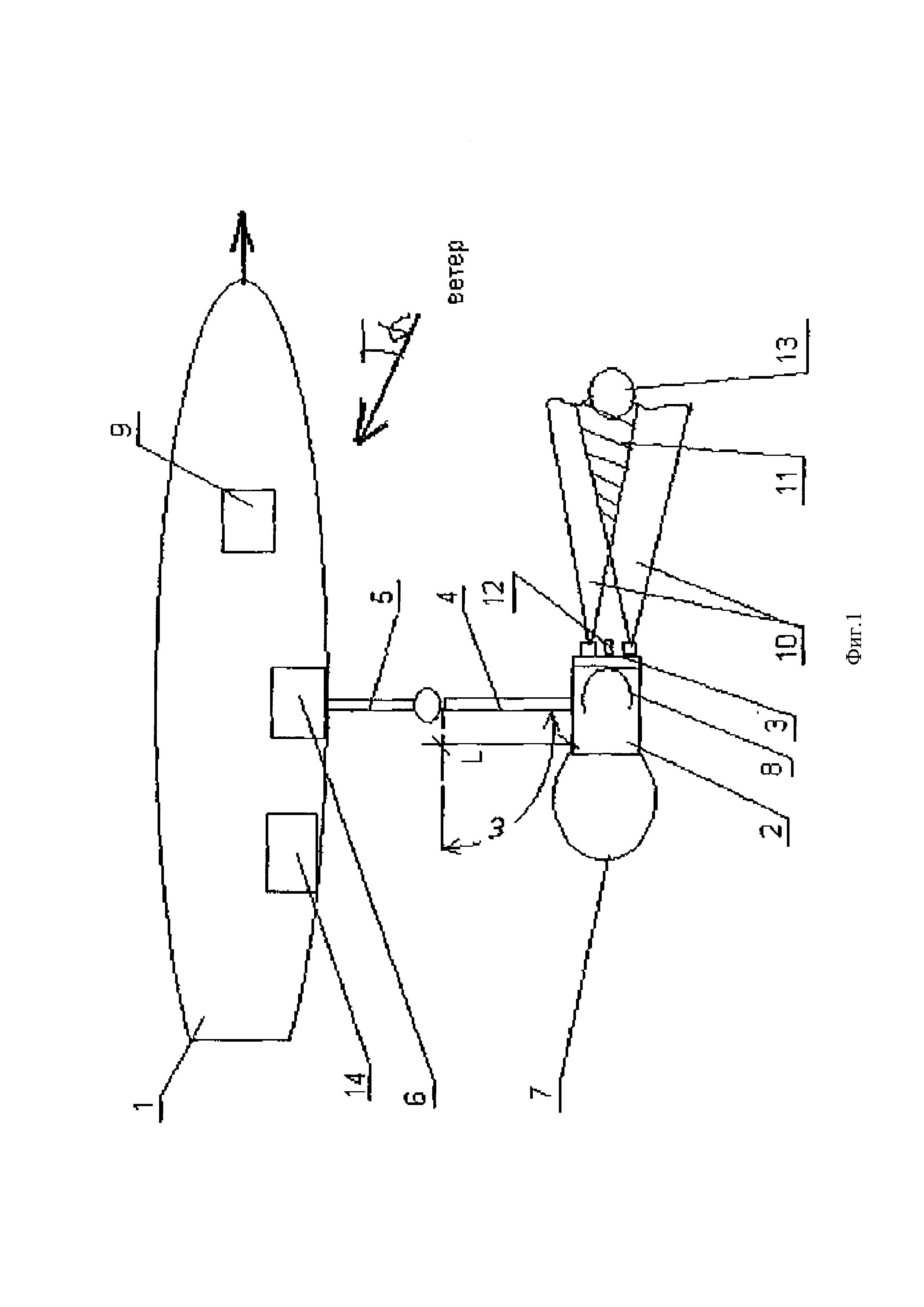
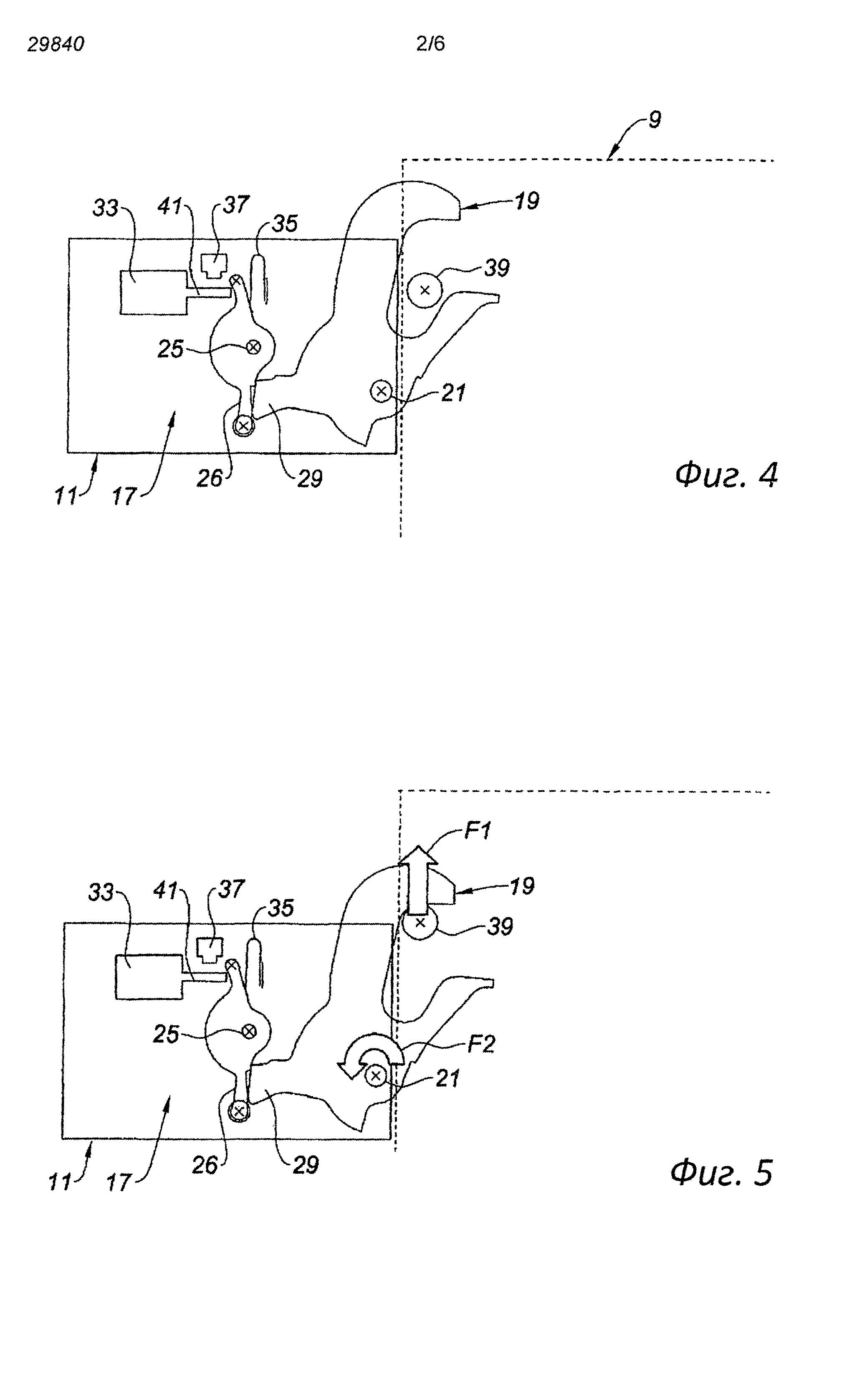
Система регулирования тяги двигателя летательного аппарата
Система регулирования тяги двигателя летательного аппарата

Мотогондола турбореактивного двигателя схема

Фото: Мотогондола турбореактивного двигателя схема


Двигатель ТРДД-50
Двигатель ТРДД-50

Устройство для создания силы тяги в воздухе
Устройство для создания силы тяги в воздухе

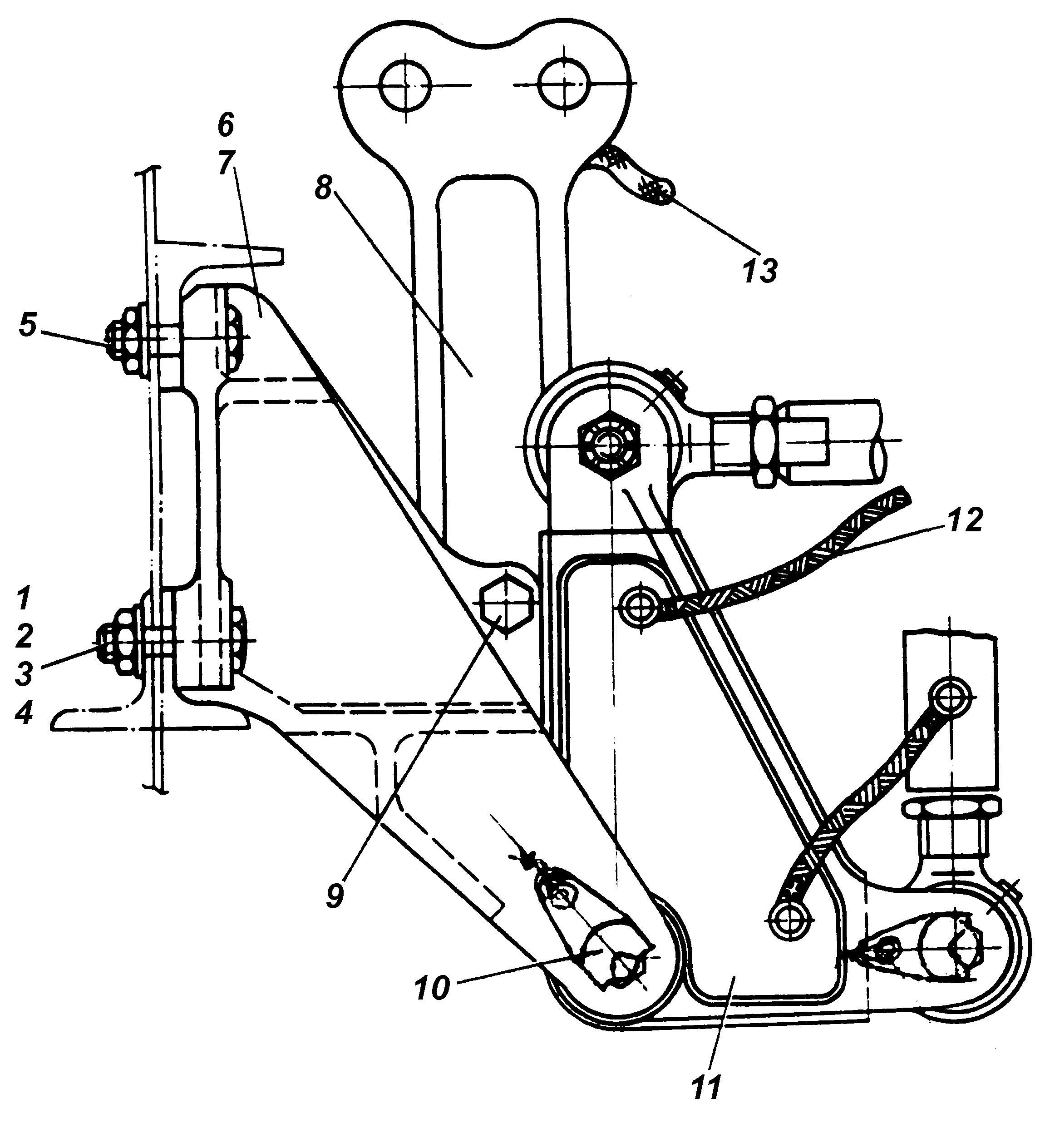
Ручка управления передней стойкой шасси
Ручка управления передней стойкой шасси

Силовые установки летательных аппаратов
Силовые установки летательных аппаратов

Проводка управления элеронами и рулями
Проводка управления элеронами и рулями

Схемы оперения самолета
Схемы оперения самолета



Структурная схема летательного аппарата
Структурная схема летательного аппарата



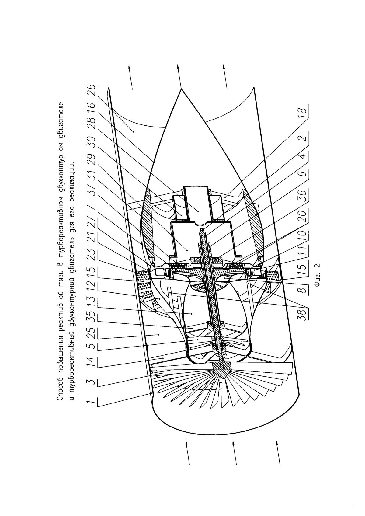
Турбореактивный двигатель схема
Турбореактивный двигатель схема





Реверсивная тяга самолета
Реверсивная тяга самолета

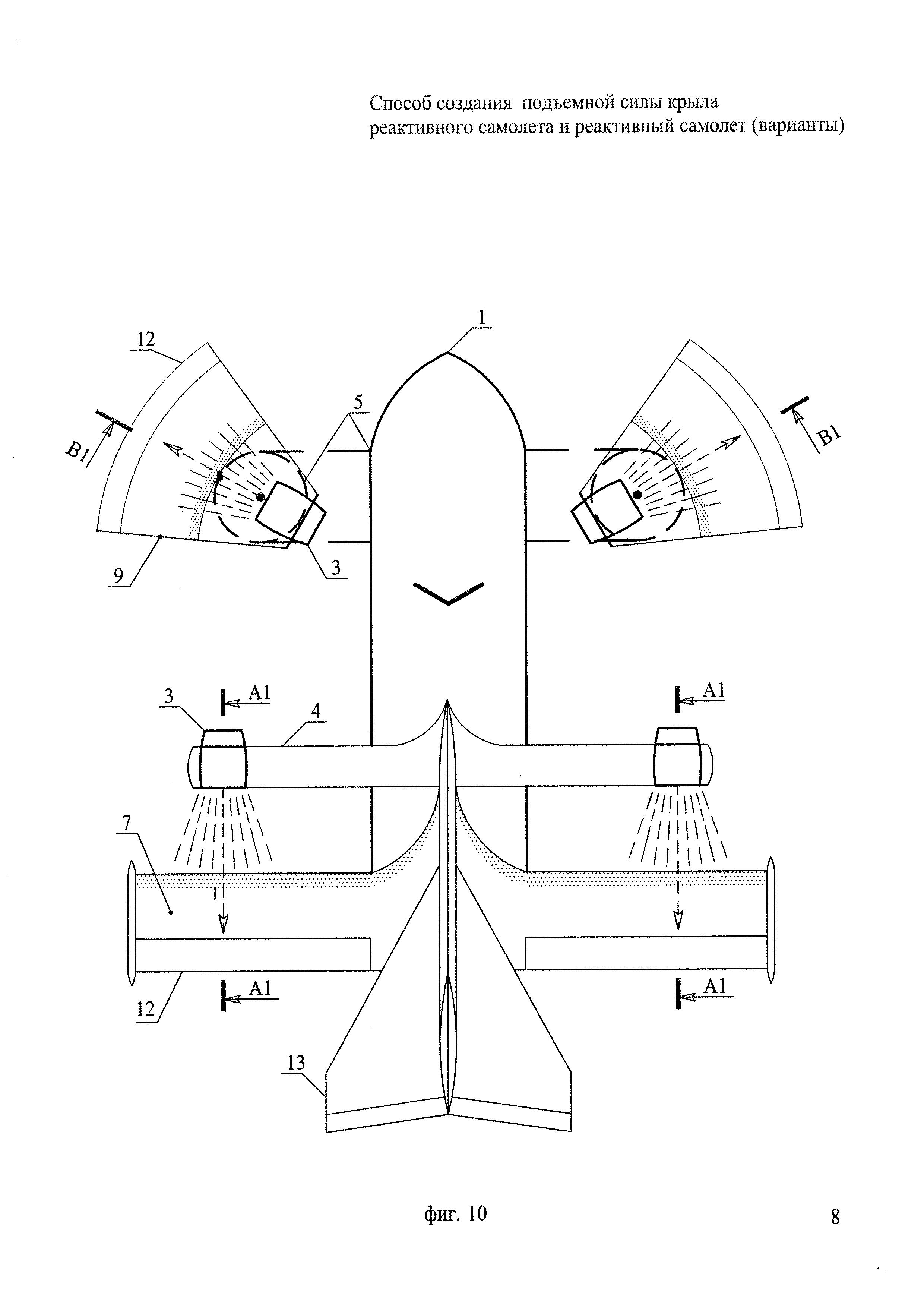
Энергетические методы увеличения подъемной силы крыла
Энергетические методы увеличения подъемной силы крыла

БПЛА Орлан-10 чертеж
БПЛА Орлан-10 чертеж

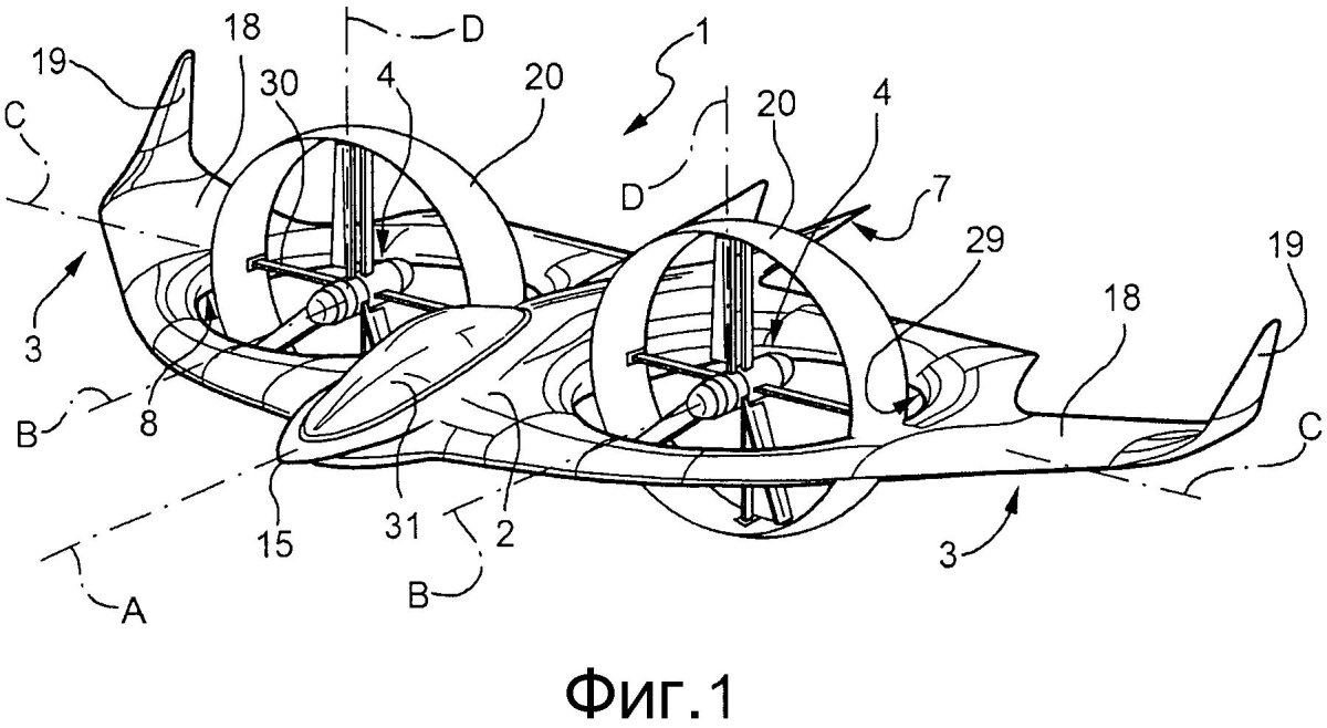
Летательный аппарат вертикального взлета и посадки гибрид
Летательный аппарат вертикального взлета и посадки гибрид

Конструкция гиперзвукового летательного аппарата
Конструкция гиперзвукового летательного аппарата

Предкрылок Болдырева
Предкрылок Болдырева

Электропривод летательного аппарата
Электропривод летательного аппарата

Беспилотник mq-9 чертеж
Беспилотник mq-9 чертеж



Устройство для создания силы тяги в воздухе
Устройство для создания силы тяги в воздухе

Система управления элеронами Cessna 172
Система управления элеронами Cessna 172

Схема рычажного управления самолета
Схема рычажного управления самолета





Прямоточные воздушно-реактивные двигатели сверхзвуковой
Прямоточные воздушно-реактивные двигатели сверхзвуковой



Характерная площадь летательного аппарата

Фото: Характерная площадь летательного аппарата


Схема ВРД
Схема ВРД



Схема управления элеронами самолета
Схема управления элеронами самолета

Система управления самолета миг 21 чертеж
Система управления самолета миг 21 чертеж

Схема для сборки ФПВ дрона
Схема для сборки ФПВ дрона

Тяги управления
Тяги управления

ТРДД-50 двигатель крепление
ТРДД-50 двигатель крепление

Схема для сборки ФПВ дрона
Схема для сборки ФПВ дрона

Управление электроприводом БПЛА
Управление электроприводом БПЛА

Датчики БПЛА
Датчики БПЛА





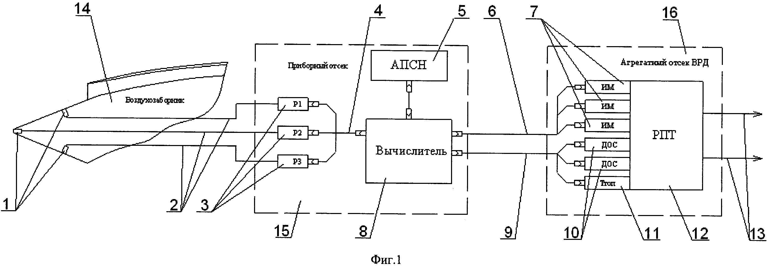
Система регулирования тяги двигателя летательного аппарата
Система регулирования тяги двигателя летательного аппарата

Строение сверхзвукового двигателя
Строение сверхзвукового двигателя

Передняя подвеска ЗАЗ 1102
Передняя подвеска ЗАЗ 1102





ЖРД малой тяги чертеж
ЖРД малой тяги чертеж

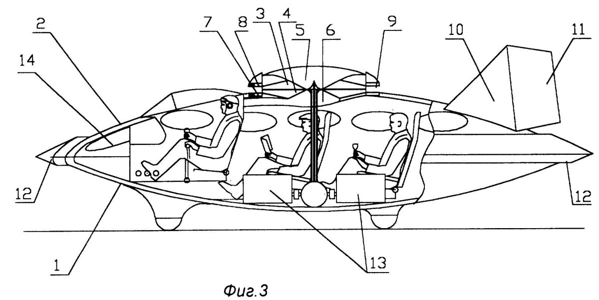
Летательный аппарат экип чертежи
Летательный аппарат экип чертежи



Механизм перестановки стабилизатора
Механизм перестановки стабилизатора



Современные установки для погрузки реле
Современные установки для погрузки реле

Реверсная тяга
Реверсная тяга

Похожие фото:

Комментарии
Минимальная длина комментария - 50 знаков. комментарии модерируются
Кликните на изображение чтобы обновить код, если он неразборчив