Машинатор » Воздушно реактивный двигатель

Воздушно реактивный двигатель

16 ноя
---
2
0

ТРД + прямоточный воздушно-реактивный двигатель
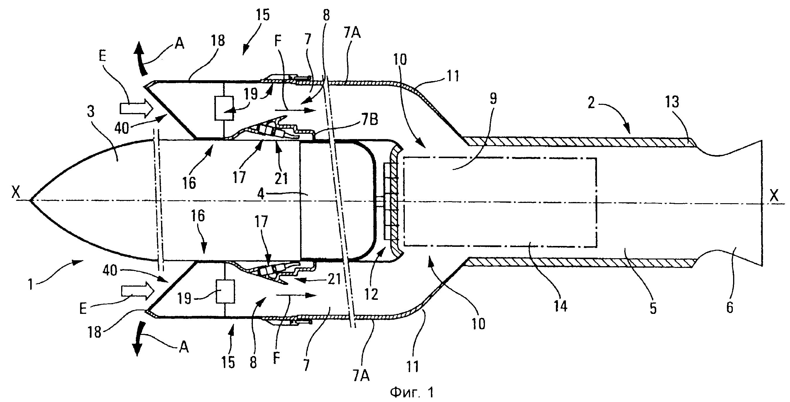
ТРД + прямоточный воздушно-реактивный двигатель

Турбовентиляторный реактивный двигатель
Турбовентиляторный реактивный двигатель

Гиперзвуковой прямоточный воздушно-реактивный двигатель
Гиперзвуковой прямоточный воздушно-реактивный двигатель

Реактивные двигатели Sabre
Реактивные двигатели Sabre

ТРДД МС-400
ТРДД МС-400

ТРДД ge Honda hf120
ТРДД ge Honda hf120



Газотурбинный двигатель самолета
Газотурбинный двигатель самолета

Прямоточный воздушно-реактивный двигатель (ПВРД).
Прямоточный воздушно-реактивный двигатель (ПВРД).

Двигатель самолета а 320
Двигатель самолета а 320

Реактивные двигатели Sabre

Фото: Реактивные двигатели Sabre


Испытательный стенд для ТРД
Испытательный стенд для ТРД

Реактивный двигатель
Реактивный двигатель

Jumo 004
Jumo 004

Двигатель General Electric ge9x
Двигатель General Electric ge9x

Форсажная камера двигателя f135
Форсажная камера двигателя f135

Rolls-Royce турбины
Rolls-Royce турбины

Cfm56 Jet engine
Cfm56 Jet engine

Турбовинтовой двигатель tp100
Турбовинтовой двигатель tp100

Газотурбинный двигатель Роллс Ройс

Фото: Газотурбинный двигатель Роллс Ройс


Двухконтурный реактивный двигатель hf118
Двухконтурный реактивный двигатель hf118

Авиадвигатель sam146
Авиадвигатель sam146

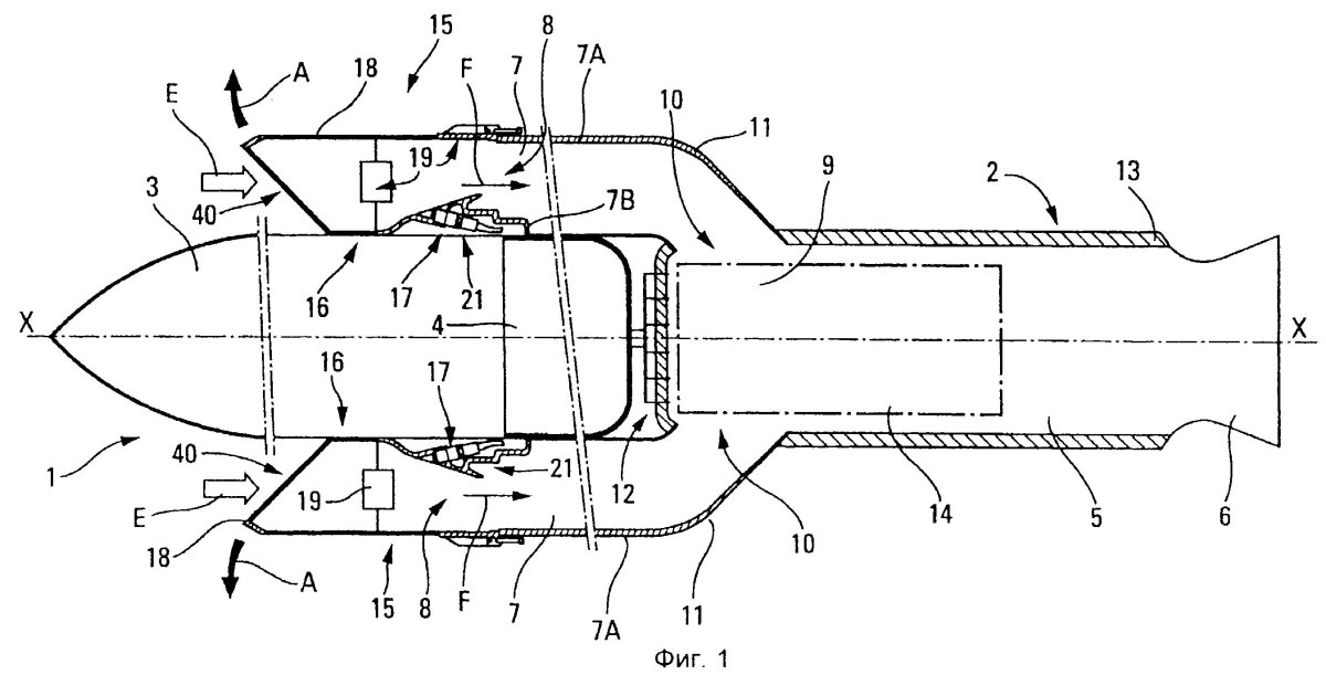
ТРД + прямоточный воздушно-реактивный двигатель
ТРД + прямоточный воздушно-реактивный двигатель

Центробежный компрессор ТРД
Центробежный компрессор ТРД

Двигатель Rolls-Royce Trent 7000
Двигатель Rolls-Royce Trent 7000

Двигатель General Electric ge90
Двигатель General Electric ge90

24.05.02 Проектирование авиационных и ракетных двигателей
24.05.02 Проектирование авиационных и ракетных двигателей

Pratt & Whitney f119
Pratt & Whitney f119

Пульсирующие воздушно-реактивные двигатели (ПУВРД)
Пульсирующие воздушно-реактивные двигатели (ПУВРД)



Cfm56-7b
Cfm56-7b



General Electric ge90
General Electric ge90



General Electric ge90 ge9x
General Electric ge90 ge9x

Rolls Royce ULTRAFAN двигатель
Rolls Royce ULTRAFAN двигатель





General Electric ge90 ge9x
General Electric ge90 ge9x

Реактивный двигатель

Фото: Реактивный двигатель


Двигатель General Electric ge9x
Двигатель General Electric ge9x

Rolls-Royce rb211
Rolls-Royce rb211



Турбореактивный авиационный двигатель
Турбореактивный авиационный двигатель

Ал-41ф1 двигатель
Ал-41ф1 двигатель

General Electric j79-ge-17
General Electric j79-ge-17

Пульсирующие воздушно-реактивные двигатели (ПУВРД)
Пульсирующие воздушно-реактивные двигатели (ПУВРД)

Пульсирующий реактивный двигатель для авиамоделей
Пульсирующий реактивный двигатель для авиамоделей

Sr71 Blackbird двигатель
Sr71 Blackbird двигатель

Пд-14 двигатель ротор
Пд-14 двигатель ротор

Pratt & Whitney f119
Pratt & Whitney f119



CFM Leap 1a
CFM Leap 1a

Прямоточный воздушно-реактивный двигатель
Прямоточный воздушно-реактивный двигатель

Двигатель 36мт (ТРДД-50ат).
Двигатель 36мт (ТРДД-50ат).

Авиационный двигатель GENX
Авиационный двигатель GENX



Двигатель турбореактивный РД-45 авиационный
Двигатель турбореактивный РД-45 авиационный



Scramjet двигатель

Фото: Scramjet двигатель


Мини реактивный двигатель JETCAT P-100
Мини реактивный двигатель JETCAT P-100



ЖРД 2.720
ЖРД 2.720

Двигатель Су 57
Двигатель Су 57

Реактивно винтовой двигатель
Реактивно винтовой двигатель



Двигатель самолета
Двигатель самолета

Самолетный двигатель Rolls Royce
Самолетный двигатель Rolls Royce

Похожие фото:

Комментарии
Минимальная длина комментария - 50 знаков. комментарии модерируются
Кликните на изображение чтобы обновить код, если он неразборчив