Машинатор » Механизм тряски ручки управления самолетом

Механизм тряски ручки управления самолетом

20 фев
---
0
0

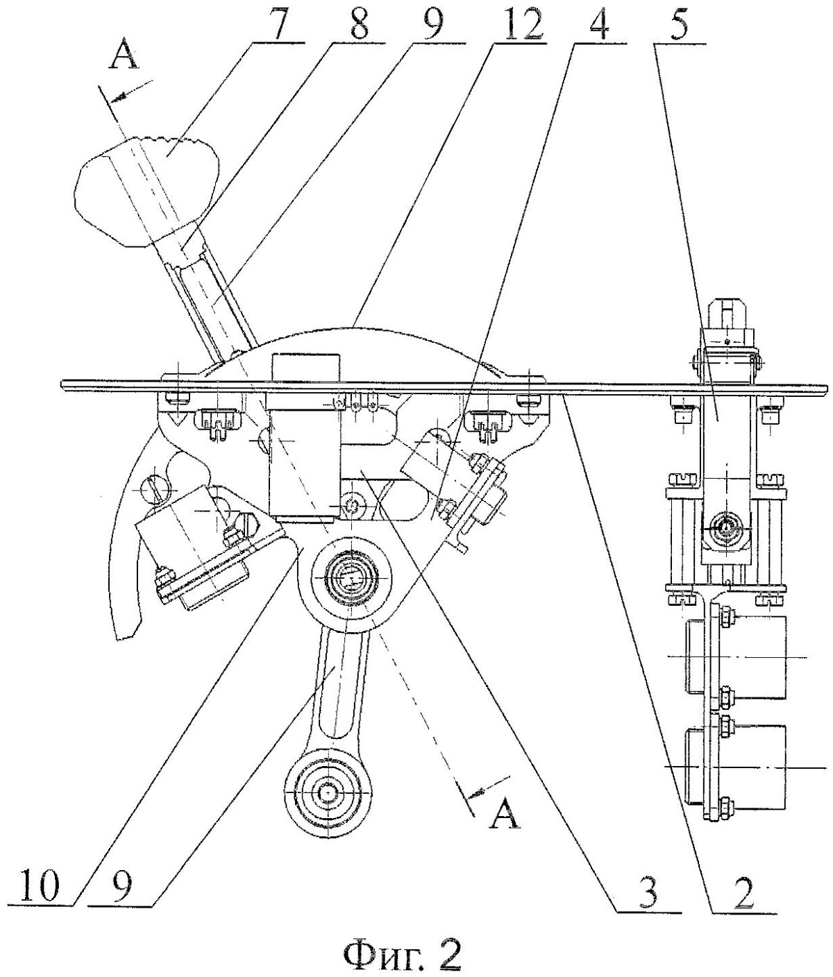
Механизм стопорения ВЧ БМ 21
Механизм стопорения ВЧ БМ 21

Ka-52 Cockpit
Ka-52 Cockpit

Ручка управления самолетом Су-27
Ручка управления самолетом Су-27

Ручка управления Су 35
Ручка управления Су 35

Ручка управления самолетом Су-25
Ручка управления самолетом Су-25

Система управления самолета миг 21 чертеж
Система управления самолета миг 21 чертеж



Джойстик VKB Gladiator
Джойстик VKB Gladiator

Ручка управления Су 27
Ручка управления Су 27

Ручка управления ЛАГГ-3
Ручка управления ЛАГГ-3

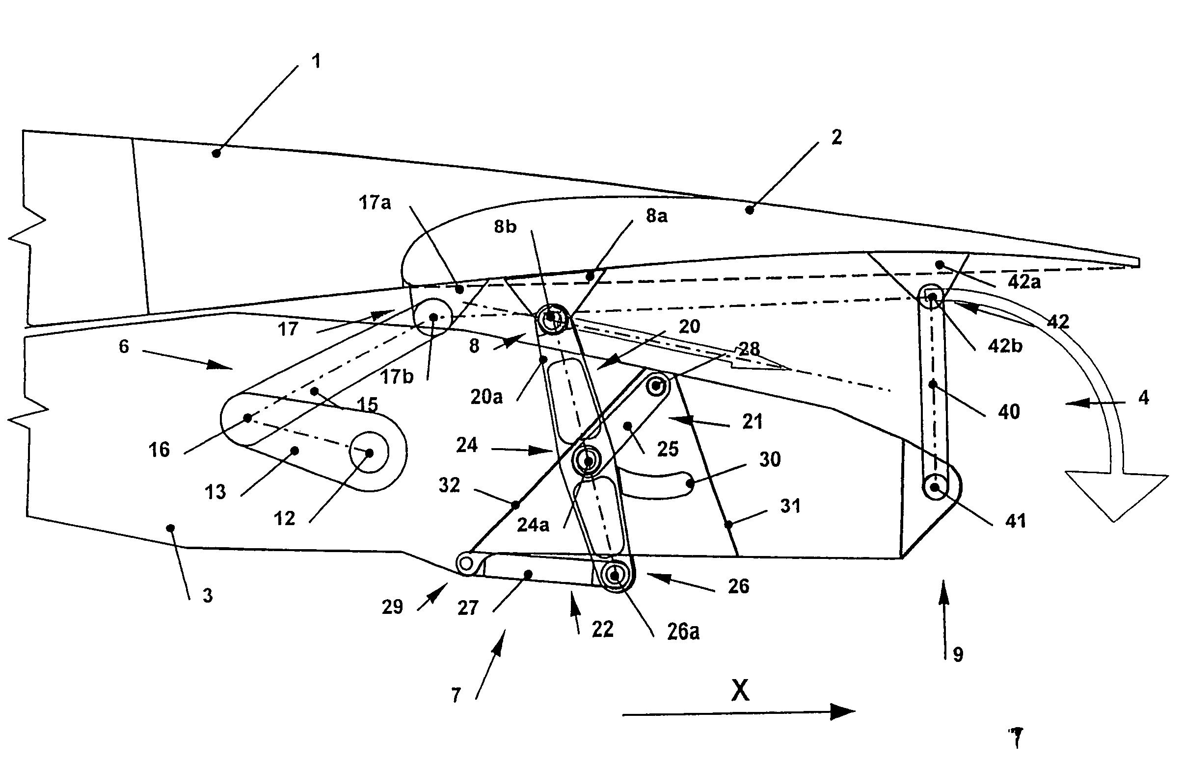
Схема управления элеронами самолета

Фото: Схема управления элеронами самолета


Ручка управления вертолетом ми-8
Ручка управления вертолетом ми-8



Ручка управления ми-8 чертеж
Ручка управления ми-8 чертеж

Командные рычаги управления самолетом
Командные рычаги управления самолетом

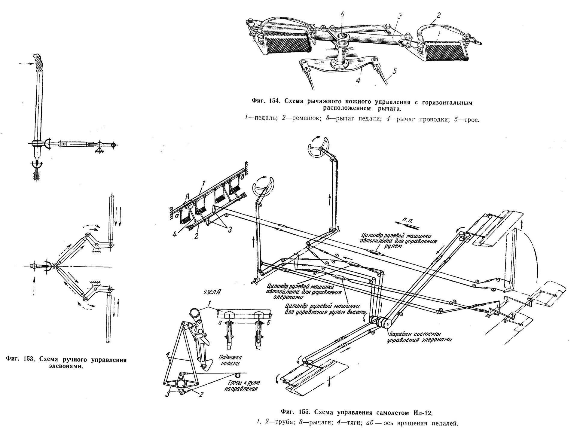
Схема ручного управления рулем высоты рулем направления и элеронами
Схема ручного управления рулем высоты рулем направления и элеронами

Ручка управления двигателем VKB
Ручка управления двигателем VKB

Схема ручного управления рулем высоты рулем направления и элеронами
Схема ручного управления рулем высоты рулем направления и элеронами

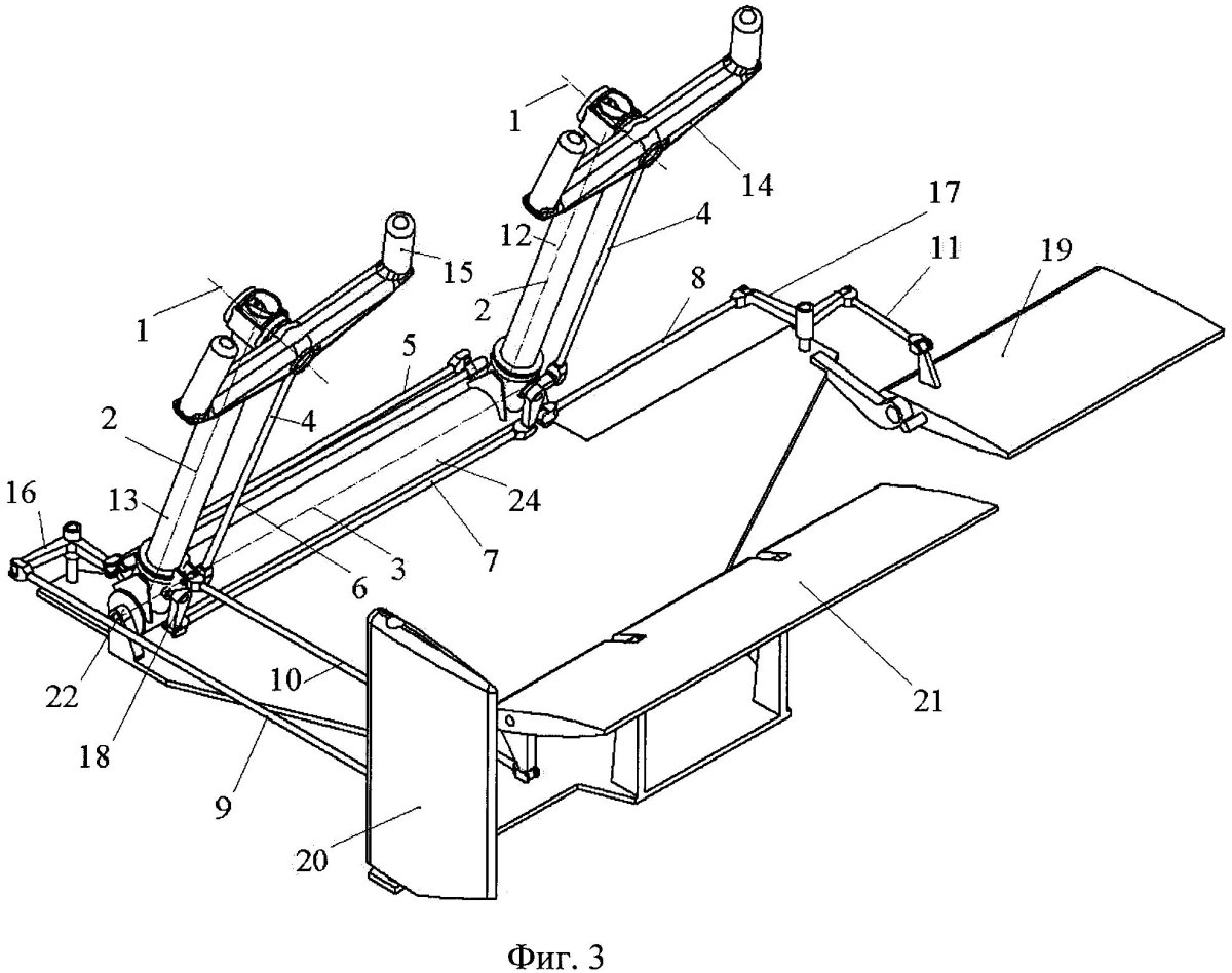
Обводной редуктор управления закрылками
Обводной редуктор управления закрылками





Поворотное движение пневмоцилиндром
Поворотное движение пневмоцилиндром

Су-27 рукоятка управления
Су-27 рукоятка управления

Ручка управления самолетом Су-27
Ручка управления самолетом Су-27



Элерон крыла самолета
Элерон крыла самолета

Рычаг управления двигателем самолета
Рычаг управления двигателем самолета

Ручка управления самолетом Су-27
Ручка управления самолетом Су-27



Кнопка toga 737
Кнопка toga 737

Механизм закрылков рельсы кареток
Механизм закрылков рельсы кареток

Ручка управления миг-21
Ручка управления миг-21

Схема автопилота самолета
Схема автопилота самолета

Ручка шаг ГАЗ вертолета ми-8
Ручка шаг ГАЗ вертолета ми-8

Ручка управления вертолетом ми-8
Ручка управления вертолетом ми-8

Педали для авиасимулятора Eagle e-3
Педали для авиасимулятора Eagle e-3



Педали ножного управления вертолета ми-8
Педали ножного управления вертолета ми-8

Подкос передней стойки шасси ту-154 чертеж
Подкос передней стойки шасси ту-154 чертеж

Ручка управления вертолетом

Фото: Ручка управления вертолетом


Ручка управления Су 35
Ручка управления Су 35

Ручка управления
Ручка управления

Boeing 737 Yoke
Boeing 737 Yoke





Джойстик для симулятора вертолета
Джойстик для симулятора вертолета

АН 12 кабина
АН 12 кабина





Airbus Sidestick рукоятка
Airbus Sidestick рукоятка

Электромеханический привод закрылков 1500
Электромеханический привод закрылков 1500





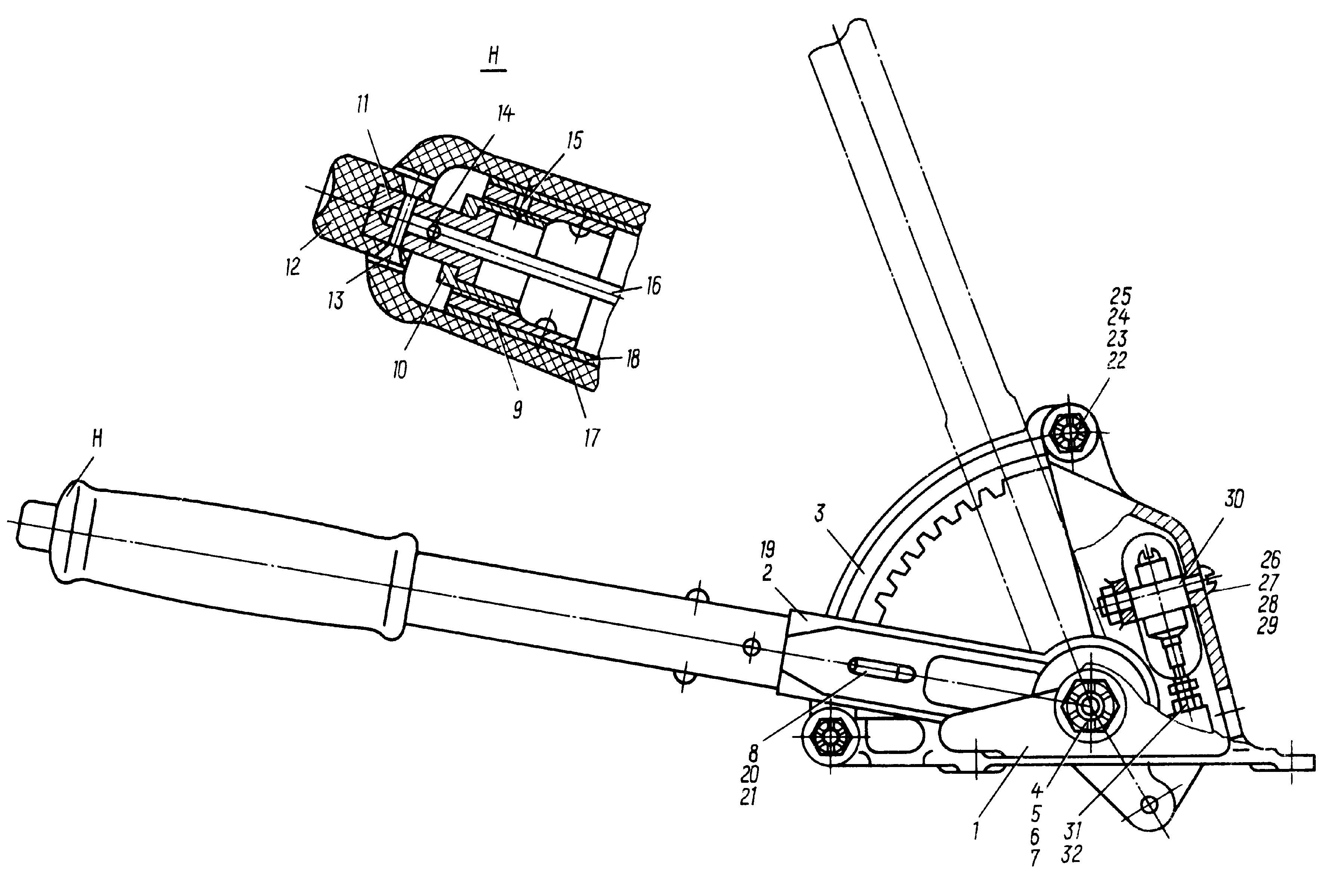
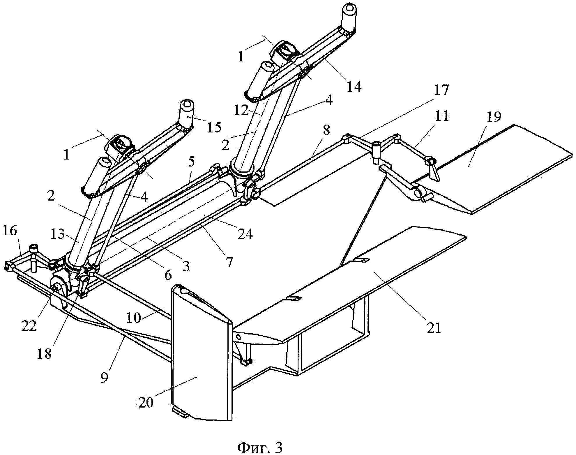
Схема рычажного управления самолета
Схема рычажного управления самолета

Напольный джойстик для авиасимулятора BRD
Напольный джойстик для авиасимулятора BRD



Механизм управления закрылками АН-2
Механизм управления закрылками АН-2

Ручка управления самолетом Су-57
Ручка управления самолетом Су-57

Tle5010 mmjoy2
Tle5010 mmjoy2

Рычаг для авиасимулятора

Фото: Рычаг для авиасимулятора


Ручки управления су27
Ручки управления су27


Похожие фото:

Комментарии
Минимальная длина комментария - 50 знаков. комментарии модерируются
Кликните на изображение чтобы обновить код, если он неразборчив