Машинатор » Подъемная сила

Подъемная сила

21 фев
---
1
0

Аэродинамика крыла самолета подъемная сила
Аэродинамика крыла самолета подъемная сила





Силы действующие на самолет
Силы действующие на самолет

Обтекание крыла самолета воздухом
Обтекание крыла самолета воздухом

Аэродинамика крыла самолета подъемная сила
Аэродинамика крыла самолета подъемная сила

Подъемная сила крыла схема
Подъемная сила крыла схема

Подъемная сила гироскопа
Подъемная сила гироскопа

График зависимости подъемной силы от угла атаки
График зависимости подъемной силы от угла атаки

Формула подъемной силы лопасти вертолета
Формула подъемной силы лопасти вертолета

Формула подъемной силы самолета

Фото: Формула подъемной силы самолета




Формула подъемной силы несущего винта
Формула подъемной силы несущего винта

Аэродинамические силы и моменты действующие на самолет
Аэродинамические силы и моменты действующие на самолет

Аэродинамика бумажного самолетика
Аэродинамика бумажного самолетика

Подъёмная сила крыла самолёта физика
Подъёмная сила крыла самолёта физика

Обтекание симметричного профиля крыла самолета
Обтекание симметричного профиля крыла самолета

Формула подъемной силы самолета
Формула подъемной силы самолета





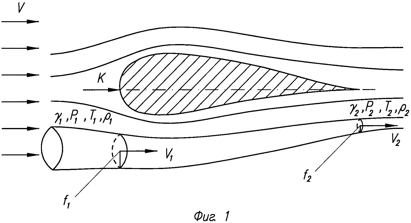
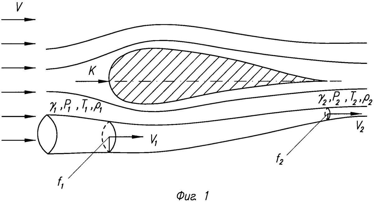
Схема воздушных потоков вокруг крыла самолета
Схема воздушных потоков вокруг крыла самолета

Подъемная сила шарика
Подъемная сила шарика

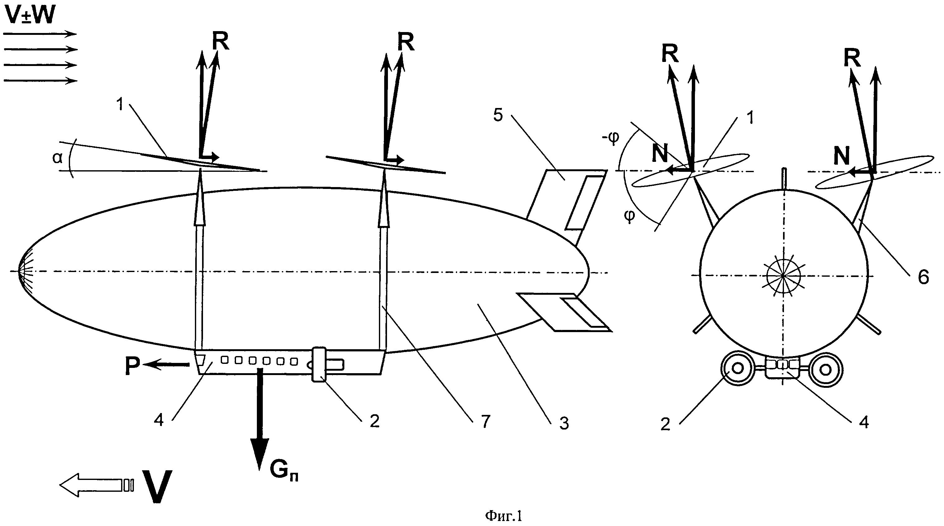
Экраноплан схема подъемной силы
Экраноплан схема подъемной силы

Номограмма расчета воздушного винта
Номограмма расчета воздушного винта

Сопловая схема воздушной подушке
Сопловая схема воздушной подушке

Аэродинамика крыла подъемная сила
Аэродинамика крыла подъемная сила

Аэростатическая подъемная сила
Аэростатическая подъемная сила

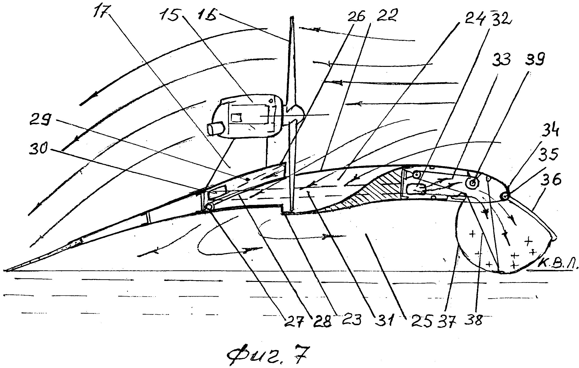
Чертежи головки ротора автожира
Чертежи головки ротора автожира

Формула аэродинамического качества
Формула аэродинамического качества



Закручивание потока на концах крыла фото
Закручивание потока на концах крыла фото



Силы действующие на Парус
Силы действующие на Парус

Подъемная сила крыла
Подъемная сила крыла

Силы действующие на самолет
Силы действующие на самолет



Вычисление подъемной силы шара
Вычисление подъемной силы шара

Способы создания подъемной силы
Способы создания подъемной силы

Распределение подъемной силы по размаху крыла
Распределение подъемной силы по размаху крыла

Подъемная сила летающей тарелки

Фото: Подъемная сила летающей тарелки


Сопротивление трения аэродинамика
Сопротивление трения аэродинамика







Подъёмная сила крыла самолёта формула
Подъёмная сила крыла самолёта формула

Производная коэффициента подъемной силы крыла по углу атаки
Производная коэффициента подъемной силы крыла по углу атаки

Коэффициент лобового сопротивления от угла атаки
Коэффициент лобового сопротивления от угла атаки

Путевая устойчивость самолета
Путевая устойчивость самолета

Силы паруса
Силы паруса

Вираж схема сил и уравнения движения
Вираж схема сил и уравнения движения

Похожие фото:

Комментарии
Минимальная длина комментария - 50 знаков. комментарии модерируются
Кликните на изображение чтобы обновить код, если он неразборчив